TOP
|
特許
|
意匠
|
商標
特許ウォッチ
Twitter
他の特許を見る
10個以上の画像は省略されています。
公開番号
2025136525
公報種別
公開特許公報(A)
公開日
2025-09-19
出願番号
2024035164
出願日
2024-03-07
発明の名称
物品搬送設備
出願人
株式会社ダイフク
代理人
弁理士法人R&C
主分類
G05D
1/644 20240101AFI20250911BHJP(制御;調整)
要約
【課題】蓄電装置と当該蓄電装置に蓄えられた電力により駆動される駆動装置とを搬送車が備える構成において、目的地に到達するまでの間に搬送車が電力不足となり難い適切な移動経路を設定しつつ、搬送車の適切な移動経路を設定するための制御システムの処理負荷の軽減を図ることが可能な技術の実現が望まれる。
【解決手段】制御システム30は、指定された移動元から指定された移動先までの移動経路である第1移動経路を設定するための経路探索処理において、第1移動経路の候補経路の移動動作を対象動作として導出される予測消費電力量である第1予測消費電力量が、使用可能電力量を超えるか否かの判定を行い、候補経路の探索途中で第1予測消費電力量が使用可能電力量を超えると判定した経路は第1移動経路の候補から除外して、除外した当該経路とは少なくとも一部が異なる候補経路の探索を継続する。
【選択図】図4
特許請求の範囲
【請求項1】
移動可能経路を移動して物品を搬送する搬送車と、前記搬送車を制御する制御システムと、を備えた物品搬送設備であって、
前記搬送車は、蓄電装置と、前記蓄電装置に蓄えられた電力により駆動される駆動装置と、を備え、
前記制御システムは、
前記蓄電装置の蓄電量を示す情報を取得する電力量取得処理と、
前記搬送車の移動経路の候補である候補経路を探索し、探索された前記候補経路を前記移動経路として設定する経路探索処理と、
前記電力量取得処理により取得された前記蓄電量に基づいて、前記搬送車が使用することができる電力量の上限である使用可能電力量を決定する使用可能電力量決定処理と、
対象となる動作である対象動作に前記搬送車が使用することが予測される電力量である予測消費電力量を導出する予測消費電力量導出処理と、を実行し、
前記制御システムは、指定された移動元から指定された移動先までの前記移動経路である第1移動経路を設定するための前記経路探索処理において、前記第1移動経路の前記候補経路の移動動作を前記対象動作として導出される前記予測消費電力量である第1予測消費電力量が、前記使用可能電力量を超えるか否かの判定を行い、前記候補経路の探索途中で前記第1予測消費電力量が前記使用可能電力量を超えると判定した経路は前記第1移動経路の候補から除外して、除外した当該経路とは少なくとも一部が異なる前記候補経路の探索を継続する、物品搬送設備。
続きを表示(約 3,000 文字)
【請求項2】
前記制御システムは、搬送元から搬送先へ前記物品を搬送する搬送指令に応じて、前記搬送元を移動元とし前記搬送先を移動先とする前記第1移動経路を設定するための前記経路探索処理を実行する、請求項1に記載の物品搬送設備。
【請求項3】
前記制御システムは、前記経路探索処理によって設定された前記第1移動経路を移動中の前記搬送車に対して、当該搬送車の現在地から前記搬送先までの前記移動経路である第1部分経路を再設定するための前記経路探索処理を実行するように構成され、
前記制御システムは、前記第1部分経路を再設定するための前記経路探索処理において、前記第1部分経路の前記候補経路の移動動作を前記対象動作として導出される前記予測消費電力量である第1部分予測消費電力量が、前記使用可能電力量を超えるか否かの判定を行い、前記候補経路の探索途中で前記第1部分予測消費電力量が前記使用可能電力量を超えると判定した経路は前記第1部分経路の候補から除外して、除外した当該経路とは少なくとも一部が異なる前記候補経路の探索を継続し、前記第1部分予測消費電力量が前記使用可能電力量以下となる前記候補経路が見つからなかった場合には、前記搬送車の目的地を、前記搬送先から、前記使用可能電力量以下の電力で到達可能な範囲内にある物品保管装置に変更する、請求項2に記載の物品搬送設備。
【請求項4】
前記移動可能経路を複数の前記搬送車が移動するように構成され、
前記制御システムは、複数の前記搬送車のうちのいずれかである対象搬送車の現在地から指定された移動先までの前記移動経路である第2移動経路を設定するための前記経路探索処理において、前記第2移動経路の前記候補経路の移動動作を前記対象動作として導出される前記予測消費電力量である第2予測消費電力量が、前記対象搬送車の候補である候補搬送車の前記使用可能電力量を超えるか否かの判定を行い、前記候補経路の探索途中で前記第2予測消費電力量が前記使用可能電力量を超えると判定した前記候補搬送車は前記対象搬送車の候補から除外して、前記候補経路の探索を継続する、請求項1に記載の物品搬送設備。
【請求項5】
前記移動可能経路を複数の前記搬送車が移動するように構成され、
前記制御システムは、搬送元から搬送先へ前記物品を搬送する搬送指令に応じて、前記搬送元を移動元とし前記搬送先を移動先とする前記第1移動経路を設定するための前記経路探索処理と、複数の前記搬送車のうちのいずれかである対象搬送車の現在地から前記搬送元までの前記移動経路である第2移動経路を設定するための前記経路探索処理と、を実行し、
前記使用可能電力量から、前記第1予測消費電力量と、前記搬送元での前記物品の受け取り動作を前記対象動作として導出される前記予測消費電力量と、前記搬送先での前記物品の引き渡し動作を前記対象動作として導出される前記予測消費電力量との和を減算した値を、対象使用可能電力量として、
前記制御システムは、前記第2移動経路を設定するための前記経路探索処理において、前記対象搬送車の走行方向とは逆方向となる上流側に向かって前記搬送元を起点とした前記候補経路の探索を行うと共に、前記第2移動経路の前記候補経路の移動動作を前記対象動作として導出される前記予測消費電力量である第2予測消費電力量が、前記対象搬送車の候補である候補搬送車の前記対象使用可能電力量を超えるか否かの判定を行い、前記候補経路の探索途中で前記第2予測消費電力量が前記対象使用可能電力量を超えると判定した前記候補搬送車は前記対象搬送車の候補から除外して、前記候補経路の探索を継続し、前記第2予測消費電力量が前記対象使用可能電力量以下となる前記候補搬送車に前記候補経路が到達した場合に、当該候補搬送車を前記対象搬送車として選択すると共に、当該候補搬送車に到達した前記候補経路に沿って当該候補搬送車の現在地から前記搬送元に至る経路を前記第2移動経路として設定する、請求項1に記載の物品搬送設備。
【請求項6】
前記制御システムは、
前記使用可能電力量決定処理において、前記搬送車のそれぞれについての前記使用可能電力量を決定し、
前記第2移動経路を設定するための前記経路探索処理では、前記対象使用可能電力量がゼロ以下となる前記搬送車は前記対象搬送車の候補から除外して前記候補経路を探索する、請求項5に記載の物品搬送設備。
【請求項7】
前記制御システムは、前記経路探索処理によって設定された前記第2移動経路を移動中の前記搬送車に対して、当該搬送車の現在地から前記搬送元までの前記移動経路である第2部分経路を再設定するための前記経路探索処理を実行するように構成され、
前記制御システムは、前記第2部分経路を再設定するための前記経路探索処理において、前記第2部分経路の前記候補経路の移動動作を前記対象動作として導出される前記予測消費電力量である第2部分予測消費電力量が、前記対象使用可能電力量を超えるか否かの判定を行い、前記候補経路の探索途中で前記第2部分予測消費電力量が前記対象使用可能電力量を超えると判定した経路は前記第2部分経路の候補から除外して、除外した当該経路とは少なくとも一部が異なる前記候補経路の探索を継続し、前記第2部分予測消費電力量が前記対象使用可能電力量以下となる前記候補経路が見つからなかった場合には、前記第2移動経路を設定するための前記経路探索処理を実行して別の前記搬送車を前記搬送元へ向かわせる、請求項5に記載の物品搬送設備。
【請求項8】
前記移動可能経路の一部に、前記搬送車に対する給電を行う給電エリアが設けられ、
前記制御システムは、前記予測消費電力量導出処理において、前記候補経路の中に前記給電エリアが含まれる場合には、前記給電エリア内にいる前記搬送車が使用する電力量をゼロ又はマイナスの値として、前記予測消費電力量を導出する、請求項1から7のいずれか一項に記載の物品搬送設備。
【請求項9】
前記制御システムは、前記経路探索処理において、前記搬送車の移動時間に影響を及ぼす要因についての値であって前記移動時間が長くなるに従って大きくなるコストを用いて、複数の経路の中から前記コストが小さくなる経路を優先的に前記候補経路として探索する低コスト経路探索処理を実行するように構成されている、請求項1から7のいずれか一項に記載の物品搬送設備。
【請求項10】
前記制御システムは、
前記経路探索処理において、地点間を接続する地点間経路を順次繋いで前記候補経路を探索し、
前記低コスト経路探索処理において、前記候補経路に含まれる前記地点間経路のそれぞれについての前記コストの和に基づき、当該候補経路についての前記コストを導出し、
前記予測消費電力量導出処理において、前記候補経路に含まれる前記地点間経路のそれぞれについての前記予測消費電力量の和に基づき、当該候補経路についての前記予測消費電力量を導出する、請求項9に記載の物品搬送設備。
発明の詳細な説明
【技術分野】
【0001】
本発明は、移動可能経路を移動して物品を搬送する搬送車と、搬送車を制御する制御システムと、を備えた物品搬送設備に関する。
続きを表示(約 2,600 文字)
【背景技術】
【0002】
上記のような物品搬送設備の一例が、特開2012-38134号公報(特許文献1)に開示されている。以下、この背景技術の説明では、特許文献1における符号を括弧内に引用する。特許文献1に記載の物品搬送設備は、移動可能経路を移動して物品を搬送する搬送車としての天井走行車(16)と、搬送車を制御する制御システムとしての地上側コントローラ(20)と、を備えている。天井走行車(16)は2次電池(28)を備えており、天井走行車(16)が備える走行モータ(60)及び移載系モータ(61)は、2次電池(28)に蓄えられた電力により駆動されると共に、非接触給電線(14)のある区間では非接触給電線(14)からの電力により駆動される(段落0024)。
【先行技術文献】
【特許文献】
【0003】
特開2012-38134号公報
【発明の概要】
【発明が解決しようとする課題】
【0004】
ところで、特許文献1には明記されていないが、搬送車の移動経路は、通常、搬送車を制御する制御システムによって探索されて設定される。搬送車が移動可能な経路である移動可能経路に、搬送車が外部から電力の供給を受けることができない区間のような、蓄電装置(特許文献1では、2次電池)に蓄えられた電力により搬送車の駆動装置(特許文献1では、走行モータ及び移載系モータ)を駆動する必要のある区間が含まれる場合には、目的地に到達するまでの間に搬送車が電力不足となり難い適切な移動経路を設定する必要がある。そして、このように搬送車の適切な移動経路を設定するための制御システムの処理負荷は、当然ながら低く抑えられることが望ましい。しかしながら、特許文献1にはこの点についての記載はない。
【0005】
そこで、蓄電装置と当該蓄電装置に蓄えられた電力により駆動される駆動装置とを搬送車が備える構成において、目的地に到達するまでの間に搬送車が電力不足となり難い適切な移動経路を設定しつつ、搬送車の適切な移動経路を設定するための制御システムの処理負荷の軽減を図ることが可能な技術の実現が望まれる。
【課題を解決するための手段】
【0006】
本開示に係る物品搬送設備は、移動可能経路を移動して物品を搬送する搬送車と、前記搬送車を制御する制御システムと、を備えた物品搬送設備であって、前記搬送車は、蓄電装置と、前記蓄電装置に蓄えられた電力により駆動される駆動装置と、を備え、前記制御システムは、前記蓄電装置の蓄電量を示す情報を取得する電力量取得処理と、前記搬送車の移動経路の候補である候補経路を探索し、探索された前記候補経路を前記移動経路として設定する経路探索処理と、前記電力量取得処理により取得された前記蓄電量に基づいて、前記搬送車が使用することができる電力量の上限である使用可能電力量を決定する使用可能電力量決定処理と、対象となる動作である対象動作に前記搬送車が使用することが予測される電力量である予測消費電力量を導出する予測消費電力量導出処理と、を実行し、前記制御システムは、指定された移動元から指定された移動先までの前記移動経路である第1移動経路を設定するための前記経路探索処理において、前記第1移動経路の前記候補経路の移動動作を前記対象動作として導出される前記予測消費電力量である第1予測消費電力量が、前記使用可能電力量を超えるか否かの判定を行い、前記候補経路の探索途中で前記第1予測消費電力量が前記使用可能電力量を超えると判定した経路は前記第1移動経路の候補から除外して、除外した当該経路とは少なくとも一部が異なる前記候補経路の探索を継続する。
【0007】
本構成によれば、指定された移動元から指定された移動先までの第1移動経路を設定するための経路探索処理において、第1予測消費電力量が使用可能電力量を超える経路は第1移動経路の候補から除外されるため、第1予測消費電力量が使用可能電力量以下となる候補経路を、第1移動経路として設定することができる。従って、移動先である目的地に到達するまでの間に搬送車が電力不足となり難い適切な第1移動経路を、経路探索処理によって設定することができる。この際、目的地に到達した後に搬送車に必要となる電力量を蓄電装置に残すように使用可能電力量を設定することで、設定される第1移動経路を、目的地に到達するまでの間だけでなく目的地に到達した後においても搬送車が電力不足となり難い経路とすることができる。
【0008】
そして、本構成によれば、第1移動経路を設定するための経路探索処理において、第1予測消費電力量が使用可能電力量を超えるか否かの判定を行い、第1予測消費電力量が使用可能電力量を超えると判定された経路は、候補経路の探索途中で第1移動経路の候補から除外される。従って、第1予測消費電力量が使用可能電力量を超えるために第1移動経路として設定されない経路については、第1予測消費電力量が使用可能電力量を超えると判定された時点でそれ以上の経路探索を中止することができ、経路探索をこのように中止しない場合に比べて、第1移動経路を設定するための経路探索処理の負荷を軽減することができる。以上のように、本構成によれば、目的地に到達するまでの間に搬送車が電力不足となり難い適切な移動経路(第1移動経路)を設定しつつ、搬送車の適切な移動経路(第1移動経路)を設定するための制御システムの処理負荷の軽減を図ることが可能となっている。
【0009】
物品搬送設備の更なる特徴と利点は、図面を参照して説明する実施形態についての以下の記載から明確となる。
【図面の簡単な説明】
【0010】
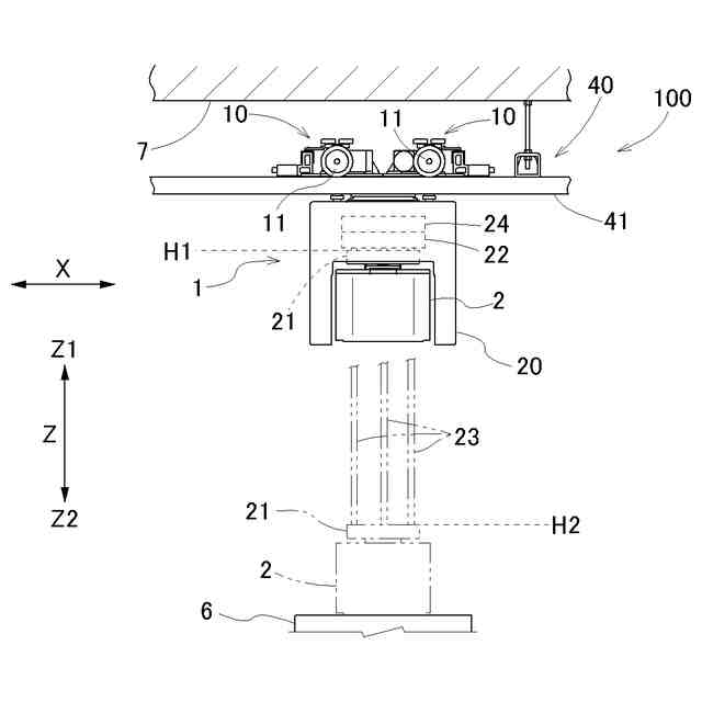
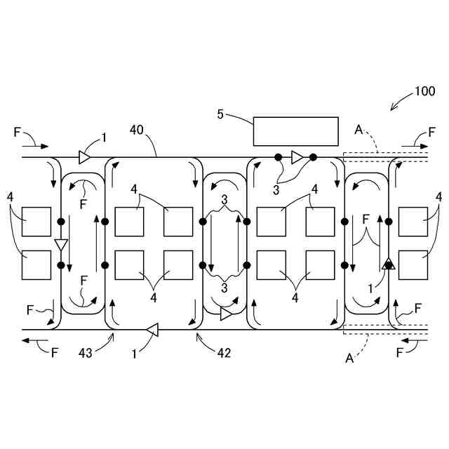
物品搬送設備のレイアウトの一例を示す図
搬送車の一例を示す側面図
搬送車の一例を示す正面図
実施形態に係る制御ブロック図
第1移動経路及び第2移動経路の説明図
第2経路再探索処理の説明図
第1経路再探索処理の説明図
目的地変更処理の説明図
第2移動経路を設定するための経路探索処理の説明図
第1移動経路を設定するための経路探索処理の説明図
【発明を実施するための形態】
(【0011】以降は省略されています)
この特許をJ-PlatPat(特許庁公式サイト)で参照する
関連特許
株式会社ダイフク
倉庫
22日前
株式会社ダイフク
搬送車
1か月前
株式会社ダイフク
洗車機
1か月前
株式会社ダイフク
作業設備
1か月前
株式会社ダイフク
作業設備
1か月前
株式会社ダイフク
作業設備
1か月前
株式会社ダイフク
作業設備
1か月前
株式会社ダイフク
作業設備
1か月前
株式会社ダイフク
作業設備
1か月前
株式会社ダイフク
搬送装置
1か月前
株式会社ダイフク
作業設備
1か月前
株式会社ダイフク
搬送設備
2か月前
株式会社ダイフク
搬送システム
2か月前
株式会社ダイフク
物品搬送設備
2か月前
株式会社ダイフク
物品搬送設備
2か月前
株式会社ダイフク
物品搬送設備
7日前
株式会社ダイフク
要素結合構造
今日
株式会社ダイフク
物品搬送設備
2か月前
株式会社ダイフク
物品搬送設備
29日前
株式会社ダイフク
物品搬送設備
1か月前
株式会社ダイフク
投影システム
8日前
株式会社ダイフク
非接触給電設備
1か月前
株式会社ダイフク
遠隔操作システム
20日前
株式会社ダイフク
自動倉庫システム
1か月前
株式会社ダイフク
移動体清掃システム
2か月前
株式会社ダイフク
治具、および交換補助具
2か月前
株式会社ダイフク
検証システム及び検証方法
1か月前
株式会社ダイフク
移載装置及び物品搬送装置
1か月前
株式会社ダイフク
シミュレーションシステム
7日前
株式会社ダイフク
物品搬送設備及び物品搬送設備の保守方法
1か月前
株式会社ダイフク
駆動伝達装置及び駆動伝達装置を備えた昇降装置
1か月前
株式会社ダイフク
物品配置決定システム、及び、物品積付システム
21日前
台湾大福高科技設備股分有限公司
物体搬送システム
2か月前
台湾大福高科技設備股分有限公司
物体搬送システム
1か月前
株式会社ダイフク
移載システム
1か月前
株式会社ダイフク
物品仕分け設備
1か月前
続きを見る
他の特許を見る