TOP
|
特許
|
意匠
|
商標
特許ウォッチ
Twitter
他の特許を見る
公開番号
2025141532
公報種別
公開特許公報(A)
公開日
2025-09-29
出願番号
2024041517
出願日
2024-03-15
発明の名称
作業設備
出願人
株式会社ダイフク
代理人
弁理士法人R&C
主分類
B65G
1/137 20060101AFI20250919BHJP(運搬;包装;貯蔵;薄板状または線条材料の取扱い)
要約
【課題】作業効率を高め易い作業支援装置を備えた作業設備を実現する。
【解決手段】物品配置装置20と作業支援装置30とを備えた作業設備10であって、作業支援装置30は、表示部材32と、表示部材32を支持する支持部材31と、投影装置と、を備え、表示部材32は、少なくとも一部が正面側X1から見て物品配置領域A1に隣接するように配置され、表示部材32は、支持部材31に固定された被固定部32sと、被固定部32sから物品配置領域A1の側へ延出するように配置され奥行方向Xの可撓性を有する可撓部32tと、を備える。
【選択図】図3
特許請求の範囲
【請求項1】
物品が配置される物品配置領域が設定された物品配置装置と、
前記物品配置装置の正面側から前記物品配置領域に配置された前記物品に対する作業を行う作業者への作業支援を行う作業支援装置と、
を備えた作業設備であって、
前記作業支援装置は、
前記正面側を向く表示面を備えた表示部材と、
前記表示部材を支持する支持部材と、
前記作業支援のための画像である支援画像を前記表示面に投影する投影装置と、
を備え、
前記表示部材は、少なくとも一部が前記正面側から見て前記物品配置領域に隣接するように配置され、
前記正面側と前記物品配置装置の背面側とを結ぶ方向を奥行方向として、
前記表示部材は、前記支持部材に固定された被固定部と、前記被固定部から前記物品配置領域の側へ延出するように配置され、前記奥行方向の可撓性を有する可撓部と、
を備える、作業設備。
続きを表示(約 1,000 文字)
【請求項2】
前記表示部材は、可撓性を有するシート状部材を含み、
前記支持部材は、前記正面側を向くように配置されると共に前記シート状部材が取り付けられる取付部を備え、
前記被固定部は、前記シート状部材における前記取付部に取り付けられた部分であり、
前記可撓部は、前記シート状部材における前記取付部から離れて延出した部分である、請求項1に記載の作業設備。
【請求項3】
前記被固定部から前記物品配置領域の側への前記可撓部の延出方向に沿う切込みが、前記可撓部に設けられている、請求項2に記載の作業設備。
【請求項4】
前記支援画像は、前記作業者に対する作業指示の内容を示す指示内容情報を含み、
前記投影装置は、前記支援画像における前記指示内容情報を表している部分の少なくとも一部を、前記被固定部に投影する、請求項1から3のいずれか一項に記載の作業設備。
【請求項5】
前記物品配置領域に対応して設定された検知領域を通過する前記作業者の動きを検知する検知装置を更に備え、
前記検知領域の少なくとも一部が、前記正面側から見て前記可撓部と重複するように設定されている、請求項1から3のいずれか一項に記載の作業設備。
【請求項6】
前記物品配置装置は、上下方向に並ぶ複数の支持部を備えた棚であり、
複数の前記支持部のそれぞれに前記物品配置領域が設定され、
前記支持部に設定された1つの前記物品配置領域を対象領域とし、前記対象領域に対応する前記表示部材を対象表示部材として、
前記対象表示部材の前記被固定部は、前記対象領域に対応する前記支持部材に固定され、
前記対象領域に対して上側に隣接する前記支持部が、前記対象領域に対応する前記支持部材であり、
前記対象表示部材の前記可撓部は、前記被固定部から下側へ延出するように配置されている、請求項1から3のいずれか一項に記載の作業設備。
【請求項7】
前記物品配置領域における前記物品を支持する支持面は、前記正面側へ向かうに従って下側へ向かうように傾斜しており、
前記被固定部に設けられた前記表示面は、下側へ向かうに従って前記正面側へ向かうように傾斜している、請求項1から3のいずれか一項に記載の作業設備。
発明の詳細な説明
【技術分野】
【0001】
本発明は、物品配置装置及び作業支援装置を備えた作業設備に関する。
続きを表示(約 1,900 文字)
【背景技術】
【0002】
作業支援装置を備える作業設備が知られている。特開2012-162376号公報(特許文献1)には、物品配置装置(物品収納棚1)から手押し式の作業台車(20)上の物品収納容器(U)に物品を収納するために、物品の種類及び数量が記載された作業リストを発行して、作業者の上記対象作業を支援する作業支援装置(作業リスト発行機18)を備えた作業設備が記載されている。
【先行技術文献】
【特許文献】
【0003】
特開2012-162376号公報
【発明の概要】
【発明が解決しようとする課題】
【0004】
上記のような作業設備では、作業者が物品配置装置から物品を取り出す作業を行う場合には、作業支援装置により発行された作業リストの記載を作業者が確認する必要がある。特許文献1には作業者による確認方法についての具体的な記載が無いが、例えば作業者が作業リストの記載を目視することが考えられる。このような場合には、作業者は、作業リストを目視して物品の種類等を確認し、対応する物品を物品配置装置から探して取り出すという作業が必要である。また、作業者が、作業リスト通りの物品を取り出したか否か確認する場合には、作業リストと物品とを目視で照合する作業が必要である。このため、作業効率を高めることに限界があった。
【0005】
そこで、作業効率を高め易い作業支援装置を備えた作業設備の実現が望まれる。
【課題を解決するための手段】
【0006】
本開示に係る作業設備は、物品が配置される物品配置領域が設定された物品配置装置と、前記物品配置装置の正面側から前記物品配置領域に配置された前記物品に対する作業を行う作業者への作業支援を行う作業支援装置と、を備えた作業設備であって、前記作業支援装置は、前記正面側を向く表示面を備えた表示部材と、前記表示部材を支持する支持部材と、前記作業支援のための画像である支援画像を前記表示面に投影する投影装置と、を備え、前記表示部材は、少なくとも一部が前記正面側から見て前記物品配置領域に隣接するように配置され、前記正面側と前記物品配置装置の背面側とを結ぶ方向を奥行方向として、前記表示部材は、前記支持部材に固定された被固定部と、前記被固定部から前記物品配置領域の側へ延出するように配置され、前記奥行方向の可撓性を有する可撓部と、を備える。
【0007】
本構成によれば、表示部材が、支持部材に固定された被固定部と当該被固定部から物品配置領域の側へ延出するように配置された可撓部とを備えているため、支援画像が投影される表示面を備えた表示部材を、物品配置領域に近づけることができる。これにより、物品配置領域の近くに支援画像を表示することが可能となり、作業者による支援画像の視認性を高め易い。また、取付部から物品配置領域の側へ延出するように配置された可撓部が、奥行方向に撓むように構成されている。このため、物品配置領域に配置された物品に対する作業のための作業者の動作が、表示部材によって妨げられ難くし易い。従って、作業効率を高め易い。
【図面の簡単な説明】
【0008】
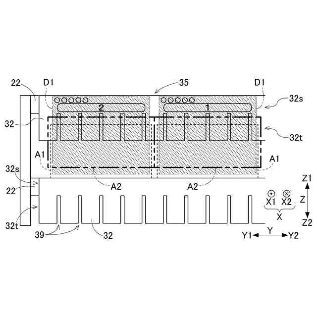
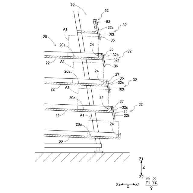
第1の実施形態に係る作業設備を示す図
図1の物品配置装置を拡大して示す図
図1の物品配置装置の正面図
図1の表示部材を拡大して示す正面図
図1の作業支援装置の検知領域を示す図
【発明を実施するための形態】
【0009】
以下、作業設備10の実施形態について図面を参照して説明する。
【0010】
図1は、作業設備10の一例を示す断面図である。作業設備10は、物品配置装置20を備えている。物品配置装置20には、物品Wが配置される物品配置領域A1が設定されている。図2は、物品配置装置20の物品配置領域A1を示す図である。本実施形態では、物品配置装置20は、それぞれに物品Wが配置される複数の物品配置領域A1が設定されているが、物品配置領域A1が物品配置装置20に1つのみ設定されていてもよい。物品Wの例としては、食品、衣類、容器、電気器具、部品、等が挙げられる。物品配置領域A1には、物品Wが直接配置されてもよく、物品Wが収容された容器が配置されてもよい。容器の例としては、段ボール製や樹脂製の箱等が挙げられる。物品配置装置20の例としては、コンベヤ等の搬送装置、収容棚、支持台等が挙げられる。
(【0011】以降は省略されています)
この特許をJ-PlatPat(特許庁公式サイト)で参照する
関連特許
個人
収容箱
3か月前
個人
コンベア
5か月前
個人
容器
9か月前
個人
ゴミ収集器
7か月前
個人
段ボール箱
7か月前
個人
段ボール箱
7か月前
個人
楽ちんハンド
5か月前
個人
角筒状構造体
5か月前
個人
土嚢運搬器具
8か月前
個人
宅配システム
7か月前
個人
バンド
2か月前
個人
廃棄物収容容器
2か月前
個人
コード類収納具
8か月前
個人
お薬の締結装置
6か月前
個人
包装容器
1か月前
個人
閉塞装置
10か月前
株式会社和気
包装用箱
9か月前
株式会社コロナ
梱包材
5か月前
個人
蓋閉止構造
4か月前
株式会社和気
包装用箱
7日前
株式会社バンダイ
物品
27日前
個人
積み重ね用補助具
3か月前
個人
ゴミ処理機
9か月前
個人
把手付米袋
4か月前
個人
蓋閉止構造
4か月前
個人
貯蔵サイロ
7か月前
株式会社新弘
容器
3か月前
株式会社イシダ
搬送装置
6か月前
三甲株式会社
容器
11日前
個人
搬送システム
6か月前
三甲株式会社
容器
6か月前
三甲株式会社
蓋体
9か月前
個人
包装箱
10か月前
三甲株式会社
容器
2か月前
個人
袋入り即席麺
7か月前
株式会社KY7
封止装置
3か月前
続きを見る
他の特許を見る