TOP
|
特許
|
意匠
|
商標
特許ウォッチ
Twitter
他の特許を見る
10個以上の画像は省略されています。
公開番号
2025140604
公報種別
公開特許公報(A)
公開日
2025-09-29
出願番号
2024040115
出願日
2024-03-14
発明の名称
搬送車
出願人
株式会社ダイフク
代理人
弁理士法人R&C
主分類
B65G
1/00 20060101AFI20250919BHJP(運搬;包装;貯蔵;薄板状または線条材料の取扱い)
要約
【課題】物品の保持及び保持解除を行う保持装置と、保持装置により保持した物品の脱落を規制する規制装置とを備えた搬送車において、物品を適切に保持して搬送することが可能な技術が望まれる。
【解決手段】搬送車1であって、保持装置2と、規制装置3と、を備え、保持装置2は、一対の保持部材4と、保持駆動機構5と、を備え、第1保持部材14は、第1延在部41と、第1支持部と、を備え、第2保持部材15は、第2延在部と、第2支持部52と、を備え、規制装置3は、第1規制機構6と第2規制機構7とを備え、第1規制機構は、第1保持部材14の移動を規制する第1規制姿勢P1と、第1規制解除姿勢とに姿勢変化し、第2規制機構7は、第2保持部材15の移動を規制する第2規制姿勢Q1と、第2規制解除姿勢とに姿勢変化する。
【選択図】図2
特許請求の範囲
【請求項1】
物品を搬送する搬送車であって、前記物品の保持及び保持解除を行う保持装置と、前記保持装置により保持した前記物品の脱落を規制する規制装置と、を備え、
前記保持装置は、前記物品を保持する一対の保持部材と、一対の前記保持部材を互いに接近させることで前記物品を保持する保持姿勢とし、一対の前記保持部材を互いに離間させることで前記物品の保持を解除する保持解除姿勢とするように、一対の前記保持部材を姿勢変化させる保持駆動機構と、を備え、
一対の前記保持部材が接近及び離間する方向を保持方向とし、前記保持方向の一方側を保持方向第1側とし、前記保持方向の他方側を保持方向第2側とし、一対の前記保持部材のうち前記保持方向第1側に配置される方を第1保持部材とし、前記保持方向第2側に配置される方を第2保持部材として、
前記第1保持部材は、前記物品に対して前記保持方向第1側に配置されると共に上下方向に沿って延在する第1延在部と、前記第1延在部から前記保持方向第2側へ突出するように配置されて、前記物品の底部を下側から支持する第1支持部と、を備え、
前記第2保持部材は、前記物品に対して前記保持方向第2側に配置されると共に上下方向に沿って延在する第2延在部と、前記第2延在部から前記保持方向第1側へ突出するように配置されて、前記物品の底部を下側から支持する第2支持部と、を備え、
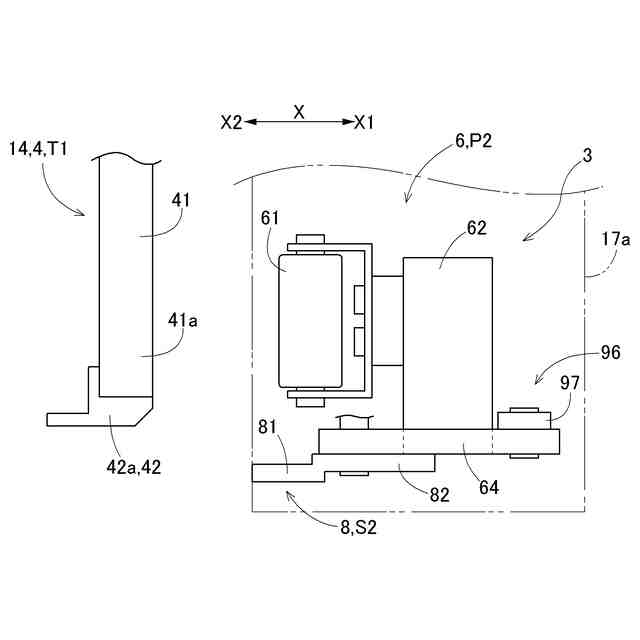
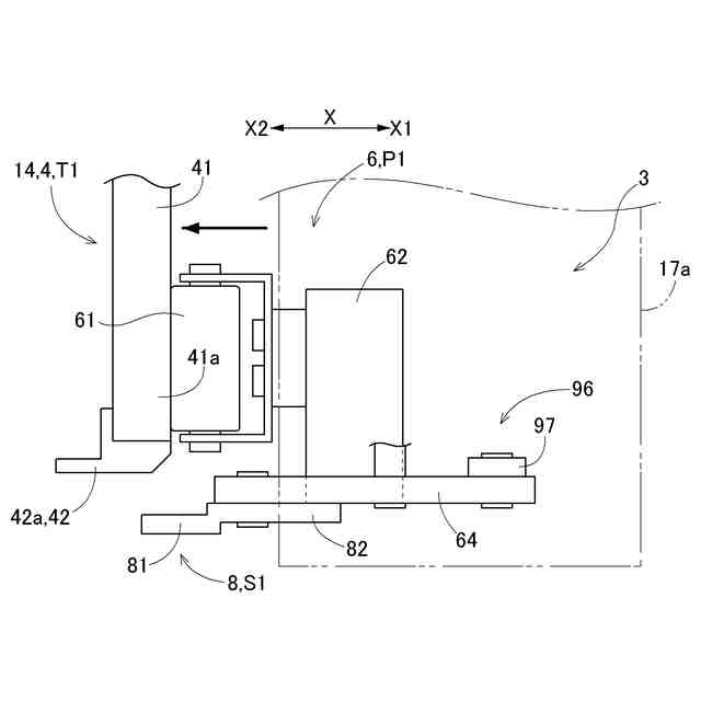
前記規制装置は、第1規制機構と第2規制機構とを備え、
前記第1規制機構は、前記第1保持部材の前記保持方向第1側への移動を前記第1保持部材及び前記第2保持部材が前記保持姿勢の状態で規制する第1規制姿勢と、前記第1保持部材の規制を解除した第1規制解除姿勢とに姿勢変化するように構成され、
前記第2規制機構は、前記第2保持部材の前記保持方向第2側への移動を前記第1保持部材及び前記第2保持部材が前記保持姿勢の状態で規制する第2規制姿勢と、前記第2保持部材の規制を解除した第2規制解除姿勢とに姿勢変化するように構成されている、搬送車。
続きを表示(約 820 文字)
【請求項2】
前記保持駆動機構は、一対の前記保持部材に保持された前記物品よりも上側に配置されていると共に、前記第1延在部における前記物品よりも上側の部分である第1上部と、前記第2延在部における前記物品よりも上側の部分である第2上部と、に駆動力を付与するように構成され、
前記第1規制機構は、前記第1規制姿勢の状態で、前記第1延在部における前記第1上部よりも下側の部分又は前記第1支持部を押圧し、
前記第2規制機構は、前記第2規制姿勢の状態で、前記第2延在部における前記第2上部よりも下側の部分又は前記第2支持部を押圧する、請求項1に記載の搬送車。
【請求項3】
前記規制装置は、第1支持機構と第2支持機構とを更に備え、
前記第1支持機構は、前記第1規制機構が前記第1規制姿勢となった状態で、前記第1保持部材よりも下側であって前記第1保持部材と上下方向視で重複する第1重複位置に配置され、前記第1規制機構が前記第1規制解除姿勢となった状態で、前記第1保持部材と上下方向視で重複しない第1非重複位置に配置され、
前記第2支持機構は、前記第2規制機構が前記第2規制姿勢となった状態で、前記第2保持部材よりも下側であって前記第2保持部材と上下方向視で重複する第2重複位置に配置され、前記第2規制機構が前記第2規制解除姿勢となった状態で、前記第2保持部材と上下方向視で重複しない第2非重複位置に配置される、請求項1又は2に記載の搬送車。
【請求項4】
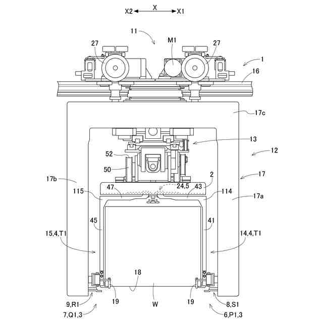
走行する走行部と、前記走行部に支持され、前記走行部の走行中に前記保持装置及び前記保持装置に保持された前記物品が収容される収容部と、前記保持装置を前記収容部の中と前記収容部の外との間で昇降させる昇降装置と、を更に備え、
前記第1規制機構及び前記第2規制機構は、前記収容部に配置されている、請求項1又は2に記載の搬送車。
発明の詳細な説明
【技術分野】
【0001】
本発明は、物品を搬送する搬送車に関する。
続きを表示(約 2,700 文字)
【背景技術】
【0002】
例えば、特開2009-040563号公報(特許文献1)には、搬送車に関する技術が開示されている。以下、背景技術の説明において括弧内に示す符号は特許文献1のものである。
【0003】
特許文献1の搬送車(搬送装置5)は、物品(FOUP1)を保持する保持装置(把持機構部2)と、一対の押さえ機構(51)と、伸縮機構(100a)とを備えている。保持装置は、一対の把持部(15)を備えている。そして一対の把持部(15)は、物品の上部に設けられたフランジ部(フィンガー部16)を把持する。このように保持装置は、物品を吊り下げ支持するように構成されている。一対の押さえ機構(51)は、保持装置に保持された物品を挟むように設けられている。この搬送車では、走行時に、保持装置により保持された物品を一対の押さえ機構(51)で挟持することにより、搬送車の走行に伴って物品に生じる揺れを低減させている。また、伸縮機構(100a)は、搬送車の走行時に、保持装置に保持された物品よりも下側において、上下方向視で物品と重複するように配置されている。これにより、物品が保持装置から落下することを回避している。
【先行技術文献】
【特許文献】
【0004】
特開2009-040563号公報
【発明の概要】
【発明が解決しようとする課題】
【0005】
特許文献1の搬送車では、上記のとおり、物品を吊り下げ支持、すなわち、物品を上側から支持して搬送するように構成されている。一方、例えば、物品にフランジ部が設けられていないような場合には、搬送車は、物品の底部を支持して搬送することが考えられる。このように物品の底部を支持した状態で搬送する搬送車においても、搬送車に作用する振動や慣性力の大きさによっては、物品に比較的大きな揺れが生じたり、搬送車から物品が脱落したりする可能性がある。
【0006】
そこで、物品の保持及び保持解除を行う保持装置と、保持装置により保持した物品の脱落を規制する規制装置とを備えた搬送車において、物品を適切に保持して搬送することが可能な技術が望まれる。
【課題を解決するための手段】
【0007】
本開示に係る搬送車は、物品を搬送する搬送車であって、前記物品の保持及び保持解除を行う保持装置と、前記保持装置により保持した前記物品の脱落を規制する規制装置と、を備え、
前記保持装置は、前記物品を保持する一対の保持部材と、一対の前記保持部材を互いに接近させることで前記物品を保持する保持姿勢とし、一対の前記保持部材を互いに離間させることで前記物品の保持を解除する保持解除姿勢とするように、一対の前記保持部材を姿勢変化させる保持駆動機構と、を備え、
一対の前記保持部材が接近及び離間する方向を保持方向とし、前記保持方向の一方側を保持方向第1側とし、前記保持方向の他方側を保持方向第2側とし、一対の前記保持部材のうち前記保持方向第1側に配置される方を第1保持部材とし、前記保持方向第2側に配置される方を第2保持部材として、
前記第1保持部材は、前記物品に対して前記保持方向第1側に配置されると共に上下方向に沿って延在する第1延在部と、前記第1延在部から前記保持方向第2側へ突出するように配置されて、前記物品の底部を下側から支持する第1支持部と、を備え、
前記第2保持部材は、前記物品に対して前記保持方向第2側に配置されると共に上下方向に沿って延在する第2延在部と、前記第2延在部から前記保持方向第1側へ突出するように配置されて、前記物品の底部を下側から支持する第2支持部と、を備え、
前記規制装置は、第1規制機構と第2規制機構とを備え、
前記第1規制機構は、前記第1保持部材の前記保持方向第1側への移動を前記第1保持部材及び前記第2保持部材が前記保持姿勢の状態で規制する第1規制姿勢と、前記第1保持部材の規制を解除した第1規制解除姿勢とに姿勢変化するように構成され、
前記第2規制機構は、前記第2保持部材の前記保持方向第2側への移動を前記第1保持部材及び前記第2保持部材が前記保持姿勢の状態で規制する第2規制姿勢と、前記第2保持部材の規制を解除した第2規制解除姿勢とに姿勢変化するように構成されている。
【0008】
本構成によれば、第1保持部材の保持方向第1側への移動を規制する第1規制機構と、第2保持部材の保持方向第2側への移動を規制する第2規制機構とを備えているため、保持部材のたわみやがたつき等に起因して第1支持部と第2支持部との保持方向の距離が広がることを規制することができる。これにより、物品が一対の保持部材から脱落することを規制することができる。
また本構成によれば、第1規制機構が第1規制姿勢の状態になり、第2規制機構が第2規制姿勢の状態になることで、一対の保持部材のそれぞれの移動が規制されるため、搬送車による搬送中における物品の揺れを少なく抑え易い。
また本構成によれば、第1規制機構を第1規制解除姿勢に姿勢変化すると共に第2規制機構を第2規制解除姿勢に姿勢変化することで、一対の保持部材の保持方向に沿う移動や、保持姿勢と保持解除姿勢との間での姿勢変化を容易に行うことができる。従って、一対の保持部材による物品の保持及び保持解除を適切に行うことができる。
このように本構成によれば、物品を適切に保持して搬送することができる。
【0009】
搬送車のさらなる特徴と利点は、図面を参照して説明する例示的且つ非限定的な実施形態についての以下の記載から明確となる。
【図面の簡単な説明】
【0010】
搬送設備の概略図
搬送車の側面図
保持装置による物品の移載を模式的に示す側面図
第1規制解除姿勢の第1規制装置を模式的に示す側面図
第1規制姿勢の第1規制装置を模式的に示す側面図
第1規制解除姿勢、第2規制解除姿勢における規制装置の配置を模式的に示す平面図
第1規制姿勢、第2規制姿勢における規制装置の配置を模式的に示す平面図
制御ブロック図
制御フロー図
【発明を実施するための形態】
(【0011】以降は省略されています)
この特許をJ-PlatPat(特許庁公式サイト)で参照する
関連特許
個人
箱
12か月前
個人
収容箱
2か月前
個人
ゴミ箱
11か月前
個人
コンベア
4か月前
個人
段ボール箱
6か月前
個人
容器
8か月前
個人
ゴミ収集器
6か月前
個人
段ボール箱
6か月前
個人
バンド
1か月前
個人
宅配システム
6か月前
個人
角筒状構造体
4か月前
個人
楽ちんハンド
4か月前
個人
土嚢運搬器具
7か月前
個人
パウチ補助具
11か月前
個人
お薬の締結装置
5か月前
個人
廃棄物収容容器
2か月前
個人
包装容器
20日前
個人
コード類収納具
7か月前
個人
閉塞装置
9か月前
個人
把手付米袋
4か月前
株式会社バンダイ
物品
1日前
株式会社コロナ
梱包材
4か月前
個人
積み重ね用補助具
2か月前
個人
貯蔵サイロ
6か月前
株式会社和気
包装用箱
8か月前
個人
蓋閉止構造
3か月前
個人
蓋閉止構造
3か月前
個人
ゴミ処理機
8か月前
個人
介護用コップ
1か月前
三甲株式会社
蓋体
7か月前
株式会社イシダ
搬送装置
5か月前
個人
包装箱
9か月前
個人
搬送システム
6か月前
三甲株式会社
蓋体
8か月前
株式会社新弘
容器
11か月前
三甲株式会社
容器
5か月前
続きを見る
他の特許を見る