TOP
|
特許
|
意匠
|
商標
特許ウォッチ
Twitter
他の特許を見る
公開番号
2025141536
公報種別
公開特許公報(A)
公開日
2025-09-29
出願番号
2024041521
出願日
2024-03-15
発明の名称
作業設備
出願人
株式会社ダイフク
代理人
弁理士法人R&C
主分類
B65G
1/137 20060101AFI20250919BHJP(運搬;包装;貯蔵;薄板状または線条材料の取扱い)
要約
【課題】作業の予測性を高めて作業効率を向上させる。
【解決手段】作業設備は、それぞれに物品9が配置される複数の物品配置領域が設定された物品配置装置1と、物品配置装置1に対する作業を行う作業者8に対する作業支援を行う作業支援装置と、を備えている。作業支援装置は、物品配置領域の群を配置領域群として、配置領域群1つにつき1つ設けられた表示装置21と、出荷先毎に必要な物品9の種類及び数を示す情報のそれぞれをオーダー情報として、オーダー情報に基づいて、照射装置及び表示装置21を制御する制御システムと、を備えている。制御システムは、作業者が最終配置領域に対するピッキング作業を行う場合と最終配置領域に対するピッキング作業より前のピッキング作業を行う場合とで、表示装置21の表示態様を異ならせる。
【選択図】図8
特許請求の範囲
【請求項1】
それぞれに物品が配置される複数の物品配置領域が設定された物品配置装置と、
前記物品配置装置に対する作業を行う作業者に対する作業支援を行う作業支援装置と、
を備えた作業設備であって、
前記物品配置装置に対する作業には、複数の前記物品配置領域のうちの作業対象の前記物品配置領域である対象配置領域から前記物品を取り出すピッキング作業が含まれ、
前記作業支援装置は、
前記物品配置装置における複数の前記物品配置領域のそれぞれに対応する領域に、前記ピッキング作業が行われる毎に前記対象配置領域を示す指示光を照射する照射装置と、
前記物品配置装置が備える全ての前記物品配置領域のうちの一部又は全部である複数の前記物品配置領域の群を配置領域群として、前記配置領域群1つにつき1つ設けられた表示装置と、
出荷先毎に必要な前記物品の種類及び数を示す情報のそれぞれをオーダー情報として、複数の前記オーダー情報を取得し、前記オーダー情報に基づいて、前記照射装置及び前記表示装置を制御する制御システムと、
を備え、
1つの前記オーダー情報による前記ピッキング作業の対象となる前記物品配置領域の中で最後に前記ピッキング作業の対象となる前記物品配置領域を最終配置領域として、
前記制御システムは、前記作業者が前記最終配置領域に対する前記ピッキング作業を行う場合と前記最終配置領域に対する前記ピッキング作業より前の前記ピッキング作業を行う場合とで、前記表示装置の表示態様を異ならせる、作業設備。
続きを表示(約 1,200 文字)
【請求項2】
前記作業支援装置は、前記作業者が、前記指示光が照射された前記対象配置領域からの前記物品の取り出しを完了した場合に、前記作業者により操作される被操作部を更に備え、
前記表示装置は、前記被操作部に隣接する位置に配置されている、請求項1に記載の作業設備。
【請求項3】
前記ピッキング作業により取り出された前記物品が前記オーダー情報毎に集品されて貯留される物品貯留部を複数備え、
複数の前記物品貯留部のそれぞれに、集品中であるか否かを示す集品表示装置が設けられている、請求項1又は2に記載の作業設備。
【請求項4】
前記物品配置装置は、それぞれに複数の前記物品配置領域が設定された第1作業棚及び第2作業棚を備え、
前記第1作業棚と前記第2作業棚とは、互いの正面が対向するように配置され、
1つの前記照射装置の照射可能範囲に、前記第1作業棚と前記第2作業棚とが含まれ、
前記第1作業棚が備える前記物品配置領域により構成された前記配置領域群が第1配置領域群とされ、前記第2作業棚が備える前記物品配置領域により構成された前記配置領域群が第2配置領域群とされ、
前記第1配置領域群と前記第2配置領域群とのそれぞれに1つずつ前記表示装置が設けられている、請求項1又は2に記載の作業設備。
【請求項5】
前記制御システムは、前記ピッキング作業によって1つの前記物品配置領域から取り出される前記物品の数に応じて、当該物品配置領域に照射される前記照射装置からの前記指示光の照射態様を異ならせる、請求項1又は2に記載の作業設備。
【請求項6】
前記作業支援装置は、複数の前記物品配置領域のそれぞれに設定された識別情報を表示する識別情報表示装置を更に備え、
前記制御システムは、前記照射装置により前記対象配置領域に前記指示光を照射する場合に、当該対象配置領域に係る前記識別情報を、前記識別情報表示装置に表示させる、請求項1又は2に記載の作業設備。
【請求項7】
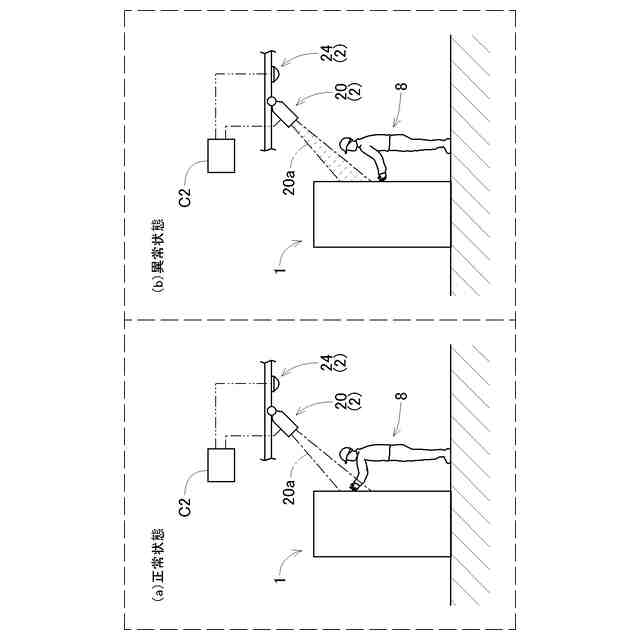
前記作業支援装置は、複数の前記物品配置領域のそれぞれに対応して設定された検知領域を通過する前記作業者の動きを検知する検知装置を更に備え、
前記制御システムは、
前記対象配置領域に対する前記作業者の動きが前記検知装置により検知された場合には、正常な前記ピッキング作業が行われている正常状態と判定し、前記対象配置領域以外の前記物品配置領域に対する前記作業者の動きが前記検知装置により検知された場合には、正常でない前記ピッキング作業が行われている異常状態と判定する判定処理を行い、
前記判定処理の結果が前記正常状態か前記異常状態であるかに応じて、前記照射装置による前記指示光の照射態様を異ならせ、
1つの前記オーダー情報に係る全ての前記ピッキング作業が正常に行われたと判定した場合に、前記表示装置の表示態様を、作業完了を表す状態とする、請求項1又は2に記載の作業設備。
発明の詳細な説明
【技術分野】
【0001】
本発明は、それぞれに物品が配置される複数の物品配置領域が設定された物品配置装置と、前記物品配置装置に対する作業を行う作業者に対する作業支援を行う作業支援装置と、を備えた作業設備に関する。
続きを表示(約 2,000 文字)
【背景技術】
【0002】
このような作業設備の一例として、特開2018-154502号公報(特許文献1)に開示された設備がある。以下、背景技術の説明において括弧内に示される符号は、特許文献1のものである。
【0003】
特許文献1に開示された設備には、複数の容器(3)が収容された収容棚(2)が設けられている。各容器(3)には物品が収容されており、作業者は、複数の容器(3)のそれぞれについて、物品の取出し作業などの指定された作業を行う。この設備では、指示装置(11)によって作業者の作業が支援される。具体的には、指示装置(11)は、収容棚(2)における容器(3)が配置された領域へ光を照射することにより、作業対象の容器(3)を作業者に対して指示する。指示装置(11)は、作業対象となる複数の物品が指定されたオーダー情報に基づいて、これらの物品を収容している複数の容器(3)が配置された領域を順番に照射する。作業者は、照射された順番に従って作業を行う。
【先行技術文献】
【特許文献】
【0004】
特開2018-154502号公報
【発明の概要】
【発明が解決しようとする課題】
【0005】
上述のように特許文献1に開示された設備では、作業者は、指示装置(11)による照射の順番に従って作業を行うことにより、オーダー情報に係る全ての物品について作業を完了できる。しかしながら、このような作業態様では、作業者は主動的に作業を行い難い。指示装置(11)による照射順に従うとは言え、作業者にとっては、ある程度作業の予測をできる方が作業効率の向上が期待できる。
【0006】
上記実状に鑑みて、作業の予測性を高めて作業効率を向上できる技術の実現が望まれている。
【課題を解決するための手段】
【0007】
それぞれに物品が配置される複数の物品配置領域が設定された物品配置装置と、
前記物品配置装置に対する作業を行う作業者に対する作業支援を行う作業支援装置と、
を備えた作業設備であって、
前記物品配置装置に対する作業には、複数の前記物品配置領域のうちの作業対象の前記物品配置領域である対象配置領域から前記物品を取り出すピッキング作業が含まれ、
前記作業支援装置は、
前記物品配置装置における複数の前記物品配置領域のそれぞれに対応する領域に、前記ピッキング作業が行われる毎に前記対象配置領域を示す指示光を照射する照射装置と、
前記物品配置装置が備える全ての前記物品配置領域のうちの一部又は全部である複数の前記物品配置領域の群を配置領域群として、前記配置領域群1つにつき1つ設けられた表示装置と、
出荷先毎に必要な前記物品の種類及び数を示す情報のそれぞれをオーダー情報として、複数の前記オーダー情報を取得し、前記オーダー情報に基づいて、前記照射装置及び前記表示装置を制御する制御システムと、
を備え、
1つの前記オーダー情報による前記ピッキング作業の対象となる前記物品配置領域の中で最後に前記ピッキング作業の対象となる前記物品配置領域を最終配置領域として、
前記制御システムは、前記作業者が前記最終配置領域に対する前記ピッキング作業を行う場合と前記最終配置領域に対する前記ピッキング作業より前の前記ピッキング作業を行う場合とで、前記表示装置の表示態様を異ならせる。
【0008】
本構成によれば、表示装置の表示態様を作業者が確認することで、作業中のオーダー情報に対応するピッキング作業として、ピッキングする対象の物品配置領域が、そのオーダーの中の最後であるのか、途中であるのかを容易に把握することができる。従って、作業者が次の作業を予測しながら動き易くなり、作業者による作業効率を高め易い。また本構成によれば、このような作業支援を、照射装置と、配置領域群1つにつき1つ設けられた表示装置とにより実現することができる。従って、例えば全ての物品配置領域のそれぞれに表示装置を設ける場合に比べて、作業支援装置の構成の簡素化や低コスト化を図り易い。
【0009】
本開示に係る技術のさらなる特徴と利点は、図面を参照して記述する以下の例示的かつ非限定的な実施形態の説明によってより明確になるであろう。
【図面の簡単な説明】
【0010】
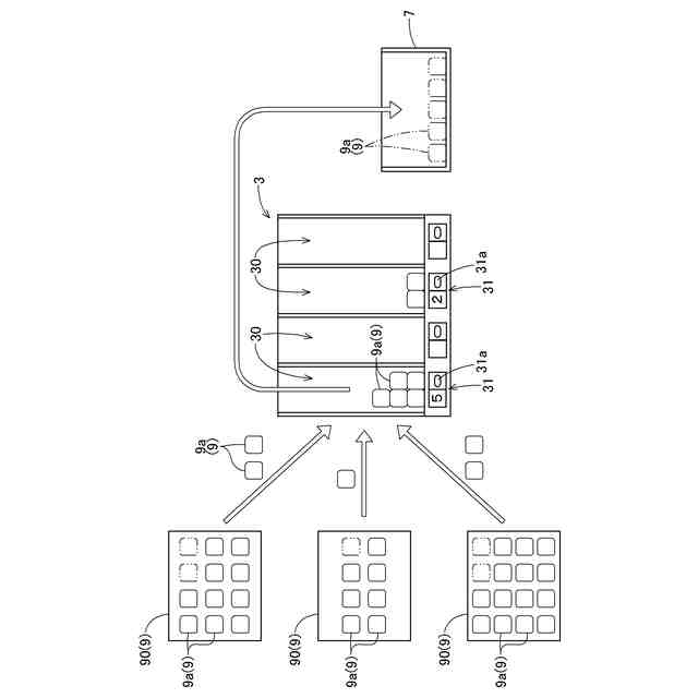
作業設備の一部を示す図
作業者による作業の流れを示す図
作業支援装置による作業支援を示す図
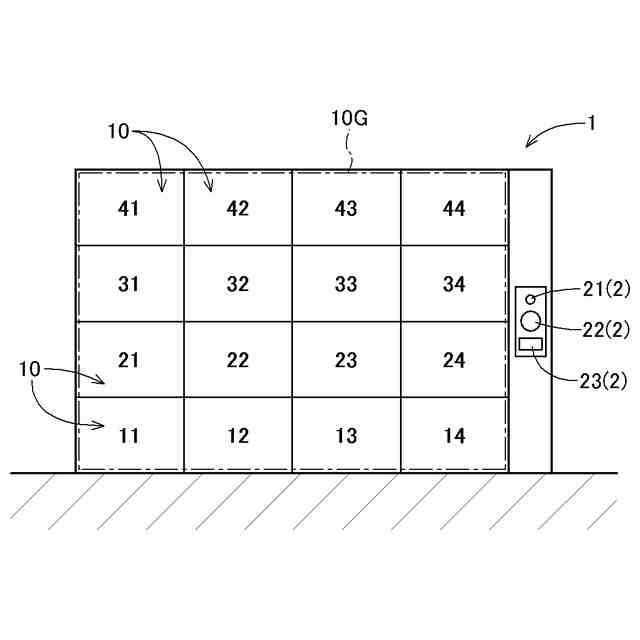
物品配置装置の正面図
作業者の作業エリアを示す図
制御ブロック図
制御システムによる判定処理の説明図
1つのオーダー情報に基づいてピッキング作業が行われる様子を示す図
【発明を実施するための形態】
(【0011】以降は省略されています)
この特許をJ-PlatPat(特許庁公式サイト)で参照する
関連特許
株式会社ダイフク
倉庫
今日
株式会社ダイフク
洗車機
28日前
株式会社ダイフク
搬送車
1か月前
株式会社ダイフク
搬送設備
1か月前
株式会社ダイフク
作業設備
1か月前
株式会社ダイフク
作業設備
1か月前
株式会社ダイフク
作業設備
1か月前
株式会社ダイフク
作業設備
1か月前
株式会社ダイフク
作業設備
1か月前
株式会社ダイフク
作業設備
1か月前
株式会社ダイフク
搬送装置
8日前
株式会社ダイフク
作業設備
21日前
株式会社ダイフク
搬送システム
1か月前
株式会社ダイフク
物品搬送設備
1か月前
株式会社ダイフク
物品搬送設備
1か月前
株式会社ダイフク
物品搬送設備
19日前
株式会社ダイフク
物品搬送設備
7日前
株式会社ダイフク
物品搬送設備
1か月前
株式会社ダイフク
非接触給電設備
14日前
株式会社ダイフク
自動倉庫システム
1か月前
株式会社ダイフク
手荷物保管システム
2か月前
株式会社ダイフク
移動体清掃システム
1か月前
株式会社ダイフク
治具、および交換補助具
1か月前
株式会社ダイフク
移載装置及び物品搬送装置
8日前
株式会社ダイフク
検証システム及び検証方法
8日前
株式会社ダイフク
物品搬送設備及び物品搬送設備の保守方法
19日前
株式会社ダイフク
駆動伝達装置及び駆動伝達装置を備えた昇降装置
20日前
台湾大福高科技設備股分有限公司
物体搬送システム
1か月前
台湾大福高科技設備股分有限公司
物体搬送システム
1か月前
株式会社ダイフク
移載システム
12日前
株式会社ダイフク
物品仕分け設備
1か月前
個人
収容箱
3か月前
個人
コンベア
5か月前
個人
ゴミ収集器
7か月前
個人
容器
9か月前
個人
段ボール箱
7か月前
続きを見る
他の特許を見る