TOP
|
特許
|
意匠
|
商標
特許ウォッチ
Twitter
他の特許を見る
公開番号
2025173265
公報種別
公開特許公報(A)
公開日
2025-11-27
出願番号
2024078767
出願日
2024-05-14
発明の名称
要素結合構造
出願人
株式会社ダイフク
代理人
弁理士法人酒井国際特許事務所
主分類
F16B
7/20 20060101AFI20251119BHJP(機械要素または単位;機械または装置の効果的機能を生じ維持するための一般的手段)
要約
【課題】例えば、部品点数をより少なくできたり、構成をより簡素化できたりすることにより、製造や組立の手間や時間を減らすことが可能となるような、新規な改善された要素結合構造を提供する。
【課題手段】要素結合構造は、例えば、第一方向を向く第一面を有する第一部材と、第一面と接し当該第一面に支持される被支持部と、第一面から第一方向に離れる位置で当該第一方向を向く複数の被押圧部と、を有する第二部材と、被押圧部のそれぞれと接する第一押圧部を有する複数の押圧部材と、第一部材に設けられる複数の被結合部と、押圧部材のそれぞれの一部に対して第一面とは反対側に位置する第二押圧部と、被結合部のそれぞれと結合される結合部と、を有する複数の結合部材と、を備え、被結合部と結合部との結合に伴って、第二押圧部が押圧部材を第一面に近付く方向に押圧し、第一押圧部が被押圧部を第一面に近付く方向に押圧する。
【選択図】図2
特許請求の範囲
【請求項1】
第一方向を向く第一面を有する第一部材と、
前記第一面と接し当該第一面に支持される被支持部と、前記第一面から前記第一方向に離れる位置で当該第一方向を向く複数の被押圧部と、を有する第二部材と、
前記被押圧部のそれぞれと接する第一押圧部を有する複数の押圧部材と、
前記第一部材に設けられる複数の被結合部と、
前記押圧部材のそれぞれの一部に対して前記第一面とは反対側に位置する第二押圧部と、前記被結合部のそれぞれと結合される結合部と、を有する複数の結合部材と、
を備え、
前記被結合部と前記結合部との結合に伴って、前記第二押圧部が前記押圧部材を前記第一面に近付く方向に押圧し、前記第一押圧部が前記被押圧部を前記第一面に近付く方向に押圧する、要素結合構造。
続きを表示(約 580 文字)
【請求項2】
前記第二部材の外面に、前記第一方向と交差する方向に開口する第一開口が設けられ、当該第一開口の側面の一部に前記被押圧部が設けられ、
前記押圧部材は、前記押圧部を有し前記第一開口内に挿入される第一挿入部を有し、
前記第二部材と前記押圧部材とは、前記第一挿入部が前記第一開口内に進入することで係合可能に構成される、請求項1に記載の要素結合構造。
【請求項3】
前記被支持部と前記被押圧部とが前記第一方向に並ばない、請求項1に記載の要素結合構造。
【請求項4】
前記第一面に、前記第一方向に向けて開口する第二開口が設けられ、
前記第二部材の前記第一方向の反対方向の端部に、前記被支持部と、当該被支持部よりも前記第一方向の反対方向に突出し前記第二開口内に挿入される第二挿入部と、が設けられ、
前記第二開口の側面の一部が、前記第二部材の前記第一方向と交差する方向における前記第二挿入部の移動を制限する、請求項1に記載の要素結合構造。
【請求項5】
前記押圧部材は、前記第一方向と交差する平板状の形状を有する、請求項1に記載の要素結合構造。
【請求項6】
前記第一部材は、前記第一方向と交差する第二方向に延びる柱状の形状を有する、請求項1に記載の要素結合構造。
発明の詳細な説明
【技術分野】
【0001】
本発明は、要素結合構造に関する。
続きを表示(約 1,500 文字)
【背景技術】
【0002】
従来、二つの部材を結合する要素結合構造が知られている(例えば、特許文献1~3参照)。
【先行技術文献】
【特許文献】
【0003】
特開平8-170426号公報
特許第7118491号公報
特許第3182924号公報
【発明の概要】
【発明が解決しようとする課題】
【0004】
この種の要素結合構造では、特許文献1~3に示されるように、多数のねじやブラケットが必要だったり、結合対象としての部材に複雑な加工が必要だったりするため、各部材の製造に手間や時間を要したり、要素同士の組立に手間や時間を要したり、といった問題が生じる場合があった。
【0005】
そこで、本発明の課題の一つは、例えば、部品点数をより少なくできたり、構成をより簡素化できたりすることにより、製造や組立の手間や時間をより低減することが可能となるような、新規な改善された要素結合構造を提供すること、である。
【課題を解決するための手段】
【0006】
本発明の要素結合構造は、例えば、第一方向を向く第一面を有する第一部材と、前記第一面と接し当該第一面に支持される被支持部と、前記第一面から前記第一方向に離れる位置で当該第一方向を向く複数の被押圧部と、を有する第二部材と、前記被押圧部のそれぞれと接する第一押圧部を有する複数の押圧部材と、前記第一部材に設けられる複数の被結合部と、前記押圧部材のそれぞれの一部に対して前記第一面とは反対側に位置する第二押圧部と、前記被結合部のそれぞれと結合される結合部と、を有する複数の結合部材と、を備え、前記被結合部と前記結合部との結合に伴って、前記第二押圧部が前記押圧部材を前記第一面に近付く方向に押圧し、前記第一押圧部が前記被押圧部を前記第一面に近付く方向に押圧する。
【図面の簡単な説明】
【0007】
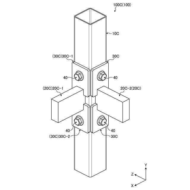
図1は、第1実施形態の要素結合構造の例示的かつ模式的な斜視図である。
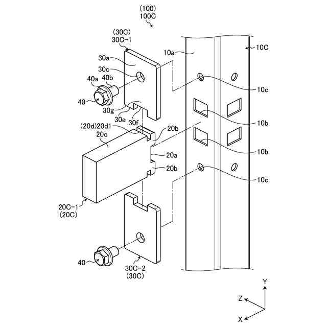
図2は、第1実施形態の要素結合構造の例示的かつ模式的な分解斜視図である。
図3は、第1実施形態の要素結合構造に含まれる第二部材の例示的かつ模式的な平面図である。
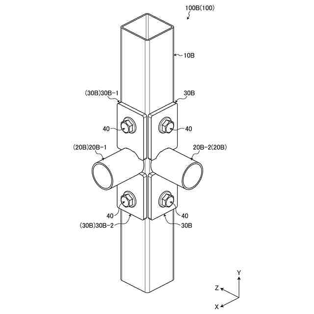
図4は、第2実施形態の要素結合構造の例示的かつ模式的な斜視図である。
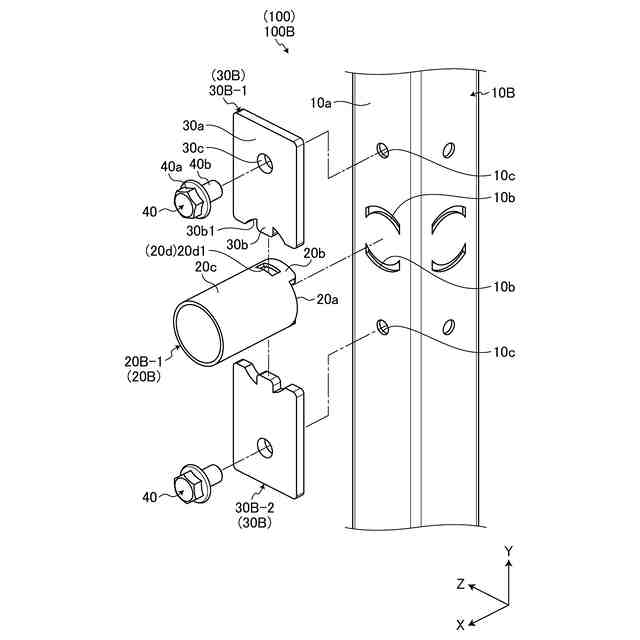
図5は、第2実施形態の要素結合構造の例示的かつ模式的な分解斜視図である。
図6は、第3実施形態の要素結合構造の例示的かつ模式的な斜視図である。
図7は、第3実施形態の要素結合構造の例示的かつ模式的な分解斜視図である。
【発明を実施するための形態】
【0008】
以下、本発明の例示的な実施形態が開示される。以下に示される実施形態の構成、ならびに当該構成から得られる作用および結果(効果)は、一例である。本発明は、以下の実施形態に開示される構成以外によっても実現可能である。また、本発明によれば、下記の構成によって得られる種々の効果(派生的な効果も含む)のうち少なくとも一つを得ることが可能である。
【0009】
本明細書において、序数は、方向や、部位、部材、部品、機構等を区別するために便宜上付与されうるものである。また、序数は、優先順位や順番を示すものではないし、数を特定するものでもない。
【0010】
各図中には、方向を示す矢印が描かれている。X方向、Y方向、およびZ方向は、互いに交差するとともに略直交している。
(【0011】以降は省略されています)
この特許をJ-PlatPat(特許庁公式サイト)で参照する
関連特許
株式会社ダイフク
倉庫
22日前
株式会社ダイフク
洗車機
1か月前
株式会社ダイフク
作業設備
1か月前
株式会社ダイフク
搬送装置
1か月前
株式会社ダイフク
作業設備
1か月前
株式会社ダイフク
物品搬送設備
1か月前
株式会社ダイフク
物品搬送設備
7日前
株式会社ダイフク
要素結合構造
今日
株式会社ダイフク
投影システム
8日前
株式会社ダイフク
物品搬送設備
29日前
株式会社ダイフク
非接触給電設備
1か月前
株式会社ダイフク
遠隔操作システム
20日前
株式会社ダイフク
移載装置及び物品搬送装置
1か月前
株式会社ダイフク
シミュレーションシステム
7日前
株式会社ダイフク
検証システム及び検証方法
1か月前
株式会社ダイフク
物品搬送設備及び物品搬送設備の保守方法
1か月前
株式会社ダイフク
物品配置決定システム、及び、物品積付システム
21日前
株式会社ダイフク
駆動伝達装置及び駆動伝達装置を備えた昇降装置
1か月前
台湾大福高科技設備股分有限公司
物体搬送システム
1か月前
株式会社ダイフク
移載システム
1か月前
株式会社ダイフク
物品仕分け設備
1か月前
個人
留め具
1か月前
個人
鍋虫ねじ
3か月前
個人
回転伝達機構
3か月前
個人
紛体用仕切弁
3か月前
個人
ホース保持具
7か月前
個人
差動歯車用歯形
5か月前
個人
給排気装置
1か月前
個人
ジョイント
2か月前
個人
ナット
2か月前
株式会社不二工機
電磁弁
4か月前
個人
ナット
22日前
株式会社不二工機
電磁弁
6か月前
個人
地震の揺れ回避装置
4か月前
個人
吐出量監視装置
2か月前
個人
ゲート弁バルブ
7日前
続きを見る
他の特許を見る