TOP
|
特許
|
意匠
|
商標
特許ウォッチ
Twitter
他の特許を見る
公開番号
2025170622
公報種別
公開特許公報(A)
公開日
2025-11-19
出願番号
2024075360
出願日
2024-05-07
発明の名称
投影システム
出願人
株式会社ダイフク
代理人
弁理士法人 HARAKENZO WORLD PATENT & TRADEMARK
主分類
B23P
21/00 20060101AFI20251112BHJP(工作機械;他に分類されない金属加工)
要約
【課題】生産ラインのレイアウト変更等に柔軟に対応できる投影システムを提供する。
【解決手段】投影システム(3)は、車体(V)を搬送する搬送装置(21)を含む生産設備(2)上または生産設備(2)の近傍に情報(I)を投影する投影装置(31)を備え、情報(I)は、生産設備(2)に関する設備情報(IA)を含む。
【選択図】図1
特許請求の範囲
【請求項1】
対象物を搬送する搬送装置を含む生産設備上または前記生産設備の近傍に情報を投影する投影装置を備え、
前記情報は、前記生産設備に関する設備情報を含む、投影システム。
続きを表示(約 920 文字)
【請求項2】
前記設備情報は、前記搬送装置に関する情報であり、
前記投影装置は、前記搬送装置上または前記搬送装置の近傍に前記設備情報を投影する、
請求項1に記載の投影システム。
【請求項3】
前記設備情報は、前記生産設備または前記搬送装置の動作状態を示す動作情報を含む、
請求項1または2に記載の投影システム。
【請求項4】
前記投影装置は、前記搬送装置の位置または動作状態に応じて、投影する前記設備情報の内容、サイズまたは位置を切り替える、
請求項1または2に記載の投影システム。
【請求項5】
前記設備情報は、前記生産設備が備える機器の入力信号に関する情報であり、
前記投影装置は、前記設備情報を前記機器上または前記機器の近傍に投影する、
請求項1または2に記載の投影システム。
【請求項6】
前記情報は、前記対象物に対する作業に必要な作業情報をさらに含む、
請求項1または2に記載の投影システム。
【請求項7】
前記生産設備は、前記搬送装置の搬送経路に設置された作業架台をさらに含み、
前記投影装置は、前記搬送装置上または前記作業架台上に前記作業情報を投影する、
請求項6に記載の投影システム。
【請求項8】
前記投影装置は、
前記生産設備の稼働時に投影する稼働投影モードと、
前記生産設備の保守時に投影する保守投影モードと、
に投影モードが切り替え可能になっており、
前記稼働投影モードと前記保守投影モードとにおいて、投影する前記設備情報の内容が切り替わる、
請求項1または2に記載の投影システム。
【請求項9】
前記投影装置は、携帯端末によって前記投影モードが切り替え可能になっている、
請求項8に記載の投影システム。
【請求項10】
前記投影装置を移動させる移動装置をさらに備える、
請求項1または2に記載の投影システム。
(【請求項11】以降は省略されています)
発明の詳細な説明
【技術分野】
【0001】
本開示は、生産ラインに情報を投影する投影システムに関する。
続きを表示(約 1,500 文字)
【背景技術】
【0002】
従来、例えば自動車等の生産ラインにおいて、搬送される対象物に情報を投影する技術が知られている(特許文献1および2)。これらの技術は、組立手順または部品の取付位置等の情報を対象物に直接投影することによって誤組等を低減している。
【先行技術文献】
【特許文献】
【0003】
特開2021-114190号公報
特開2022-110804号公報
【発明の概要】
【発明が解決しようとする課題】
【0004】
近年、無人搬送車(AGV:Automated Guided Vehicle)等の導入により、生産ラインのレイアウト変更の頻度が増加することが想定される。これに伴い、生産ラインのレイアウト変更等に柔軟に対応しつつ、搬送装置等の生産設備の状況を作業者が確認しやすい技術の開発が望まれるが、このような技術は未だ実現されていなかった。
【0005】
本開示の一態様は、生産ラインのレイアウト変更等に柔軟に対応できると共に、生産設備の状況を作業者が確認しやすい投影システムを提供することを目的とする。
【課題を解決するための手段】
【0006】
前記の課題を解決するために、本開示の一態様に係る投影システムは、対象物を搬送する搬送装置を含む生産設備上または前記生産設備の近傍に情報を投影する投影装置を備え、前記情報は、前記生産設備に関する設備情報を含む。
【発明の効果】
【0007】
本開示の一態様によれば、生産ラインのレイアウト変更等に柔軟に対応できると共に、生産設備の状況を作業者が確認しやすい投影システムを提供することができる。
【図面の簡単な説明】
【0008】
本開示の実施形態1に係る生産ラインシステムの一例を示す概略図である。
図1に示した生産ラインシステムの概略構成を示す斜視図である。
図2に示した生産ラインシステムの概略構成を示す平面図である。
図2および図3に示した摩擦駆動ユニットの構成例を示す平面図である。
前記生産ラインシステムのシステム構成例を示す概略図である。
稼働投影モードにおいて投影される設備情報の切り換え例を示す平面図である。
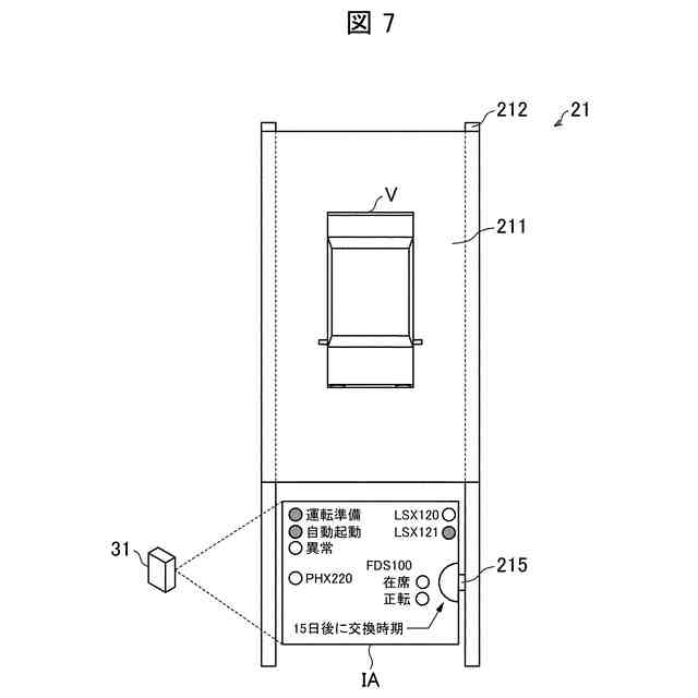
保守投影モードにおいて投影される設備情報の一例を示す平面図である。
本開示の実施形態2に係る生産ラインシステムの一例を示す概略図である。
【発明を実施するための形態】
【0009】
〔実施形態1〕
以下、本開示の一実施形態について、図面を参照して説明する。本実施形態では、本開示の投影システムを自動車の生産ラインに適用した一例を説明する。ただし、本開示の投影システムは、自動車の生産ラインに限らず、各種製品の生産ラインに適用可能である。また、以下の説明は本開示に係る投影システムの一例であり、本開示の技術的範囲は図示例に限定されるものではない。
【0010】
[投影システムの概要]
まず、本開示の投影システム3の概要について説明する。図1は、本開示の投影システム3が適用された自動車の生産ラインシステム1の一例を示す概略図である。図1に示すように、生産ラインシステム1は、車体(対象物)Vを搬送する搬送装置21を含む生産設備2と、生産設備2上または生産設備2の近傍に情報Iを投影する投影装置31を含む投影システム3と、を備える。
(【0011】以降は省略されています)
この特許をJ-PlatPat(特許庁公式サイト)で参照する
関連特許
株式会社ダイフク
倉庫
15日前
株式会社ダイフク
洗車機
1か月前
株式会社ダイフク
作業設備
1か月前
株式会社ダイフク
搬送装置
23日前
株式会社ダイフク
物品搬送設備
1か月前
株式会社ダイフク
物品搬送設備
今日
株式会社ダイフク
物品搬送設備
22日前
株式会社ダイフク
投影システム
1日前
株式会社ダイフク
非接触給電設備
29日前
株式会社ダイフク
遠隔操作システム
13日前
株式会社ダイフク
シミュレーションシステム
今日
株式会社ダイフク
検証システム及び検証方法
23日前
株式会社ダイフク
移載装置及び物品搬送装置
23日前
株式会社ダイフク
物品搬送設備及び物品搬送設備の保守方法
1か月前
株式会社ダイフク
物品配置決定システム、及び、物品積付システム
14日前
株式会社ダイフク
駆動伝達装置及び駆動伝達装置を備えた昇降装置
1か月前
株式会社ダイフク
移載システム
27日前
個人
タップ
6か月前
個人
フライス盤
2か月前
個人
加工機
6か月前
麗豊実業股フン有限公司
ラクトバチルス・パラカセイNB23菌株及びそれを筋肉量の増加や抗メタボリック症候群に用いる用途
6か月前
株式会社北川鉄工所
回転装置
5か月前
日東精工株式会社
ねじ締め機
1か月前
日東精工株式会社
ねじ締め機
5か月前
日東精工株式会社
ねじ締め機
3か月前
株式会社不二越
ドリル
6か月前
日東精工株式会社
ねじ締め機
2か月前
株式会社ダイヘン
溶接電源装置
3か月前
ダイニチ工業株式会社
配膳治具
16日前
株式会社ダイヘン
溶接電源装置
4か月前
日東精工株式会社
ねじ締め装置
2か月前
日東精工株式会社
ねじ締め装置
4か月前
キヤノン電子株式会社
加工装置
13日前
株式会社ダイヘン
溶接電源装置
3か月前
個人
切削油供給装置
2か月前
日東精工株式会社
ねじ整列トレー
8日前
続きを見る
他の特許を見る