TOP
|
特許
|
意匠
|
商標
特許ウォッチ
Twitter
他の特許を見る
公開番号
2025174639
公報種別
公開特許公報(A)
公開日
2025-11-28
出願番号
2024081120
出願日
2024-05-17
発明の名称
洗浄装置
出願人
株式会社ダイフク
代理人
弁理士法人 HARAKENZO WORLD PATENT & TRADEMARK
主分類
B60S
3/04 20060101AFI20251120BHJP(車両一般)
要約
【課題】洗浄装置が故障する虞を低減する。
【解決手段】洗浄装置(100)のコントローラ(50)は、洗浄ユニット(10)を非常停止させる非常停止信号が入力された後、洗浄ユニット(10)を制動する制動処理と、前記制動処理を実行した後に、洗浄ユニット(10)の制動を解除する解除処理と、を実行する。
【選択図】図1
特許請求の範囲
【請求項1】
車両を洗浄する洗浄装置であって、
前記洗浄装置が設置される設置面に沿って延伸するガイドレールと、
洗浄液を噴射するノズルを有し、駆動部からの駆動力により前記ガイドレールにガイドされて走行する洗浄ユニットと、
前記洗浄ユニットを制動するブレーキ装置と、
コントローラと、を備え、
前記コントローラは、
前記洗浄ユニットを非常停止させる非常停止信号が入力された後、前記洗浄ユニットを制動する制動処理と、
前記非常停止信号が入力された後に、前記洗浄ユニットの制動を解除する解除処理と、を実行する、
洗浄装置。
続きを表示(約 310 文字)
【請求項2】
前記洗浄ユニットの走行範囲内における障害物を検知する検知部を備え、
前記検知部は、前記障害物を検知すると、前記非常停止信号を前記コントローラに出力する、
請求項1に記載の洗浄装置。
【請求項3】
前記コントローラに非常停止信号を出力する非常停止ボタンを備えている、
請求項1に記載の洗浄装置。
【請求項4】
前記コントローラは、前記解除処理の実行後に、前記洗浄ユニットの通常動作を許可する動作復帰指令が入力された場合、前記通常動作前に、前記洗浄ユニットを前進及び後進させる動作確認処理を実行する、
請求項2または3に記載の洗浄装置。
発明の詳細な説明
【技術分野】
【0001】
本開示は、洗浄装置に関する。
続きを表示(約 1,600 文字)
【背景技術】
【0002】
特許文献1には、障害物との接触を検出する近接スイッチを有する非常停止装置を備える洗車機について記載されている。制御装置は、近接スイッチがオフとなり障害物を検出したことを確認すると、洗車機本体の走行を停止させる。
【先行技術文献】
【特許文献】
【0003】
特開2003-276577号公報
【発明の概要】
【発明が解決しようとする課題】
【0004】
ところで、洗浄液を噴射する複数のノズルを有する洗浄ユニットを設置面に沿って走行させる洗浄装置がある。このような洗浄装置では、走行中の洗浄ユニットと他の部材との間に、例えば風で飛んできた障害物が挟まれてしまう状況が考えられる。しかしながら、障害物が挟まれたまま洗浄ユニットを駆動すると洗浄装置が故障する虞がある。
【0005】
本開示の一態様は、洗浄装置が故障する虞を低減することを目的とする。
【課題を解決するための手段】
【0006】
上記の課題を解決するために、本開示の一態様に係る洗浄装置は、車両を洗浄する洗浄装置であって、前記洗浄装置が設置される設置面に沿って延伸するガイドレールと、洗浄液を噴射するノズルを有し、駆動部からの駆動力により前記ガイドレールにガイドされて走行する洗浄ユニットと、前記洗浄ユニットを制動するブレーキ装置と、コントローラと、を備え、前記コントローラは、前記洗浄ユニットを非常停止させる非常停止信号が入力された後、前記洗浄ユニットを制動する制動処理と、前記非常停止信号が入力された後に、前記洗浄ユニットの制動を解除する解除処理と、を実行する。
【発明の効果】
【0007】
本開示の一態様によれば、洗浄装置が故障する虞を低減することができる。
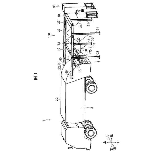
【図面の簡単な説明】
【0008】
本開示の実施形態1に係る洗浄装置の概要を示す斜視図である。
本開示の実施形態1に係る洗浄装置の概要を示す斜視図である。
洗浄装置の構成の一例を示すブロック図である。
コントローラが実行する制御方法の一例を示すフローチャートである。
本開示の実施形態2に係る洗浄装置の構成の一例を示すブロック図である。
コントローラが実行する制御方法の一例を示すフローチャートである。
【発明を実施するための形態】
【0009】
〔実施形態1〕
本実施形態において、パッカー車1を洗浄する洗浄装置100について、図1~図3を参照して説明する。図1および図2は、洗浄装置100の概要を示す斜視図である。図3は、洗浄装置100の構成の一例を示すブロック図である。説明の便宜上、図1等の矢印で示されるように、上下方向、前後方向、及び左右方向を定義する。前方向は、洗浄装置100に対して、洗浄するパッカー車1が停車している方向である。前後方向はパッカー車1の車長方向であり、左右方向はパッカー車1の車幅方向であり、上下方向はパッカー車1の車高方向である。なお、本実施形態において、上下方向は前後方向及び左右方向と直交する方向であって、前後方向は左右方向と直交する方向である。
【0010】
本実施形態では、洗浄装置100が洗浄する車両がパッカー車1である場合について例示しているが、このような構成に限られない。洗浄装置100が洗浄する車両は、トラック・バスなどの大型車両、またはダンプカー・パッカー車などの特殊車両であってもよい。例えば、洗浄装置100が洗浄するパッカー車1は、ダンプ可能な荷箱または荷台を備える、パッカー車またはトラックであってよい。
(【0011】以降は省略されています)
この特許をJ-PlatPat(特許庁公式サイト)で参照する
関連特許
株式会社ダイフク
倉庫
25日前
株式会社ダイフク
洗車機
1か月前
株式会社ダイフク
作業設備
1か月前
株式会社ダイフク
洗浄装置
2日前
株式会社ダイフク
搬送装置
1か月前
株式会社ダイフク
投影システム
11日前
株式会社ダイフク
物品搬送設備
1か月前
株式会社ダイフク
要素結合構造
3日前
株式会社ダイフク
物品搬送設備
1か月前
株式会社ダイフク
物品搬送設備
10日前
株式会社ダイフク
非接触給電設備
1か月前
株式会社ダイフク
遠隔操作システム
23日前
株式会社ダイフク
シミュレーションシステム
10日前
株式会社ダイフク
移載装置及び物品搬送装置
1か月前
株式会社ダイフク
検証システム及び検証方法
1か月前
株式会社ダイフク
物品搬送設備及び物品搬送設備の保守方法
1か月前
株式会社ダイフク
物品配置決定システム、及び、物品積付システム
24日前
株式会社ダイフク
駆動伝達装置及び駆動伝達装置を備えた昇降装置
1か月前
株式会社ダイフク
移載システム
1か月前
個人
タイヤレバー
4か月前
個人
前輪キャスター
3か月前
個人
上部一体型自動車
1か月前
個人
空間形成装置
1か月前
個人
ルーフ付きトライク
3か月前
個人
タイヤ脱落防止構造
3か月前
日本精機株式会社
表示装置
4か月前
日本精機株式会社
照明装置
26日前
個人
マスタシリンダ
2か月前
日本精機株式会社
表示装置
4か月前
日本精機株式会社
表示装置
3か月前
個人
車両通過構造物
4か月前
日本精機株式会社
表示装置
4か月前
個人
常設収納型サンバイザー
1か月前
株式会社ニフコ
収納装置
2か月前
日本精機株式会社
車室演出装置
3か月前
日本精機株式会社
画像投映装置
1か月前
続きを見る
他の特許を見る