TOP
|
特許
|
意匠
|
商標
特許ウォッチ
Twitter
他の特許を見る
公開番号
2025141534
公報種別
公開特許公報(A)
公開日
2025-09-29
出願番号
2024041519
出願日
2024-03-15
発明の名称
作業設備
出願人
株式会社ダイフク
代理人
弁理士法人R&C
主分類
B65G
1/137 20060101AFI20250919BHJP(運搬;包装;貯蔵;薄板状または線条材料の取扱い)
要約
【課題】物品の配置領域に照射される指示光の照射位置の設定を容易に行うことが可能な作業設備を実現する。
【解決手段】作業設備は、複数の物品配置領域10に配置された物品に対する作業を行う作業者への作業支援を行う作業支援装置を備える。制御システムは、複数の物品配置領域10のそれぞれを示す指示光の照射位置P20を設定する位置設定モードを実行可能である。制御システムは、位置設定モードにおいて、複数の前記物品配置領域10の配置を示す配置図Mを表示部に表示し、入力部により配置図Mの変更指示を受け付けた場合には、変更指示に応じて配置図Mを変更すると共に、当該変更後の配置図Mに合わせて照射位置P20を設定する。
【選択図】図5
特許請求の範囲
【請求項1】
それぞれに物品が配置される複数の物品配置領域が設定された物品配置装置と、
複数の前記物品配置領域に配置された前記物品に対する作業を行う作業者への作業支援を行う作業支援装置と、
を備えた作業設備であって、
前記作業支援装置は、
前記物品配置装置における複数の前記物品配置領域のそれぞれに対応する領域に、作業対象の前記物品配置領域を示す指示光を照射する照射装置と、
管理者からの入力を受け付ける入力受付端末を備えた制御システムと、
を備え、
前記入力受付端末は、画像を表示する表示部と、前記表示部に表示された画像に対する操作入力を受け付ける入力部と、を備え、
前記制御システムは、
複数の前記物品配置領域のそれぞれを示す前記指示光の照射位置を設定する位置設定モードを実行可能であり、
前記位置設定モードにおいて、複数の前記物品配置領域の配置を示す配置図を前記表示部に表示し、前記入力部により前記配置図の変更指示を受け付けた場合には、前記変更指示に応じて前記配置図を変更すると共に、当該変更後の前記配置図に合わせて前記照射位置を設定する、作業設備。
続きを表示(約 670 文字)
【請求項2】
前記位置設定モードにおいて、前記入力部が、複数の前記物品配置領域のいずれかの指定を受け付けた場合には、前記照射装置が、指定された前記物品配置領域に対応する領域へ前記指示光を照射する、請求項1に記載の作業設備。
【請求項3】
複数の前記物品配置領域は、予め定められた配列方向に沿って並ぶように設定され、
前記配置図には、前記配列方向に隣り合う2つの前記物品配置領域に挟まれた境界位置が示され、
前記位置設定モードにおいて受け付けられる前記変更指示には、前記境界位置を変更することの指示が含まれ、
前記制御システムは、前記配置図の変更後の前記境界位置により規定される前記物品配置領域の配置に合わせて前記照射位置を設定する、請求項1又は2に記載の作業設備。
【請求項4】
前記制御システムは、前記位置設定モードにおいて、複数の前記物品配置領域ごとに、照射される前記指示光の大きさ及び形状の少なくとも一方を設定可能に構成されている、請求項1又は2に記載の作業設備。
【請求項5】
前記配置図には、前記物品配置装置における複数の前記物品配置領域のそれぞれの位置に対応して前記表示部上に配置された配置領域枠が含まれ、
前記制御システムは、前記位置設定モードにおいて、前記配置図における複数の前記物品配置領域のそれぞれに対応する前記配置領域枠に、複数の前記物品配置領域のそれぞれに配置された前記物品の情報を表示する、請求項1又は2に記載の作業設備。
発明の詳細な説明
【技術分野】
【0001】
本発明は、それぞれに物品が配置される複数の物品配置領域が設定された物品配置装置と、複数の前記物品配置領域に配置された前記物品に対する作業を行う作業者への作業支援を行う作業支援装置と、を備えた作業設備に関する。
続きを表示(約 1,800 文字)
【背景技術】
【0002】
このような作業設備の一例として、特開2018-154502号公報(特許文献1)に開示された設備がある。以下、背景技術の説明において括弧内に示される符号は、特許文献1のものである。
【0003】
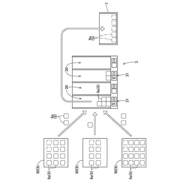
特許文献1に開示された設備には、複数の容器(3)が収容された収容棚(2)が設けられている。作業者は、複数の容器(3)のそれぞれについて、指定された作業を行う。この設備では、指示装置(11)によって作業者の作業が支援される。具体的には、指示装置(11)は、収容棚(2)における容器(3)が配置された領域へ光を照射することにより、作業対象の容器(3)を作業者に対して指示する。
【先行技術文献】
【特許文献】
【0004】
特開2018-154502号公報
【発明の概要】
【発明が解決しようとする課題】
【0005】
ところで、指示装置(11)によって照射される光の位置(照射位置)は、作業対象の容器(3)を指示するものであることから、容器(3)が配置される配置領域に対して適切な位置となるように設定されている必要がある。しかしながら、収容棚(2)における各容器(3)の配置領域の位置は、常に一定とは限らず、容器(3)の大きさや配置パターンなどを変更することも有り得る。このような場合には、指示装置(11)による光の照射位置は、実際に容器(3)が収容されている配置領域からずれる可能性があるため、照射位置の再設定を行う必要がある。照射位置の設定は、容器(3)が収容されている配置領域に対応させるように行うことはもちろんのこと、なるべく容易に行えるようにすることが望ましい。
【0006】
上記実状に鑑みて、物品の配置領域に照射される指示光の照射位置の設定を容易に行うことが可能な作業設備の実現が望まれている。
【課題を解決するための手段】
【0007】
それぞれに物品が配置される複数の物品配置領域が設定された物品配置装置と、
複数の前記物品配置領域に配置された前記物品に対する作業を行う作業者への作業支援を行う作業支援装置と、
を備えた作業設備であって、
前記作業支援装置は、
前記物品配置装置における複数の前記物品配置領域のそれぞれに対応する領域に、作業対象の前記物品配置領域を示す指示光を照射する照射装置と、
管理者からの入力を受け付ける入力受付端末を備えた制御システムと、
を備え、
前記入力受付端末は、画像を表示する表示部と、前記表示部に表示された画像に対する操作入力を受け付ける入力部と、を備え、
前記制御システムは、
複数の前記物品配置領域のそれぞれを示す前記指示光の照射位置を設定する位置設定モードを実行可能であり、
前記位置設定モードにおいて、複数の前記物品配置領域の配置を示す配置図を前記表示部に表示し、前記入力部により前記配置図の変更指示を受け付けた場合には、前記変更指示に応じて前記配置図を変更すると共に、当該変更後の前記配置図に合わせて前記照射位置を設定する。
【0008】
本構成によれば、位置設定モードにおいて、管理者が入力受付端末を用いて表示部に表示された配置図の変更指示を入力することで、複数の物品配置領域のそれぞれに対する指示光の照射位置を設定することができる。この際、入力受付端末の表示部に複数の物品配置領域の配置を示す配置図が表示されるため、管理者は配置図を確認しながら変更指示を行うことができる。従って、本構成によれば、物品の配置領域に照射される指示光の照射位置の設定変更を容易に行うことが可能となる。
【0009】
本開示に係る技術のさらなる特徴と利点は、図面を参照して記述する以下の例示的かつ非限定的な実施形態の説明によってより明確になるであろう。
【図面の簡単な説明】
【0010】
作業設備の側面図
作業者による作業の流れを示す図
作業支援装置による作業支援を示す図
入力受付端末の例を示す図
位置設定モードの説明図
位置設定モードの説明図
【発明を実施するための形態】
(【0011】以降は省略されています)
この特許をJ-PlatPat(特許庁公式サイト)で参照する
関連特許
株式会社ダイフク
倉庫
2か月前
株式会社ダイフク
倉庫
1か月前
株式会社ダイフク
搬送車
2日前
株式会社ダイフク
作業設備
2日前
株式会社ダイフク
作業設備
2日前
株式会社ダイフク
作業設備
2日前
株式会社ダイフク
作業設備
2日前
株式会社ダイフク
作業設備
2日前
株式会社ダイフク
搬送設備
1か月前
株式会社ダイフク
作業設備
26日前
株式会社ダイフク
作業設備
2日前
株式会社ダイフク
搬送設備
1か月前
株式会社ダイフク
搬送設備
12日前
株式会社ダイフク
搬送設備
1か月前
株式会社ダイフク
洗浄装置
1か月前
株式会社ダイフク
洗浄装置
1か月前
株式会社ダイフク
物品搬送設備
1か月前
株式会社ダイフク
物品搬送設備
1か月前
株式会社ダイフク
物品搬送設備
22日前
株式会社ダイフク
物品搬送設備
12日前
株式会社ダイフク
物品搬送設備
12日前
株式会社ダイフク
搬送システム
6日前
株式会社ダイフク
ローラコンベヤ
1か月前
株式会社ダイフク
自動倉庫システム
2日前
株式会社ダイフク
手荷物保管システム
26日前
株式会社ダイフク
移動体清掃システム
20日前
株式会社ダイフク
治具、および交換補助具
12日前
株式会社ダイフク
開閉機構およびカバー構造
1か月前
株式会社ダイフク
物品処理装置、及び、物品保管設備
1か月前
株式会社ダイフク
洗浄装置および洗浄装置管理システム
1か月前
株式会社ダイフク
搬送車、及び、搬送車を備えた搬送設備
1か月前
台湾大福高科技設備股分有限公司
物体搬送システム
2日前
台湾大福高科技設備股分有限公司
物体搬送システム
6日前
台湾大福高科技設備股分有限公司
物体搬送システム
2か月前
株式会社ダイフク
物品仕分け設備
1日前
個人
箱
11か月前
続きを見る
他の特許を見る