TOP
|
特許
|
意匠
|
商標
特許ウォッチ
Twitter
他の特許を見る
公開番号
2025141535
公報種別
公開特許公報(A)
公開日
2025-09-29
出願番号
2024041520
出願日
2024-03-15
発明の名称
作業設備
出願人
株式会社ダイフク
代理人
弁理士法人R&C
主分類
B65G
1/137 20060101AFI20250919BHJP(運搬;包装;貯蔵;薄板状または線条材料の取扱い)
要約
【課題】棚の間口ごとに生じる設定作業の手間を軽減する。
【解決手段】作業設備は、互いに同じ寸法の複数の作業棚1と、作業棚1に対する作業を行う作業者に対する作業支援を行う作業支援装置と、を備えている。複数の作業棚1には、互いの棚背面R1が対向するように配置された第1作業棚11と第2作業棚12とが含まれる。作業支援装置は、制御システムを備える。制御システムは、第1作業棚11についての物品配置設定及び作業支援設定を、鉛直軸心を基準として鏡像反転し、第2作業棚12についての物品配置設定及び作業支援設定として記憶部に記憶する、反転コピー機能を備える。
【選択図】図6
特許請求の範囲
【請求項1】
互いに同じ寸法の複数の作業棚と、前記作業棚に対する作業を行う作業者に対する作業支援を行う作業支援装置と、を備えた作業設備であって、
前記作業棚には、それぞれに物品が配置される物品配置領域が複数設定され、
前記作業棚に対する作業には、前記作業棚から前記物品を取り出すピッキング作業と、前記作業棚へ前記物品を補充する補充作業とが含まれ、
前記ピッキング作業は、前記作業棚の正面である棚正面から行われ、
前記補充作業は、前記作業棚の背面である棚背面から行われ、
複数の前記作業棚には、互いの前記棚背面が対向するように配置された第1作業棚と第2作業棚とが含まれ、
前記作業支援装置は、
制御システムと、
複数の前記作業棚のそれぞれについて、複数の前記物品配置領域のそれぞれに対しての前記物品の配置を種類毎に設定した物品配置設定、及び、複数の前記物品配置領域のそれぞれに対する前記作業支援のための設定である作業支援設定を記憶する記憶部と、
を備え、
前記制御システムは、前記第1作業棚についての前記物品配置設定及び前記作業支援設定を、鉛直軸心を基準として鏡像反転し、前記第2作業棚についての前記物品配置設定及び前記作業支援設定として前記記憶部に記憶する、反転コピー機能を備える、作業設備。
続きを表示(約 880 文字)
【請求項2】
複数の前記作業棚には、前記棚正面の向きが前記第1作業棚と同じとなるように配置された同向き作業棚が含まれ、
前記制御システムは、前記第1作業棚についての前記物品配置設定及び前記作業支援設定を、そのまま、前記同向き作業棚についての前記物品配置設定及び前記作業支援設定として前記記憶部に記憶する、単純コピー機能を備える、請求項1に記載の作業設備。
【請求項3】
複数の前記作業棚には、前記棚正面の向きが前記第1作業棚とは反対となるように配置された前記作業棚である逆向き作業棚が含まれ、
前記制御システムは、前記第1作業棚以外の前記作業棚の前記棚正面の向きに応じて、前記逆向き作業棚に対しては、前記反転コピー機能を用いて当該逆向き作業棚の前記物品配置設定及び前記作業支援設定を前記記憶部に記憶し、前記同向き作業棚に対しては、前記単純コピー機能を用いて当該同向き作業棚の前記物品配置設定及び前記作業支援設定を前記記憶部に記憶する、自動設定コピー処理を実行する、請求項2に記載の作業設備。
【請求項4】
前記作業棚のそれぞれにおける複数の前記物品配置領域は、予め定められた配列方向に沿って並ぶように設定され、
前記作業支援装置は、前記配列方向に沿って延在するように設定された表示領域に、複数の前記物品配置領域のそれぞれに対応する前記作業支援のための画像である支援画像を表示する表示装置を備え、
前記作業支援設定は、複数の前記物品配置領域のそれぞれに対応する前記支援画像の表示範囲の設定を含む、請求項1から3のいずれか一項に記載の作業設備。
【請求項5】
前記作業支援装置は、前記作業棚における複数の前記物品配置領域のそれぞれに対応する領域に、作業対象の前記物品配置領域を示す指示光を照射する照射装置を備え、
前記作業支援設定は、複数の前記物品配置領域のそれぞれに対応する領域への前記指示光の照射位置の設定を含む、請求項1から3のいずれか一項に記載の作業設備。
発明の詳細な説明
【技術分野】
【0001】
本発明は、作業棚と、前記作業棚に対する作業を行う作業者に対する作業支援を行う作業支援装置と、を備えた作業設備に関する。
続きを表示(約 1,900 文字)
【背景技術】
【0002】
例えば特開2003-118814号公報(特許文献1)には、物流センターで保管される商品を収納棚の間口ごとに管理するための技術が開示されている。以下、背景技術の説明において括弧内に示される符号は、特許文献1のものである。
【0003】
特許文献1に開示された技術では、棚情報管理コンピュータ(3)によって収納棚情報を作成し、商品を管理している。収納棚情報には、収納棚のエリア、収納棚番号、段数、間口の位置、商品コード、商品名などが含まれる。これにより、収納棚におけるどの間口にどのような商品を収納すべきか、或いは、どの間口にどのような商品が収納されているかを把握することができる。
【先行技術文献】
【特許文献】
【0004】
特開2003-118814号公報
【発明の概要】
【発明が解決しようとする課題】
【0005】
特許文献1に記載されているような、収納棚の間口ごとに設定された情報は、特定の間口へ特定の商品を補充する補充作業や、特定の間口から特定の商品を取り出すピッキング作業に役立てられる。しかしながら、上記のような情報の設定は、収納棚に備えられた複数の間口ごとに行う必要があり、手間がかかる。さらに、複数の収納棚がある場合には、設定数も倍増することになるため、設定作業の手間は大きくなる。
【0006】
上記実状に鑑みて、棚の間口ごとに生じる設定作業の手間を軽減可能な作業設備の実現が望まれている。
【課題を解決するための手段】
【0007】
互いに同じ寸法の複数の作業棚と、前記作業棚に対する作業を行う作業者に対する作業支援を行う作業支援装置と、を備えた作業設備であって、
前記作業棚には、それぞれに物品が配置される物品配置領域が複数設定され、
前記作業棚に対する作業には、前記作業棚から前記物品を取り出すピッキング作業と、前記作業棚へ前記物品を補充する補充作業とが含まれ、
前記ピッキング作業は、前記作業棚の正面である棚正面から行われ、
前記補充作業は、前記作業棚の背面である棚背面から行われ、
複数の前記作業棚には、互いの前記棚背面が対向するように配置された第1作業棚と第2作業棚とが含まれ、
前記作業支援装置は、
制御システムと、
複数の前記作業棚のそれぞれについて、複数の前記物品配置領域のそれぞれに対しての前記物品の配置を種類毎に設定した物品配置設定、及び、複数の前記物品配置領域のそれぞれに対する前記作業支援のための設定である作業支援設定を記憶する記憶部と、
を備え、
前記制御システムは、前記第1作業棚についての前記物品配置設定及び前記作業支援設定を、鉛直軸心を基準として鏡像反転し、前記第2作業棚についての前記物品配置設定及び前記作業支援設定として前記記憶部に記憶する、反転コピー機能を備える。
【0008】
本構成によれば、第1作業棚の棚背面と第2作業棚の棚背面とが対向するように配置されている場合に、反転コピー機能を用いることにより、第1作業棚について行った物品配置設定及び作業支援設定を、鏡像反転させて第2作業棚の物品配置設定及び作業支援設定とすることができる。従って、これらの設定を2つの作業棚について個別に行う場合に比べて、設定作業の手間を軽減することができる。また本構成によれば、第1作業棚と第2作業棚との物品配置設定が鏡対称となっているため、第1作業棚と第2作業棚とに挟まれたエリアにおいて第1作業棚及び第2作業棚のそれぞれの棚背面から補充作業を行う場合に、作業者は、両側の作業棚の対応する位置に同じ物品を補充することになるため、このような補充作業を行う作業者の手間を軽減することができる。
【0009】
本開示に係る技術のさらなる特徴と利点は、図面を参照して記述する以下の例示的かつ非限定的な実施形態の説明によってより明確になるであろう。
【図面の簡単な説明】
【0010】
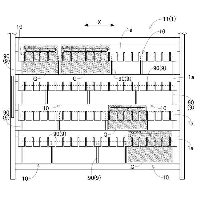
作業設備の一部を示す平面図
作業エリアでの作業を示す側面図
作業棚の正面図
制御ブロック図
第1作業棚及び第2作業棚の設定を示す図
補充作業エリアから見た第1作業棚及び第2作業棚の設定を示す図
作業設備を広範囲に示す平面図
第2実施形態に係る作業設備を示す図
【発明を実施するための形態】
(【0011】以降は省略されています)
この特許をJ-PlatPat(特許庁公式サイト)で参照する
関連特許
株式会社ダイフク
倉庫
25日前
株式会社ダイフク
洗車機
1か月前
株式会社ダイフク
洗浄装置
2日前
株式会社ダイフク
作業設備
1か月前
株式会社ダイフク
搬送装置
1か月前
株式会社ダイフク
物品搬送設備
10日前
株式会社ダイフク
投影システム
11日前
株式会社ダイフク
物品搬送設備
1か月前
株式会社ダイフク
要素結合構造
3日前
株式会社ダイフク
物品搬送設備
1か月前
株式会社ダイフク
非接触給電設備
1か月前
株式会社ダイフク
遠隔操作システム
23日前
株式会社ダイフク
移載装置及び物品搬送装置
1か月前
株式会社ダイフク
検証システム及び検証方法
1か月前
株式会社ダイフク
シミュレーションシステム
10日前
株式会社ダイフク
物品搬送設備及び物品搬送設備の保守方法
1か月前
株式会社ダイフク
駆動伝達装置及び駆動伝達装置を備えた昇降装置
1か月前
株式会社ダイフク
物品配置決定システム、及び、物品積付システム
24日前
台湾大福高科技設備股分有限公司
物体搬送システム
2か月前
株式会社ダイフク
移載システム
1か月前
株式会社ダイフク
物品仕分け設備
2か月前
個人
束ね具
19日前
個人
収容箱
4か月前
個人
コンベア
6か月前
個人
容器
10か月前
個人
段ボール箱
8か月前
個人
ゴミ収集器
8か月前
個人
段ボール箱
8か月前
個人
テープ引出機
19日前
個人
土嚢運搬器具
9か月前
個人
角筒状構造体
6か月前
個人
楽ちんハンド
6か月前
個人
バンド
3か月前
個人
宅配システム
8か月前
個人
棒状体収容容器
23日前
個人
お薬の締結装置
7か月前
続きを見る
他の特許を見る