TOP
|
特許
|
意匠
|
商標
特許ウォッチ
Twitter
他の特許を見る
公開番号
2025141444
公報種別
公開特許公報(A)
公開日
2025-09-29
出願番号
2024041376
出願日
2024-03-15
発明の名称
自動倉庫システム
出願人
株式会社ダイフク
代理人
弁理士法人酒井国際特許事務所
主分類
B65G
1/00 20060101AFI20250919BHJP(運搬;包装;貯蔵;薄板状または線条材料の取扱い)
要約
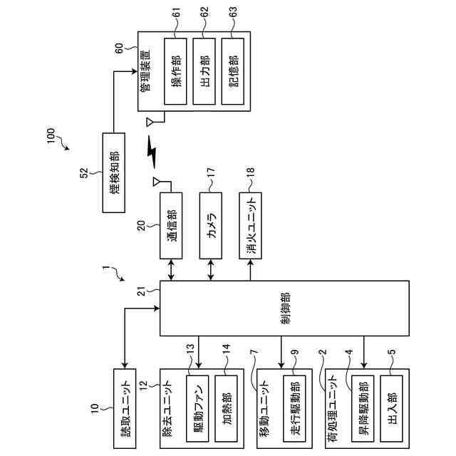
【課題】移動体の位置を認識するために識別子を光学的に読み取る際の読取エラーの発生を抑制することができる自動倉庫システムを提供すること。
【解決手段】本発明の一態様である自動倉庫システムは、倉庫内に設定された経路に沿って設けられ、前記経路上の位置と当該位置を示す位置情報を含む識別子の配置とが合致するように、前記経路に沿って前記識別子が配置されている識別子配置部と、前記識別子配置部に配置された前記識別子を光学的に読み取る読取ユニットと、前記読取ユニットが読み取った前記識別子に含まれる位置情報をもとに、前記経路に沿って移動する移動ユニットと、前記読取ユニットによる前記識別子の読み取りの障害となり得る障害物質を除去する除去ユニットと、を備える。
【選択図】図1
特許請求の範囲
【請求項1】
倉庫内に設定された経路に沿って設けられ、前記経路上の位置と当該位置を示す位置情報を含む識別子の配置とが合致するように、前記経路に沿って前記識別子が配置されている識別子配置部と、
前記識別子配置部に配置された前記識別子を光学的に読み取る読取ユニットと、
前記読取ユニットが読み取った前記識別子に含まれる位置情報をもとに、前記経路に沿って移動する移動ユニットと、
前記読取ユニットによる前記識別子の読み取りの障害となり得る障害物質を除去する除去ユニットと、
を備えることを特徴とする自動倉庫システム。
続きを表示(約 880 文字)
【請求項2】
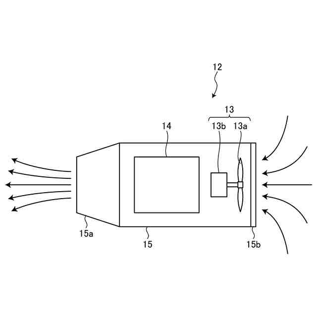
前記除去ユニットは、前記障害物質を送風によって除去する、
ことを特徴とする請求項1に記載の自動倉庫システム。
【請求項3】
前記除去ユニットは、前記移動ユニットに搭載され、前記移動ユニットの移動に伴って前記送風を行い、前記移動ユニットの停止に伴って前記送風を停止する、
ことを特徴とする請求項2に記載の自動倉庫システム。
【請求項4】
前記移動ユニットに搭載され、消火剤の放出によって火災を消火する消火ユニットと、
前記倉庫内で発生した煙を検知する煙検知部と、
前記煙検知部によって検知された前記煙の発生箇所を特定する管理装置と、
を備え、
前記移動ユニットは、前記管理装置によって特定された前記煙の発生箇所へ移動し、
前記消火ユニットは、前記煙の発生箇所に向けて前記消火剤を放出し、
前記除去ユニットは、火災の消火後に前記障害物質として残留する前記消火剤を送風によって除去する、
ことを特徴とする請求項2または3に記載の自動倉庫システム。
【請求項5】
前記除去ユニットは、前記倉庫内の気温よりも高温の高温風を送ることによって前記障害物質を除去する、
ことを特徴とする請求項2または3に記載の自動倉庫システム。
【請求項6】
前記除去ユニットは、前記読取ユニットによる前記識別子の読取エラーが発生した場合に送風量を増やす、
ことを特徴とする請求項2または3に記載の自動倉庫システム。
【請求項7】
前記除去ユニットは、前記読取ユニットによる前記識別子の読取エラーが発生した場合に送風温度を上げる、
ことを特徴とする請求項2または3に記載の自動倉庫システム。
【請求項8】
前記除去ユニットは、前記読取ユニットが前記識別子の読み取りに用いる光の経路を含む領域へ送風する、
ことを特徴とする請求項2または3に記載の自動倉庫システム。
発明の詳細な説明
【技術分野】
【0001】
本発明は、自動倉庫システムに関する。
続きを表示(約 1,800 文字)
【背景技術】
【0002】
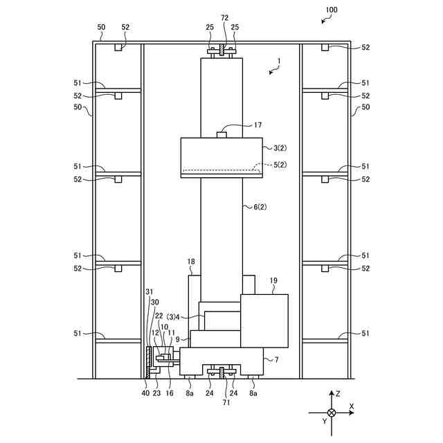
従来、倉庫内を所定の経路に沿って移動する搬送車等の移動体を利用し、倉庫内の棚に対して物品の出し入れ等を行う自動倉庫システムが実用化されている。一般に、自動倉庫システムでは、倉庫内の棚の前を経由するように移動体の経路が予め設定され、設定された経路に沿ってレールが敷設されている。移動体は、このように敷設されたレールによって案内されつつ、倉庫内の経路に沿って移動する。例えば、移動体は、倉庫内に設置された複数の棚のうち目的とする棚の位置を所定の管理装置から指定され、指定された棚の位置に向かって自動的に移動する。
【0003】
上述のような自動倉庫システムに関する従来技術として、例えば、走行レールに沿って走行しつつ、当該走行レールの走行面に向けて送風することにより、当該走行面から塵埃を除去する物品搬送車が提案されている(特許文献1参照)。また、棚の前を通る一定経路に沿って出し入れ装置(移動体)の走行を案内するレールに対し、熱風を吹き付けることにより、このレールに結露が生じても除去し得る自動倉庫設備が提案されている(特許文献2参照)。また、棚に沿って軌道上を走行する物品移載機の駆動を、予め提供された温度データに基づいて制御し得る装置が提案されている(特許文献3参照)。
【先行技術文献】
【特許文献】
【0004】
特開2018-115066号公報
特開平6-56212号公報
特開2006-96532号公報
【発明の概要】
【発明が解決しようとする課題】
【0005】
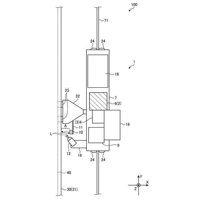
上述したように棚の位置への移動から物品の出し入れまでの一連の動作を自動的に行う自動倉庫システムにおいて、倉庫内には、移動体の経路上における複数の位置を個別に識別し得るバーコード等の識別子が、当該経路に沿って並ぶように複数配置されている。移動体は、識別子を光学的に読み取る読取装置を備え、上記経路に沿って並ぶ複数の識別子を順次読み取りつつ、読み取った識別子で識別される位置(現在地)から目的とする棚の位置(目的地)に向かって移動する。
【0006】
しかしながら、塵埃等の異物が識別子や読取装置の光学系に付着した場合、識別子を光学的に読み取るための光(走査光)が当該異物によって遮られ、これに起因して、識別子の読取エラーが発生するおそれがある。この結果、移動体は、現在地が倉庫内における何処の位置であるかを認識できず、目的地へ移動することが困難になる。
【0007】
また、倉庫内において火災が発生した場合、火災を消火するために二酸化炭素消火剤等の消火剤が放出される。消火剤の比重は空気の比重よりも大きいため、放出された消火剤は、消火後、倉庫内の下方部(例えば床面付近)に溜まり易く、識別子や読取装置の光学系に付着する可能性が高い。このような消火剤も、上述した塵埃等と同様に、読取装置による識別子の光学的な読み取りを阻害する異物となり、識別子の読取エラーの発生原因となり得る。
【0008】
なお、上述した特許文献1~3には、移動体の読取装置による識別子の光学的な読み取りを阻害する異物等について、全く記載されていない。このような特許文献1~3に記載の従来技術では、上述した異物に起因する識別子の読取エラーを抑制することは困難である。
【0009】
本発明は、上記に鑑みてなされたものであって、移動体の位置を認識するために識別子を光学的に読み取る際の読取エラーの発生を抑制することができる自動倉庫システムを提供することを目的とする。
【課題を解決するための手段】
【0010】
上述した課題を解決し、目的を達成するために、本発明に係る自動倉庫システムは、倉庫内に設定された経路に沿って設けられ、前記経路上の位置と当該位置を示す位置情報を含む識別子の配置とが合致するように、前記経路に沿って前記識別子が配置されている識別子配置部と、前記識別子配置部に配置された前記識別子を光学的に読み取る読取ユニットと、前記読取ユニットが読み取った前記識別子に含まれる位置情報をもとに、前記経路に沿って移動する移動ユニットと、前記読取ユニットによる前記識別子の読み取りの障害となり得る障害物質を除去する除去ユニットと、を備えることを特徴とする。
(【0011】以降は省略されています)
この特許をJ-PlatPat(特許庁公式サイト)で参照する
関連特許
株式会社ダイフク
倉庫
今日
株式会社ダイフク
洗車機
28日前
株式会社ダイフク
搬送車
1か月前
株式会社ダイフク
搬送設備
1か月前
株式会社ダイフク
作業設備
1か月前
株式会社ダイフク
作業設備
1か月前
株式会社ダイフク
作業設備
1か月前
株式会社ダイフク
作業設備
1か月前
株式会社ダイフク
作業設備
1か月前
株式会社ダイフク
作業設備
1か月前
株式会社ダイフク
作業設備
21日前
株式会社ダイフク
搬送装置
8日前
株式会社ダイフク
搬送システム
1か月前
株式会社ダイフク
物品搬送設備
1か月前
株式会社ダイフク
物品搬送設備
1か月前
株式会社ダイフク
物品搬送設備
7日前
株式会社ダイフク
物品搬送設備
19日前
株式会社ダイフク
非接触給電設備
14日前
株式会社ダイフク
自動倉庫システム
1か月前
株式会社ダイフク
治具、および交換補助具
1か月前
株式会社ダイフク
移載装置及び物品搬送装置
8日前
株式会社ダイフク
検証システム及び検証方法
8日前
株式会社ダイフク
物品搬送設備及び物品搬送設備の保守方法
19日前
株式会社ダイフク
駆動伝達装置及び駆動伝達装置を備えた昇降装置
20日前
台湾大福高科技設備股分有限公司
物体搬送システム
1か月前
台湾大福高科技設備股分有限公司
物体搬送システム
1か月前
株式会社ダイフク
移載システム
12日前
株式会社ダイフク
物品仕分け設備
1か月前
個人
収容箱
3か月前
個人
コンベア
5か月前
個人
ゴミ収集器
7か月前
個人
容器
9か月前
個人
段ボール箱
7か月前
個人
段ボール箱
7か月前
個人
角筒状構造体
5か月前
個人
宅配システム
7か月前
続きを見る
他の特許を見る