TOP
|
特許
|
意匠
|
商標
特許ウォッチ
Twitter
他の特許を見る
公開番号
2025168046
公報種別
公開特許公報(A)
公開日
2025-11-07
出願番号
2024073150
出願日
2024-04-26
発明の名称
電気機器の冷却構造
出願人
株式会社TMEIC
代理人
個人
,
個人
,
個人
,
個人
主分類
H05K
7/20 20060101AFI20251030BHJP(他に分類されない電気技術)
要約
【課題】筐体内に収容した電気機器を効率的に冷却することができる電気機器の冷却構造を提供する。
【解決手段】実施形態の電気機器の冷却構造は、電気機器と、電気機器に接続されて電気機器が発する熱を放熱させる熱交換器と、収容室内に電気機器を収容する筐体と、収容室内の空気を収容室外に排気するファンと、を備える。筐体の壁部に、収容室内外を連通させる開口が形成されるとともに、開口にファンが配置される。ファンは、壁部の壁面に対して軸方向を交差させた遠心ファンであり、開口から収容室外側に突出して配置される。遠心ファンの径方向外側に、熱交換器が配置される。
【選択図】図1
特許請求の範囲
【請求項1】
電気機器と、
前記電気機器に接続されて前記電気機器が発する熱を放熱させる熱交換器と、
収容室内に前記電気機器を収容する筐体と、
前記収容室内の空気を前記収容室外に排気するファンと、を備え、
前記筐体の壁部に、前記収容室内外を連通させる開口が形成されるとともに、前記開口に前記ファンが配置され、
前記ファンは、前記壁部の壁面に対して軸方向を交差させた遠心ファンであり、前記開口から前記収容室外側に突出して配置され、
前記遠心ファンの径方向外側に、前記熱交換器が配置されている、電気機器の冷却構造。
続きを表示(約 590 文字)
【請求項2】
前記遠心ファンの径方向外側に、複数の前記熱交換器が周方向に並んで配置されている、請求項1に記載の電気機器の冷却構造。
【請求項3】
前記筐体における水平な上壁に、前記開口が形成され、
前記遠心ファンは、軸方向を上下方向に沿わせるとともに、前記開口から上方に突出して配置され、
前記遠心ファンの上方に、上下方向で前記開口と対向するカバーパネルを備えている、請求項1又は2に記載の電気機器の冷却構造。
【請求項4】
前記遠心ファンは、前記筐体の上壁において軸方向を上下方向に沿わせて配置され、
前記遠心ファンの径方向外側に、複数の前記熱交換器が周方向に並んで配置され、
複数の前記熱交換器の各々の下方には、各熱交換器に対応する複数の前記電気機器が周方向に並んで配置され、
互いに対応する前記熱交換器および前記電気機器同士が接続されて、電気機器組体を形成し、
前記筐体は、周方向に並ぶ複数の前記電気機器組体を、前記遠心ファンを中心に回転可能に支持している、請求項1又は2に記載の電気機器の冷却構造。
【請求項5】
複数の前記熱交換器の各々は、前記遠心ファンの軸方向から見て前記遠心ファンと同軸の扇形に形成されている、請求項1又は2に記載の電気機器の冷却構造。
発明の詳細な説明
【技術分野】
【0001】
本発明は、電気機器の冷却構造に関する。
続きを表示(約 1,500 文字)
【背景技術】
【0002】
従来、電気機器の冷却構造として、例えば、電気機器で生ずる動作音を低減させることが可能な電気機器の収納装置において、ケース(筐体)内の通風路に空気を送風する送風機を備えるものがある。また、発熱体である半導体素子の冷却効率を向上させた電力変換装置において、筐体に形成された吸気口から排気口へと冷却風を流通させるために、排気口に冷却ファンを備えるものがある。
ところで、上記従来の技術においては、何れもケース内の空気をケース外に排気するのみであるが、より効率的に電気機器の冷却を行うことが可能な構成が要望されている。
【先行技術文献】
【特許文献】
【0003】
特開2016-178777号公報
特開2018-207647号公報
【発明の概要】
【発明が解決しようとする課題】
【0004】
本発明が解決しようとする課題は、筐体内に収容した電気機器を効率的に冷却することができる電気機器の冷却構造を提供することである。
【課題を解決するための手段】
【0005】
実施形態の電気機器の冷却構造は、電気機器と、電気機器に接続されて電気機器が発する熱を放熱させる熱交換器と、収容室内に電気機器を収容する筐体と、収容室内の空気を収容室外に排気するファンと、を備える。筐体の壁部に、収容室内外を連通させる開口が形成されるとともに、開口にファンが配置される。ファンは、壁部の壁面に対して軸方向を交差させた遠心ファンであり、開口から収容室外側に突出して配置される。遠心ファンの径方向外側に、熱交換器が配置される。
【図面の簡単な説明】
【0006】
本発明の実施形態における電気装置の斜視図である。
上記電気装置の筐体内に収容される電気機器組体の斜視図である。
上記電気機器組体の電気機器単体の斜視図である。
上記電気機器組体の熱交換機の配置を示す平面図である。
上記電気機器組体の熱交換機の変形例の配置を示す平面図である。
【発明を実施するための形態】
【0007】
以下、実施形態の電気機器の冷却構造を、図面を参照して説明する。なお、同一の又は対応する構成要素には同一の符号を付して複数回の説明を省略する場合がある。
【0008】
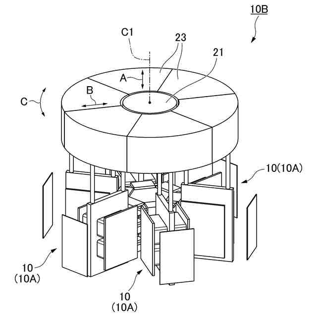
図1は実施形態の電気装置1を示す斜視図である。図2は電気装置1の筐体3内に収容される複数の電気機器組体10Aの集合体10Bを示す斜視図である。図3は単一の電気機器組体10Aを示す斜視図である。
【0009】
図1から図3に示すように、電気装置1は、盤形状(直方体形状)の筐体3の内部に収容室3aを形成し、この収容室3a内に複数の電気機器10を収容している。例えば、電気装置1は電力変換装置であり、電気機器10は電力変換ユニットである。例えば、電気機器10は、半導体ユニット、コンデンサユニットおよび制御ユニット等が例示される。筐体3の内部には、前記した各ユニットの他にも、多種の素子や機器などが実装されている。
【0010】
説明都合上、図中矢印Yを前後方向、矢印Xを左右方向、矢印Zを上下方向として説明を行う。また、図中矢印FRはY方向の前方、矢印LHはX方向の左方、矢印UPはZ方向の上方をそれぞれ示す。実施形態の前後左右等の向きは、電気機器10およびその構成要素の配置を限定するものではない。
(【0011】以降は省略されています)
この特許をJ-PlatPat(特許庁公式サイト)で参照する
関連特許
株式会社TMEIC
制御装置
11日前
株式会社TMEIC
電力変換装置
11日前
株式会社TMEIC
フリッカ補償装置
1か月前
株式会社TMEIC
無停電電源システム
12日前
株式会社TMEIC
電気機器の冷却構造
1か月前
株式会社TMEIC
回転機の据え付け補助装置及び回転機の据え付け方法
12日前
株式会社TMEIC
位相推定器、電力制御装置、電力変換装置、及び位相推定方法
24日前
個人
電子部品の実装方法
2か月前
個人
電気式バーナー
1か月前
日本精機株式会社
回路基板
3か月前
愛知電機株式会社
装柱金具
2か月前
日星電気株式会社
面状ヒータ
24日前
キヤノン株式会社
電子機器
2か月前
日本放送協会
基板固定装置
2か月前
アイホン株式会社
電気機器
2か月前
イビデン株式会社
配線基板
2か月前
メクテック株式会社
配線基板
3か月前
東レ株式会社
霧化状活性液体供給装置
3か月前
個人
静電気中和除去装置
1か月前
イビデン株式会社
配線基板
3か月前
サクサ株式会社
筐体の壁掛け構造
3か月前
株式会社デンソー
電子装置
10日前
シャープ株式会社
加熱機器
1か月前
株式会社デンソー
電子装置
2か月前
サクサ株式会社
開き角度規制構造
1か月前
FDK株式会社
基板
2か月前
株式会社デンソー
電子装置
1か月前
イビデン株式会社
プリント配線板
2か月前
株式会社レクザム
剥離装置
2か月前
株式会社レゾナック
冷却装置
2か月前
日本精機株式会社
車両表示装置用回路基板
3日前
オムロン株式会社
端子折り曲げ治具
2か月前
新電元工業株式会社
電子装置
2か月前
日産自動車株式会社
電子機器
18日前
日産自動車株式会社
電子部品
2か月前
富士フイルム株式会社
積層体
2か月前
続きを見る
他の特許を見る