TOP
|
特許
|
意匠
|
商標
特許ウォッチ
Twitter
他の特許を見る
10個以上の画像は省略されています。
公開番号
2025159205
公報種別
公開特許公報(A)
公開日
2025-10-17
出願番号
2025137590,2023134264
出願日
2025-08-21,2016-12-07
発明の名称
半導体装置
出願人
ローム株式会社
代理人
弁理士法人あい特許事務所
主分類
H10D
30/66 20250101AFI20251009BHJP()
要約
【課題】電流センス部からセンス側表面電極に接合される配線材への熱の逃げを抑制することによって、電流センス部による主電流の電流値の検出精度を向上させることができるSiC半導体装置を提供する。
【解決手段】SiC半導体基板と、主電流側単位セル34を含むソース部27と、センス側単位セル40を含む電流センス部26と、ソース部27の上方に配置されたソース側表面電極5と、電流センス部26の上方に配置され、センス側ワイヤが接合されるセンス側パッド15を有するセンス側表面電極6とを含み、センス側単位セル40は、センス側パッド15の直下部を避けた位置に配置されている、半導体装置1を提供する。
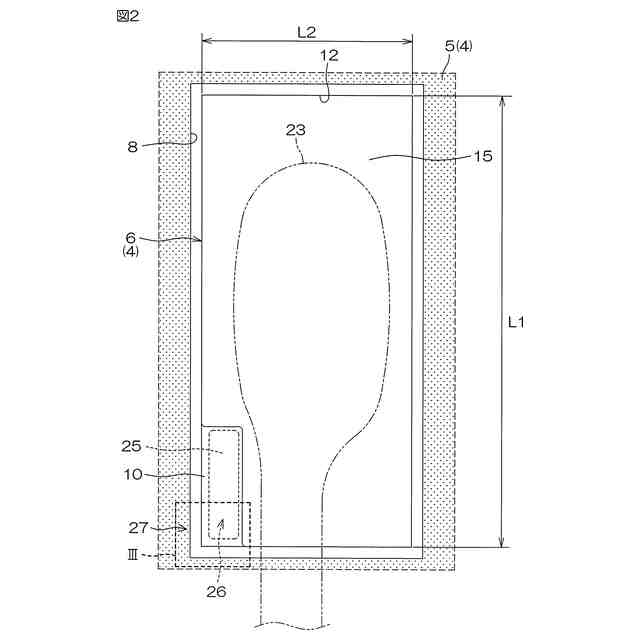
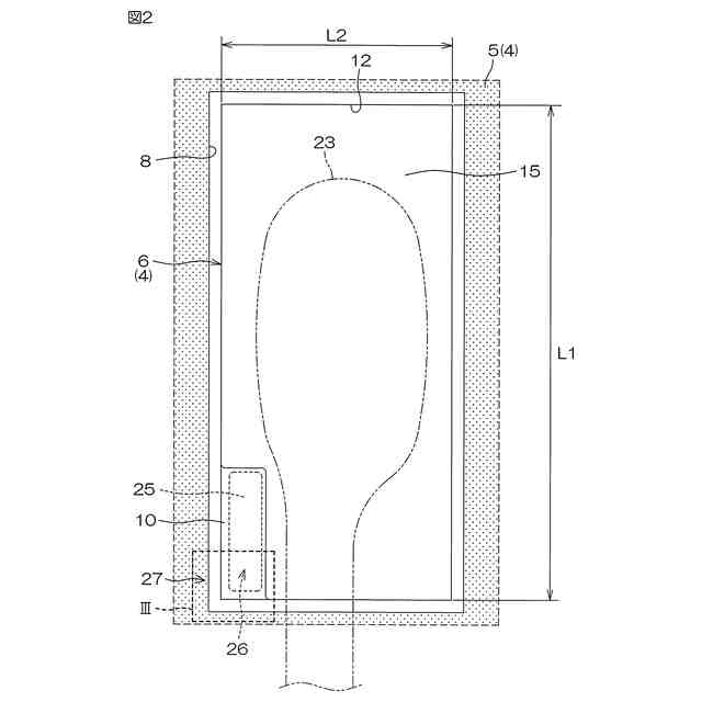
【選択図】図2
特許請求の範囲
【請求項1】
第1面および第2面を有する半導体チップと、
前記半導体チップの前記第1面側に形成され、主電流側の第1単位セルを含む第1素子部と、
前記半導体チップの前記第1面側に形成され、電流検出側の第2単位セルを含む電流センス部と、
前記第1素子部の上方に配置された第1素子側表面電極と、
前記電流センス部の上方を少なくとも一部に含むように配置された平面視略長方形状のセンス側表面電極と、
前記第1素子側表面電極に接合された第1素子側配線材と、
前記電流センス部の上方を避けた位置に配置されており、前記センス側表面電極に接合され、前記第1素子側配線材よりも細いセンス側配線材と、
前記センス側表面電極の前記第2単位セルの直上部を選択的に覆い、前記センス側表面電極の一部をセンス側パッドとして露出させる第1開口を有するパッシベーション膜とを含み、
前記第2単位セルは、前記センス側表面電極の下方で、かつ前記センス側配線材の接合部分の直下部を避けた位置に配置されており、
前記センス側パッドが、前記半導体チップの第1周縁に沿って配置されている、半導体装置。
続きを表示(約 820 文字)
【請求項2】
前記電流センス部は、前記センス側パッドよりも小さい、請求項1に記載の半導体装置。
【請求項3】
前記センス側配線材は、前記第1素子側配線材よりも短い、請求項1または2に記載の半導体装置。
【請求項4】
前記センス側配線材および前記第1素子側配線材は、前記半導体チップから互いに異なる方向に延びている、請求項1~3のいずれか一項に記載の半導体装置。
【請求項5】
前記電流センス部と前記センス側表面電極との間に配置された層間絶縁膜と、
前記層間絶縁膜よりも下方に形成された表面絶縁膜とを含み、
前記層間絶縁膜は、前記表面絶縁膜よりも厚く形成されている、請求項1~4のいずれか一項に記載の半導体装置。
【請求項6】
前記電流センス部は、前記第1素子部に囲まれた領域に形成されている、請求項1~5のいずれか一項に記載の半導体装置。
【請求項7】
前記第1単位セルおよび前記第2単位セルは、互いに同じセル構造を有している、請求項1~6のいずれか一項に記載の半導体装置。
【請求項8】
前記電流センス部は、前記半導体チップの面内方向において一カ所のみに形成されている、請求項1~7のいずれか一項に記載の半導体装置。
【請求項9】
前記層間絶縁膜は、1μm以上の厚さを有している、請求項5に記載の半導体装置。
【請求項10】
前記第1素子部および前記電流センス部は、制御端子を有するスイッチング素子であり、
前記半導体装置は、前記半導体チップ上に配置され、配線材が接合される制御端子側接合領域を有する制御端子側表面電極を含み、
前記層間絶縁膜は、前記制御端子側接合領域の直下部にも配置されている、請求項5または9に記載の半導体装置。
(【請求項11】以降は省略されています)
発明の詳細な説明
【技術分野】
【0001】
本発明は、電流センス部を有するSiC半導体装置に関する。
続きを表示(約 1,700 文字)
【背景技術】
【0002】
従来、デバイスの主電流の電流値を検出するための電流センス部を備える半導体装置が知られており、たとえば、特許文献1および2に記載の半導体装置が提案されている。
【先行技術文献】
【特許文献】
【0003】
特開平8-46193号公報
特開平11-74370号公報
【発明の概要】
【発明が解決しようとする課題】
【0004】
電流センス部は、一般的には、主電流が流れるソース部よりも小面積で形成されている。電流センス部とソース部との面積比は、主電流を検出する際のセンス比を定義する。そして、主電流の電流値は、電流センス部に実際に流れた電流値に当該センス比を乗じることによって算出される。
【0005】
面積以外の条件が全く同じなら、センス比を考慮するだけで主電流の電流値を精度よく検出できるかもしれない。しかしながら、実際には、電流センス部およびソース部が置かれる条件に関して異なる点が存在し、当該異なる点が検出精度に影響を与えている。
【0006】
たとえば、ソース部のパッドは比較的大きく当該パッドに対するボンディングワイヤの占有面積が小さい一方、電流センス部のパッドは比較的小さいため、当該パッドに対するボンディングワイヤの占有面積が大きくなる。これにより、ボンディングワイヤを介する熱の逃げ量に差が生じるため、ソース部と電流センス部との間のオン抵抗に生じる誤差が大きくなる可能性がある。このオン抵抗の誤差は、主電流の電流値の検出精度に影響を与えるものである。
【0007】
本発明の目的は、電流センス部からセンス側表面電極に接合される配線材への熱の逃げを抑制することによって、電流センス部による主電流の電流値の検出精度を向上させることができるSiC半導体装置を提供することである。
【課題を解決するための手段】
【0008】
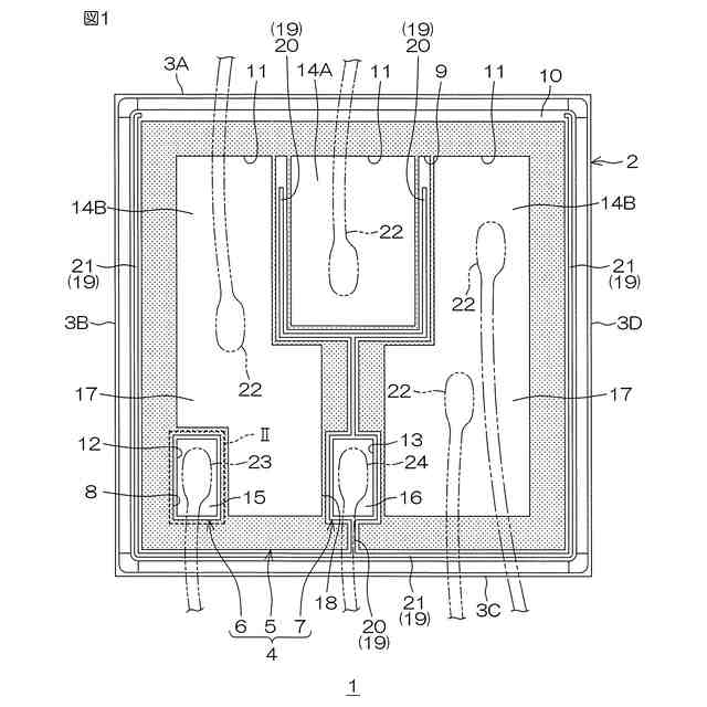
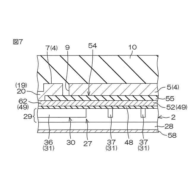
本発明の一実施形態に係る半導体装置は、SiCからなる半導体層と、前記半導体層に形成され、主電流側の第1単位セルを含むソース部と、前記半導体層に形成され、電流検出側の第2単位セルを含む電流センス部と、前記ソース部の上方に配置されたソース側表面電極と、前記電流センス部の上方を少なくとも一部に含むように配置されたセンス側表面電極とを含み、前記第2単位セルは、前記センス側表面電極の下方で、かつ配線材の接合部分の直下部を避けた位置に配置されている。
【0009】
この構成によれば、電流検出側の第2単位セルが配線材の接合部分の直下部を避けた位置に配置されている。これにより、第2単位セルと当該配線材との間に一定の距離を保つことができるので、第2単位セルで発生した熱が配線材に優先的に伝わって逃げることを抑制することができる。そのため、ソース部の第1単位セルと電流センス部の第2単位セルとの間のオン抵抗に生じる誤差を小さくすることができる。また、第2単位セルが配線材の接合部分の直下部にないので、配線材をセンス側表面電極に接合する際の衝撃が第2単位セルに直接伝わることを防止でき、第2単位セルの破壊を抑制することもできる。これらの結果、電流センス部による主電流の電流値の検出精度を向上させることができる。
【0010】
そして、このように第2単位セルを配線材の接合部分の直下部を避けた位置に配置することは、SiCからなる半導体層を使用することによって達成できるものである。つまり、Si半導体デバイスでは、単位面積あたりに流すことができる電流量が小さいため、大電流を流す面積の大きいソース部に対し、検出精度が高い適切なセンス比(1000~2000程度)とするためには、ある程度大きなセンス部のセル面積が必要であることから、直下部を避けた位置に形成することは難しい。これに対し、SiC半導体デバイスでは、単位面積あたりに流すことができる電流量が大きいため、ソース部に対し、小さなセル面積のセンス部でも適切なセンス比を確保できることから、直下部を避けた位置に形成することができる。
(【0011】以降は省略されています)
この特許をJ-PlatPat(特許庁公式サイト)で参照する
関連特許
ローム株式会社
半導体装置
25日前
ローム株式会社
半導体装置
9日前
ローム株式会社
半導体装置
23日前
ローム株式会社
半導体装置
23日前
ローム株式会社
抵抗チップ
24日前
ローム株式会社
半導体装置
24日前
ローム株式会社
半導体装置
9日前
ローム株式会社
半導体装置
9日前
ローム株式会社
半導体装置
4日前
ローム株式会社
半導体装置
4日前
ローム株式会社
半導体装置
25日前
ローム株式会社
電源制御装置
4日前
ローム株式会社
信号伝達装置
4日前
ローム株式会社
半導体集積回路
18日前
ローム株式会社
半導体パッケージ
24日前
ローム株式会社
窒化物半導体装置
24日前
ローム株式会社
半導体メモリ装置
11日前
ローム株式会社
モータドライバ回路
4日前
ローム株式会社
半導体装置、電子機器、車両
18日前
ローム株式会社
半導体装置、電子機器、車両
18日前
ローム株式会社
信号受信装置、IC及び電気機器
2日前
ローム株式会社
半導体装置および半導体装置の製造方法
9日前
ローム株式会社
パルス幅変調回路およびモータ駆動装置
18日前
ローム株式会社
電圧電流変換回路および半導体集積回路
18日前
ローム株式会社
半導体装置、および半導体装置の製造方法
2日前
ローム株式会社
半導体装置、および半導体装置の製造方法
9日前
ローム株式会社
力率改善回路、制御装置、および電子機器
9日前
ローム株式会社
電源制御装置、DC/DCコンバータ、および車両
19日前
ローム株式会社
三相ブラシレスモータのドライバ回路および駆動方法
11日前
ローム株式会社
半導体装置
19日前
ローム株式会社
半導体装置
25日前
ローム株式会社
半導体装置
17日前
ローム株式会社
テラヘルツ装置
23日前
ローム株式会社
半導体装置、マルチフェーズDC/DCコンバータ及び電源装置
2日前
ローム株式会社
SiC半導体装置
11日前
ローム株式会社
SiC半導体装置
25日前
続きを見る
他の特許を見る