TOP
|
特許
|
意匠
|
商標
特許ウォッチ
Twitter
他の特許を見る
10個以上の画像は省略されています。
公開番号
2025146220
公報種別
公開特許公報(A)
公開日
2025-10-03
出願番号
2024046884
出願日
2024-03-22
発明の名称
不揮発性メモリ装置
出願人
ローム株式会社
代理人
弁理士法人 佐野特許事務所
主分類
G11C
8/10 20060101AFI20250926BHJP(情報記憶)
要約
【課題】小型化することができる不揮発性メモリ装置を提供する。
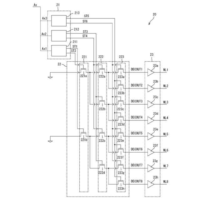
【解決手段】デコーダ(20、30)は、k番目(kは、k<nを満たす整数)の選択グループ(221、222)のスイッチング素子(221a~221b、222a~222d)のそれぞれは、k+1番目の選択グループ(222、223)に含まれる複数のスイッチング素子(222a~222d、223a~223h)のそれぞれ異なる複数個のスイッチング素子(222a~222d、223a~223h)と接続されるように構成され、1番目の選択グループ(221)の各スイッチング素子(221a、221b)が所定の電圧が印加される電圧端(VSS)に接続されるとともに、n番目の選択グループ(223)の各スイッチング素子(223a~223h)がドライバ回路(23)に接続される構成である。
【選択図】図6
特許請求の範囲
【請求項1】
メモリアレイに接続された複数の配線を駆動するように構成されたデコーダを有する不揮発性メモリ装置であって、
前記デコーダは、
前記配線を指定するためのアドレス指定信号に応じて選択信号を出力するように構成されたプリデコード回路と、
前記プリデコード回路から供給される前記選択信号に基づいて駆動されて指定された前記配線を選択するように構成された選択回路と、
前記選択回路に接続されて選択された前記配線を駆動するように構成されたドライバ回路と、を有し、
前記選択回路は、
複数のスイッチング素子が並列に接続されている構成のn個(nは、2以上の整数)の選択グループを有し、
k番目(kは、k<nを満たす整数)の前記選択グループの前記スイッチング素子のそれぞれは、k+1番目の前記選択グループに含まれる複数の前記スイッチング素子のそれぞれ異なる複数個の前記スイッチング素子と接続されるように構成され、
1番目の前記選択グループの各スイッチング素子が所定の電圧が印加される電圧端に接続されるとともに、n番目の前記選択グループの各スイッチング素子が前記ドライバ回路に接続されるように構成された不揮発性メモリ装置。
続きを表示(約 1,100 文字)
【請求項2】
前記選択回路が3個以上(n≧3)の前記選択グループを有する場合において、各前記選択グループの各前記スイッチング素子は、それぞれ、アクティブ領域を含むトランジスタセルにて構成され、
m番目の前記選択グループの前記トランジスタセルが、r番目(m、rは、1≦m<r≦nを満たす整数)の前記選択グループの前記トランジスタセルの間に配置される構成である請求項1に記載の不揮発性メモリ装置。
【請求項3】
各前記選択グループの各前記スイッチング素子は、それぞれ、アクティブ領域を含むトランジスタセルにて構成され、
複数の前記トランジスタセルの少なくとも一部が、共通アクティブ領域と、複数の個別アクティブ領域とを有する構成を有する複合トランジスタセルを有する構成であり、前記複合トランジスタセルは、複数のスイッチング素子を構成する構成である請求項1に記載の不揮発性メモリ装置。
【請求項4】
複数の前記複合トランジスタセルの少なくとも一つは、
1つの前記共通アクティブ領域を挟んで反対側の位置に前記共通アクティブ領域とそれぞれ対向するように構成された2つの第1個別アクティブ領域と、
前記共通アクティブ領域の2個の前記第1個別アクティブ領域とは異なる位置に対向してT字形状を構成するように配置された1つの第2個別アクティブ領域と、を有する構成のT状複合トランジスタセルであり、
前記T状複合トランジスタセルの前記第1個別アクティブ領域と前記共通アクティブ領域とで構成される前記スイッチング素子と、前記第2個別アクティブ領域と前記共通アクティブ領域とで構成される前記スイッチング素子と、は異なる前記選択グループのスイッチング素子となるように構成される構成である請求項3に記載の不揮発性メモリ装置。
【請求項5】
複数の前記T状複合トランジスタセルが、2個の前記第1個別アクティブ領域が並ぶ方向である第1方向に並んで配置されており、
隣り合う前記T状複合トランジスタセルの各第2個別アクティブ領域は、それぞれの前記共通アクティブ領域の前記第1方向と交差する第2方向の異なる側に連結され、
隣り合う前記T状複合トランジスタセルは、少なくとも一部が前記第1方向に重なるように構成された請求項4に記載の不揮発性メモリ装置。
【請求項6】
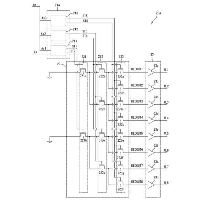
前記プリデコード回路は、動作開始を指示するイネーブル信号によって、1番目の前記選択グループの前記スイッチング素子を駆動するように構成された請求項1から請求項5のいずれかに記載の不揮発性メモリ装置。
発明の詳細な説明
【技術分野】
【0001】
本明細書中に開示されている発明は、不揮発性メモリ装置に関する。
続きを表示(約 1,800 文字)
【背景技術】
【0002】
特許文献1で提案されている半導体不揮発記憶回路は、Xデコーダでワード線を選択し、Yデコーダでビット線を選択することで、情報のリード動作又はライト動作を実施するメモリセルを選択している。
【先行技術文献】
【特許文献】
【0003】
特開2017-212061号公報
【0004】
[概要]
近年、メモリ容量の増大に伴い、半導体不揮発記憶回路の各回路の小型化の要求が高まっている。
【0005】
本明細書中に開示されている不揮発性メモリ装置は、第1電流を出力可能な構成の第1メモリ素子と、前記第1メモリ素子と並列に配置されて第2電流を出力可能な構成の第2メモリ素子と、一定の範囲で変動する参照電流を供給可能な構成の電流供給回路と、前記第1電流と前記参照電流との大小及び前記第2電流と前記参照電流との大小を比較可能な構成のセンスアンプと、前記センスアンプに接続されて、前記第1電流と前記参照電流との比較結果である第1比較結果と、前記第2電流と前記参照電流との比較結果である第2比較結果に基づいて、前記第1電流の電流値と前記第2電流の電流値との差を取得する構成の電流差取得回路と、を有するように構成されている。
【図面の簡単な説明】
【0006】
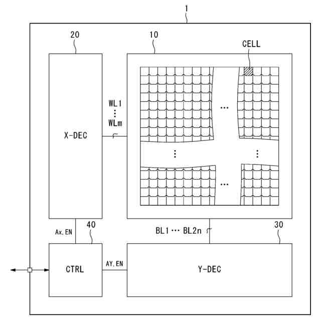
図1は、不揮発性メモリ装置の全体構成例を示すブロック図である。
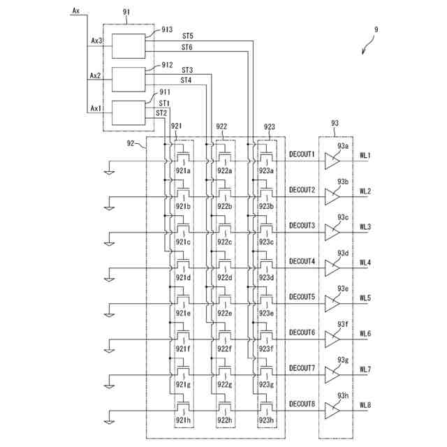
図2は、従来のXデコーダの回路図である。また、
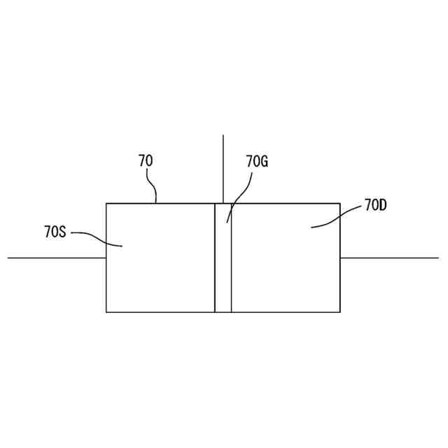
図3は、トランジスタセルを示す図である。
図4は、従来のXデコーダのレイアウト図である。
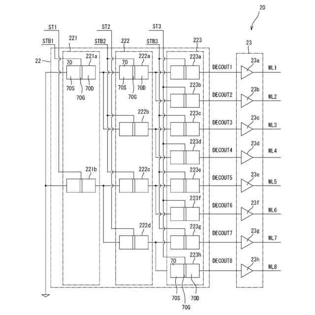
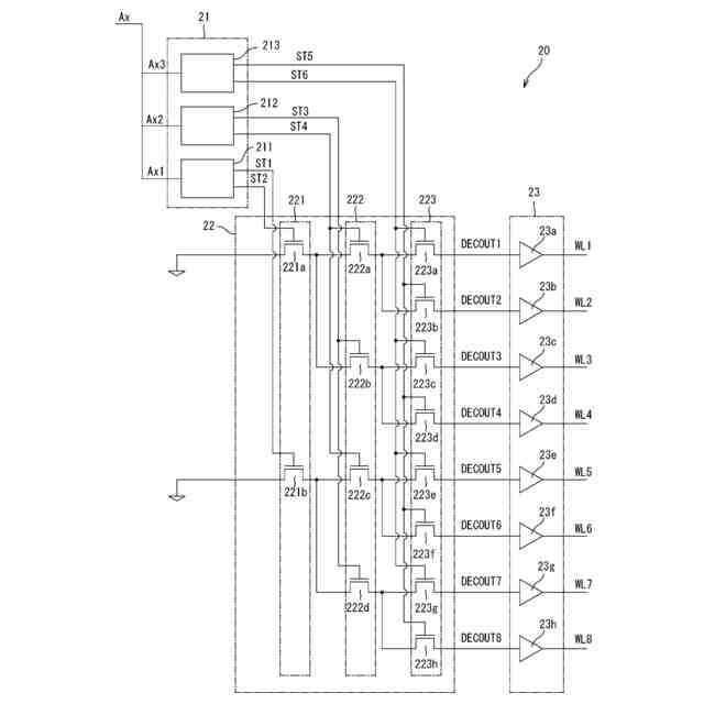
図5は、アドレス指定信号と選択されるワード線の関係を示す図である。
図6は、本実施形態にかかる不揮発性メモリ装置に用いられるXデコーダの回路図である。
図7は、Xデコーダのレイアウト図である。
図8は、第2実施形態の不揮発性メモリ装置に用いられるXデコーダの回路図である
。図9は、Xデコーダの動作状態を示す概略回路図である。
図10は、第3実施形態の不揮発性メモリ装置に用いられるXデコーダのレイアウト図である。
図11は、第4実施形態の不揮発性メモリ装置に用いられるXデコーダのレイアウト図である。
【0007】
[詳細な説明]
本明細書において、MOS(Metal Oxide Semiconductor)電界効果トランジスタとは、ゲートの構造が、「導電体または抵抗値が小さいポリシリコン等の半導体からなる層」、「絶縁層」、及び「P型、N型、又は真性の半導体層」の少なくとも3層からなるトランジスタをいう。つまり、MOS電界効果トランジスタのゲートの構造は、金属、酸化物、及び半導体の3層構造に限定されない。以下、Nチャネル型MOS電界効果トランジスタをNMOSトランジスタと称し、Pチャネル型MOS電界効果トランジスタをPMOSトランジスタと称す。
【0008】
<第1実施形態>
図1は、不揮発性メモリ装置1の全体構成例を示すブロック図である。図1に示す不揮発性メモリ装置1は、メモリアレイ10と、Xデコーダ20と、Yデコーダ30と、制御回路40と、を有する。なお、不揮発性メモリ装置1は、メモリアレイ10と、Xデコーダ20と、Yデコーダ30と、制御回路40と、を1つのパッケージに集積した、IC(Integrated Circuit)として構成されてもよい。
【0009】
メモリアレイ10は、X軸方向に敷設されたm本のワード線WL1~WLmと、Y軸方向に敷設された2n本のビット線BL1~BL2nと、ワード線WL1~WLm及びビット線BL1~BL2nに沿ってマトリクス状に配列された複数(=m×n)のメモリセルCELLと、を有する。メモリアレイ10の構成及び動作については、後ほど詳述する。
【0010】
Xデコーダ(ロウデコーダ)20は、制御回路40からの指示に応じてワード線WL1~WLmを駆動する。Yデコーダ(カラムデコーダ)30は、制御回路40からの指示に応じてビット線BL1~BL2nを駆動する。制御回路40は、装置外部から入力されるコマンドに応じて、装置各部を制御する。
(【0011】以降は省略されています)
この特許をJ-PlatPat(特許庁公式サイト)で参照する
関連特許
ローム株式会社
半導体装置
7日前
ローム株式会社
半導体装置
1日前
ローム株式会社
半導体装置
1日前
ローム株式会社
半導体装置
14日前
ローム株式会社
半導体装置
14日前
ローム株式会社
半導体装置
14日前
ローム株式会社
半導体装置
2日前
ローム株式会社
半導体集積回路
1日前
ローム株式会社
半導体集積回路
1日前
ローム株式会社
半導体集積回路
15日前
ローム株式会社
定電圧生成回路
14日前
ローム株式会社
定電圧生成回路
14日前
ローム株式会社
半導体集積回路
14日前
ローム株式会社
半導体装置および車両
1日前
ローム株式会社
比較回路、半導体装置
14日前
ローム株式会社
サーマルプリントヘッド
14日前
ローム株式会社
逐次比較型AD変換回路
22日前
ローム株式会社
電源制御装置及び電源装置
7日前
ローム株式会社
半導体装置およびシステム
22日前
ローム株式会社
監視回路及びレジスタ制御装置
14日前
ローム株式会社
昇圧型スイッチングレギュレータ
16日前
ローム株式会社
電源制御装置、スイッチング電源
7日前
ローム株式会社
電圧調整装置及び電荷蓄積システム
16日前
ローム株式会社
モータドライバ回路および駆動方法
15日前
ローム株式会社
整流回路およびAC/DCコンバータ
3日前
ローム株式会社
整流回路およびAC/DCコンバータ
3日前
ローム株式会社
整流回路およびAC/DCコンバータ
3日前
ローム株式会社
半導体装置および半導体装置の製造方法
15日前
ローム株式会社
イグナイタおよび内燃機関点火システム
3日前
ローム株式会社
半導体装置、および半導体装置の製造方法
14日前
ローム株式会社
ドライバ、信号伝達装置、電子機器、車両
7日前
ローム株式会社
サーマルプリントヘッド及びその製造方法
14日前
ローム株式会社
検出回路、信号伝達装置、電子機器、車両
14日前
ローム株式会社
コントローラ、ターゲット、及び通信システム
14日前
ローム株式会社
モータドライバ回路およびサーバー冷却システム
1日前
ローム株式会社
雨検出装置、雨検出システム、および、雨検出方法
16日前
続きを見る
他の特許を見る