TOP
|
特許
|
意匠
|
商標
特許ウォッチ
Twitter
他の特許を見る
10個以上の画像は省略されています。
公開番号
2025142709
公報種別
公開特許公報(A)
公開日
2025-10-01
出願番号
2024042220
出願日
2024-03-18
発明の名称
半導体装置
出願人
ローム株式会社
代理人
個人
主分類
H01L
21/52 20060101AFI20250924BHJP(基本的電気素子)
要約
【課題】 半導体素子の接合強度を高めることが可能な半導体装置を提供すること。
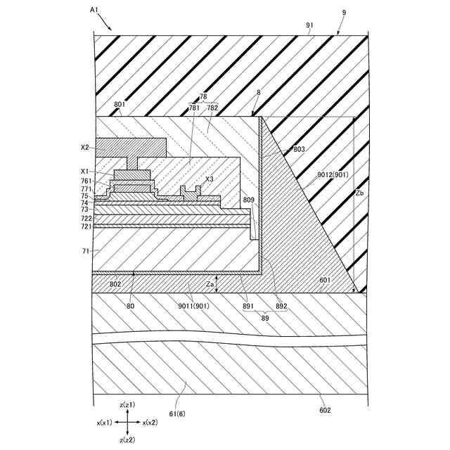
【解決手段】 半導体装置A1は、アイランドリード6と、搭載された半導体素子8と、接合材901と、封止樹脂9とを備える。アイランドリード6は、第1方向zの第1側z1を向く主面601を有する。半導体素子8は、支持層71、複数の機能層73,74,75および絶縁層78を含む素子本体80と金属層89と、を有する。素子本体80は、素子主面801、素子裏面802および1以上の素子側面803を有する。素子側面803は、支持層71および絶縁層78によって構成された部分を含む。金属層89は、底部891と、1以上の側部892と、を含む。接合材901は、底部891および主面601の間に介在する第1部9011と、側部892および主面601の間に介在する第2部9012と、を含む。
【選択図】 図13
特許請求の範囲
【請求項1】
アイランドリードと、
前記アイランドリードに搭載された半導体素子と、
前記アイランドリードおよび前記半導体素子の間に介在する接合材と、
前記半導体素子および前記接合材と前記アイランドリードの少なくとも一部とを覆う封止樹脂とを備え、
前記アイランドリードは、第1方向の第1側を向く主面を有し、
前記半導体素子は、支持層、前記支持層上に積層された複数の機能層および前記複数の機能層を覆う絶縁層を含む素子本体と金属層と、を有し、
前記素子本体は、前記第1方向の第1側を向く素子主面、第2側を向く素子裏面および前記第1方向と交差する方向を向く1以上の素子側面を有し、
前記素子側面は、前記支持層および前記絶縁層によって構成された部分を含み、
前記金属層は、前記素子裏面の少なくとも一部を覆う底部と、各々が前記1以上の素子側面のうち前記支持層および前記絶縁層によって構成された部分の少なくとも一部ずつを覆う1以上の側部と、を含み、
前記接合材は、前記底部および前記主面の間に介在する第1部と、前記側部および前記主面の間に介在する1以上の第2部と、を含む、半導体装置。
続きを表示(約 620 文字)
【請求項2】
前記半導体素子は、前記素子主面に配置されたドレイン電極、ソース電極およびゲート電極を含むHEMT構造である、請求項1に記載の半導体装置。
【請求項3】
前記複数の機能層は、窒化物半導体を含む、請求項2に記載の半導体装置。
【請求項4】
前記側部は、前記素子側面のうち前記支持層によって構成された部分のすべてを覆う、請求項1に記載の半導体装置。
【請求項5】
前記側部は、前記素子側面のうち前記絶縁層によって構成された部分のすべてを覆う、請求項4に記載の半導体装置。
【請求項6】
前記側部は、前記素子側面および前記素子主面の境界に接する、請求項5に記載の半導体装置。
【請求項7】
前記側部は、前記前記素子側面のうち前記絶縁層によって構成された部分の一部を覆う、請求項4に記載の半導体装置。
【請求項8】
前記第2部は、前記側部のすべてを覆う、請求項1に記載の半導体装置。
【請求項9】
前記第2部は、前記側部の一部を覆う、請求項1に記載の半導体装置。
【請求項10】
前記素子本体は、前記第1方向の第2側に凹み且つ前記第1方向と交差する方向に開く凹部を有し、
前記凹部には、前記絶縁層の一部が充填されている、請求項1に記載の半導体装置。
(【請求項11】以降は省略されています)
発明の詳細な説明
【技術分野】
【0001】
本開示は、半導体装置に関する。
続きを表示(約 1,700 文字)
【背景技術】
【0002】
特許文献1に開示された半導体装置は、第1リード、半導体素子および封止樹脂を備える。半導体素子は、第1リードに導電性接合材を介して接合されている。
【先行技術文献】
【特許文献】
【0003】
特開2023-073509号公報
【0004】
[概要]
半導体素子および第1リードの接合強度が不十分であると、不具合の原因となりうる。
【0005】
本開示は、上記した事情のもとで考え出されたものであって、半導体素子の接合強度を高めることが可能な半導体装置を提供することをその課題とする。
【0006】
本開示によって提供される半導体装置は、アイランドリードと、前記アイランドリードに搭載された半導体素子と、前記アイランドリードおよび前記半導体素子の間に介在する接合材と、前記半導体素子および前記接合材と前記アイランドリードの少なくとも一部とを覆う封止樹脂とを備え、前記アイランドリードは、第1方向の第1側を向く主面を有し、前記半導体素子は、支持層、前記支持層上に積層された複数の機能層および前記複数の機能層を覆う絶縁層を含む素子本体と金属層と、を有し、前記素子本体は、前記第1方向の第1側を向く素子主面、第2側を向く素子裏面および前記第1方向と交差する方向を向く1以上の素子側面を有し、前記素子側面は、前記支持層および前記絶縁層によって構成された部分を含み、前記金属層は、前記素子裏面の少なくとも一部を覆う底部と、各々が前記1以上の素子側面のうち前記支持層および前記絶縁層によって構成された部分の少なくとも一部ずつを覆う側部と、を含み、前記接合材は、前記底部および前記主面の間に介在する第1部と、前記側部および前記主面の間に介在する1以上の第2部と、を含む。
【0007】
本開示のその他の特徴および利点は、添付図面を参照して以下に行う詳細な説明によって、より明らかとなろう。
【図面の簡単な説明】
【0008】
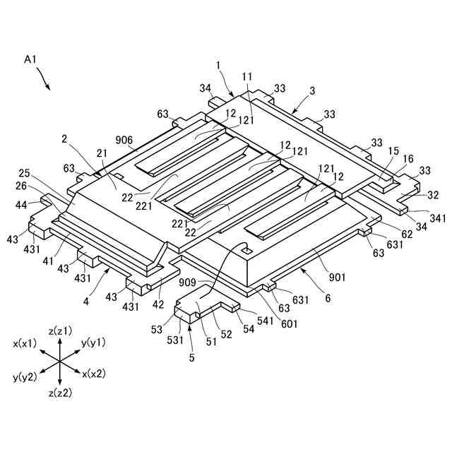
図1は、本開示の第1実施形態に係る半導体装置を示す部分分解斜視図である。
図2は、本開示の第1実施形態に係る半導体装置を示す平面図である。
図3は、本開示の第1実施形態に係る半導体装置を示す部分平面図である。
図4は、本開示の第1実施形態に係る半導体装置を示す底面図である。
図5は、本開示の第1実施形態に係る半導体装置を示す正面図である。
図6は、本開示の第1実施形態に係る半導体装置を示す背面図である。
図7は、本開示の第1実施形態に係る半導体装置を示す左側面図である。
図8は、本開示の第1実施形態に係る半導体装置を示す右側面図である。
図9は、図2のIX-IX線に沿う断面図である。
図10は、図2のX-X線線に沿う断面図である。
図11は、図2のXI-XI線に沿う断面図である。
図12は、図2のXII-XII線に沿う断面図である。
図13は、本開示の第1実施形態に係る半導体装置を示す部分拡大断面図である。
図14は、本開示の第1実施形態に係る半導体装置の第1変形例を示す部分拡大断面図である。
図15は、本開示の第1実施形態に係る半導体装置の第2変形例を示す部分拡大断面図である。
図16は、本開示の第2実施形態に係る半導体装置を示す部分拡大断面図である。
図17は、本開示の第3実施形態に係る半導体装置を示す部分拡大断面図である。
図18は、本開示の第4実施形態に係る半導体装置を示す平面図である。
【0009】
[詳細な説明]
以下、本開示の好ましい実施の形態につき、図面を参照して具体的に説明する。
【0010】
本開示における「第1」、「第2」、「第3」等の用語は、単に識別のために用いたものであり、それらの対象物に順列を付することを意図していない。
(【0011】以降は省略されています)
この特許をJ-PlatPat(特許庁公式サイト)で参照する
関連特許
ローム株式会社
光センサ
8日前
ローム株式会社
半導体装置
9日前
ローム株式会社
半導体装置
今日
ローム株式会社
抵抗チップ
1日前
ローム株式会社
半導体装置
1日前
ローム株式会社
半導体装置
8日前
ローム株式会社
半導体装置
8日前
ローム株式会社
半導体装置
2日前
ローム株式会社
半導体装置
2日前
ローム株式会社
半導体装置
今日
ローム株式会社
窒化物半導体装置
1日前
ローム株式会社
半導体パッケージ
1日前
ローム株式会社
自己診断システム
3日前
ローム株式会社
電流生成回路、半導体装置、電子機器及び車両
7日前
ローム株式会社
モータドライバ回路およびハードディスク装置
3日前
ローム株式会社
圧電アクチュエータ及び圧電アクチュエータの駆動方法
7日前
ローム株式会社
半導体装置
7日前
ローム株式会社
半導体装置
2日前
ローム株式会社
テラヘルツ装置
今日
ローム株式会社
SiC半導体装置
2日前
ローム株式会社
基板部品、および、半導体装置
9日前
ローム株式会社
半導体ユニット、バッテリユニット、及び車両
7日前
ローム株式会社
半導体素子、半導体回路、半導体装置、モータシステム、電気機器、及びプリンタ
7日前
APB株式会社
蓄電セル
今日
東ソー株式会社
絶縁電線
2日前
個人
フレキシブル電気化学素子
14日前
ローム株式会社
半導体装置
16日前
日新イオン機器株式会社
イオン源
10日前
ローム株式会社
半導体装置
21日前
株式会社ユーシン
操作装置
14日前
ローム株式会社
半導体装置
1日前
株式会社GSユアサ
蓄電設備
14日前
オムロン株式会社
電磁継電器
15日前
株式会社ホロン
冷陰極電子源
8日前
株式会社ホロン
冷陰極電子源
21日前
太陽誘電株式会社
コイル部品
14日前
続きを見る
他の特許を見る