TOP
|
特許
|
意匠
|
商標
特許ウォッチ
Twitter
他の特許を見る
10個以上の画像は省略されています。
公開番号
2025160495
公報種別
公開特許公報(A)
公開日
2025-10-22
出願番号
2025132985,2022132066
出願日
2025-08-08,2018-08-10
発明の名称
SiC半導体装置
出願人
ローム株式会社
代理人
弁理士法人あい特許事務所
主分類
H10D
8/60 20250101AFI20251015BHJP()
要約
【課題】改質層に起因するSiC半導体チップへの影響を低減できるSiC半導体装置を提供する。
【解決手段】SiC半導体装置1は、SiC半導体基板6およびSiCエピタキシャル層7を含む積層構造を有し、SiCエピタキシャル層6によって形成された第1主面3(素子形成面)、ならびに、SiC半導体基板6およびSiCエピタキシャル層7によって形成された側面5A~5Dを有するSiC半導体層2(SiC半導体チップ)と、側面5A~5DにおいてSiCエピタキシャル層7から間隔を空けてSiC半導体基板6からなる部分に形成され、SiC半導体基板6とは異なる性質に改質された改質層22A~22D(改質層)と、を含む。
【選択図】図3
特許請求の範囲
【請求項1】
六方晶からなるSiC単結晶を含み、一方側の第1主面、他方側の第2主面および側面を有するSiCチップと、
前記SiCチップにおいて前記側面から露出するSiC半導体基板と、
前記SiC半導体基板の基板主面の上に積層され、前記第1主面および前記側面から露出するように前記第1主面の表層部に形成されたSiCエピタキシャル層と、
前記第1主面の周縁部において前記第1主面の表層部に形成されたpn接続領域と、
前記pn接続領域の深さ位置から前記第2主面側に間隔を空けて前記側面に形成され、SiCとは異なる性質に改質された改質ラインと、
前記第1主面の周縁部を除く領域を選択的に被覆し、前記第1主面の周縁部を露出させる絶縁膜と、を含み、
前記側面が、前記SiC単結晶のa面に面する第1側面および前記SiC単結晶のm面に面する第2側面を有し、
前記改質ラインが、前記第1側面に形成された第1改質ラインと、前記第2側面に形成された第2改質ラインと、を含み、
前記第1改質ラインおよび前記第2改質ラインが、前記第1主面の表層部において前記SiCエピタキシャル層を露出させるように、前記SiC半導体基板に形成されており、 前記絶縁膜は、前記SiCエピタキシャル層が露出する前記第1側面から内方に間隔を空けて形成された第1絶縁側面と、前記SiCエピタキシャル層が露出する前記第2側面から内方に間隔を空けて形成された第2絶縁側面と、を含み、
前記第1側面における前記第1改質ラインの形状と、前記第2側面における前記第2改質ラインの形状とが互いに異なっており、
前記第1改質ラインが、前記第1主面の接線方向に沿って帯状に延びており、
前記第2改質ラインが、前記第1主面の接線方向に対し傾斜した部分を有する、SiC半導体装置。
続きを表示(約 1,800 文字)
【請求項2】
六方晶からなるSiC単結晶を含み、一方側の第1主面、他方側の第2主面および側面を有するSiCチップと、
前記SiCチップにおいて前記側面から露出するSiC半導体基板と、
前記SiC半導体基板の基板主面の上に積層され、前記第1主面および前記側面から露出するように前記第1主面の表層部に形成されたSiCエピタキシャル層と、
前記第1主面の周縁部において前記第1主面の表層部に形成されたpn接続領域と、
前記pn接続領域の深さ位置から前記第2主面側に間隔を空けて前記側面に形成され、SiCとは異なる性質に改質された改質ラインと、
前記第1主面の周縁部を除く領域を選択的に被覆し、前記第1主面の周縁部を露出させる絶縁膜と、を含み、
前記側面が、前記SiC単結晶のa面に面する第1側面および前記SiC単結晶のm面に面する第2側面を有し、
前記改質ラインが、前記第1側面に形成された第1改質ラインと、前記第2側面に形成された第2改質ラインと、を含み、
前記第1改質ラインおよび前記第2改質ラインが、前記第1主面の表層部において前記SiCエピタキシャル層を露出させるように、前記SiC半導体基板に形成されており、 前記絶縁膜は、前記SiCエピタキシャル層が露出する前記第1側面から内方に間隔を空けて形成された第1絶縁側面と、前記SiCエピタキシャル層が露出する前記第2側面から内方に間隔を空けて形成された第2絶縁側面と、を含み、
前記第1側面における前記第1改質ラインの形状と、前記第2側面における前記第2改質ラインの形状とが互いに異なっており、
前記第1改質ラインが、前記第1主面の接線方向に沿って帯状に延びており、
前記第2改質ラインが、前記第1主面の接線方向に対し蛇行した帯状に形成されている、SiC半導体装置。
【請求項3】
前記第1改質ラインが、複数の第1改質ラインを含み、
前記第2改質ラインが、前記第1改質ラインの個数未満の個数で形成された1つまたは複数の第2改質ラインを含む、請求項1または2に記載のSiC半導体装置。
【請求項4】
前記第1改質ラインおよび前記第2改質ラインが、前記第1主面の接線方向に沿って帯状に延びており、
前記第1改質ラインおよび前記第2改質ラインが、前記第1主面の法線方向に関して互いにずれて形成されている、請求項1~3のいずれか一項に記載のSiC半導体装置。
【請求項5】
前記pn接続領域は、前記側面から前記第1主面の内方に間隔を空けて形成されている、請求項1~4のいずれか一項に記載のSiC半導体装置。
【請求項6】
前記第1主面の内方部に設けられたアクティブ領域と、
前記第1主面の周縁部に設けられた外側領域と、をさらに含み、
前記pn接続領域は、前記外側領域に形成されている、請求項1~5のいずれか一項に記載のSiC半導体装置。
【請求項7】
前記アクティブ領域の前記第1主面に形成されたダイオード構造をさらに含む、請求項6に記載のSiC半導体装置。
【請求項8】
前記ダイオード構造は、
前記アクティブ領域の前記第1主面の表層部に形成されたダイオード領域と、
前記第1主面の上で前記ダイオード領域に電気的に接続された電極と、を含む、請求項7に記載のSiC半導体装置。
【請求項9】
前記アクティブ領域の前記第1主面に形成された電界効果型のトランジスタ構造をさらに含む、請求項6に記載のSiC半導体装置。
【請求項10】
前記第1主面および前記側面から露出するように前記第1主面の表層部に形成された第1導電型の半導体領域と、
前記第1主面の周縁部において前記半導体領域の表層部に形成され、前記半導体領域と前記pn接続領域を形成する第2導電型の不純物領域と、をさらに含み、
前記改質ラインは、前記不純物領域の底部の深さ位置から前記第2主面側に間隔を空けて前記側面に形成されている、請求項1~9のいずれか一項に記載のSiC半導体装置。
(【請求項11】以降は省略されています)
発明の詳細な説明
【技術分野】
【0001】
本発明は、SiC半導体装置に関する。
続きを表示(約 4,300 文字)
【背景技術】
【0002】
近年、ステルスダイシング法と称されるSiC半導体ウエハの加工方法が注目されている。ステルスダイシング法では、SiC半導体ウエハにレーザ光が選択的に照射された後、レーザ光が照射された部分に沿ってSiC半導体ウエハが切断される。この方法によれば、ダイシングブレード等の切断部材を用いずに、比較的高い硬度を有するSiC半導体ウエハを切断できるので、製造時間を短縮できる。
【0003】
特許文献1は、ステルスダイシング法を利用したSiC半導体装置の製造方法を開示している。特許文献1の製造方法では、SiC半導体ウエハから切り出されたSiC半導体チップ(SiC半導体層)の各側面の全域に複数列の改質領域(改質層)が形成される。複数列の改質領域(改質層)は、SiC半導体チップの主面の接線方向に沿って延び、SiC半導体チップの主面の法線方向に間隔を空けて形成される。
【先行技術文献】
【特許文献】
【0004】
特開2012-146878号公報
【発明の概要】
【発明が解決しようとする課題】
【0005】
改質層は、SiC単結晶を他の性質に改質させることによって形成される。そのため、改質層に起因するSiC半導体チップ(SiC半導体層)への影響を考慮すると、SiC半導体チップの側面の全域に複数の改質層が形成されることは望ましいとはいえない。改質層に起因するSiC半導体チップへの影響としては、改質層に起因するSiC半導体チップの電気的特性の変動や、改質層を起点とするSiC半導体チップのクラックの発生等が例示される。
【0006】
本発明の一実施形態は、改質層に起因するSiC半導体チップへの影響を低減できるSiC半導体装置を提供する。
【課題を解決するための手段】
【0007】
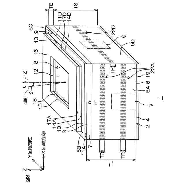
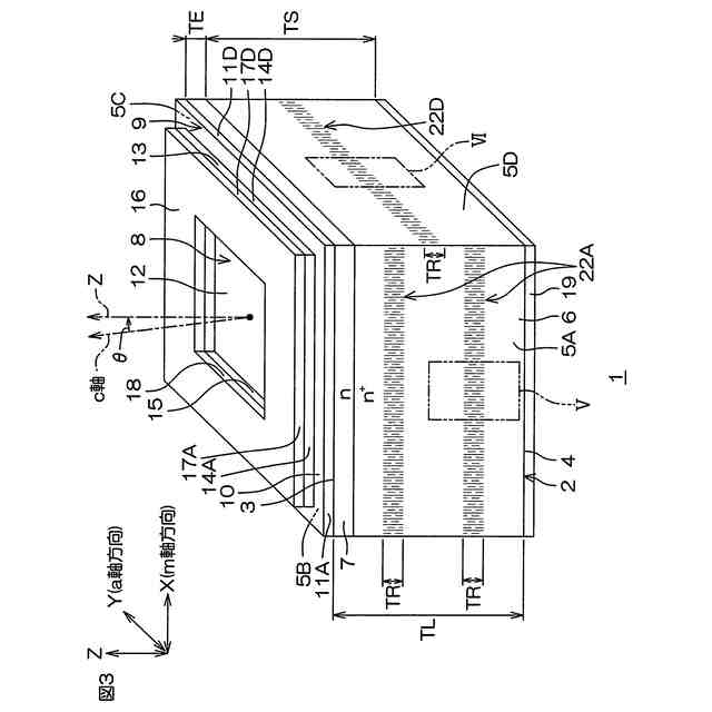
本発明の一実施形態は、SiC半導体基板およびSiCエピタキシャル層を含む積層構造を有し、前記SiCエピタキシャル層によって形成された素子形成面、ならびに、前記SiC半導体基板および前記SiCエピタキシャル層によって形成された側面を有するSiC半導体チップと、前記側面において前記SiCエピタキシャル層から間隔を空けて前記SiC半導体基板からなる部分に形成され、前記SiC半導体基板とは異なる性質に改質された改質層と、を含む、SiC半導体装置を提供する。この構造によれば、改質層に起因するSiC半導体チップへの影響、とりわけ、素子形成面を形成するSiCエピタキシャル層への影響を低減できる。
【0008】
本発明の一実施形態は、素子形成面としての第1主面、前記第1主面の反対側の第2主面、および、側面を有するSiC半導体チップと、前記第1主面および前記側面から露出するように前記第1主面の表層部に形成された第1導電型の第1不純物領域と、前記第1不純物領域の第1導電型不純物濃度を超える第1導電型不純物濃度を有し、前記第2主面および前記側面から露出し、かつ、前記第1不純物領域に電気的に接続されるように前記第1不純物領域に対して前記第2主面側の領域に形成された第1導電型の第2不純物領域と、前記側面において前記第1不純物領域から間隔を空けて前記第2不純物領域が露出する部分に形成され、前記SiC半導体チップとは異なる性質に改質された改質層と、を含む、SiC半導体装置を提供する。この構造によれば、改質層に起因するSiC半導体チップへの影響、とりわけ、第1不純物領域が露出した素子形成面への影響を低減できる。
【0009】
本発明の一実施形態は、六方晶からなるSiC単結晶を含み、一方側の第1主面、他方側の第2主面および側面を有するSiCチップと、前記SiCチップにおいて前記側面から露出するSiC半導体基板と、前記SiC半導体基板の基板主面の上に積層され、前記第1主面および前記側面から露出するように前記第1主面の表層部に形成されたSiCエピタキシャル層と、前記第1主面の周縁部において前記第1主面の表層部に形成されたpn接続領域と、前記pn接続領域の深さ位置から前記第2主面側に間隔を空けて前記側面に形成され、SiCとは異なる性質に改質された改質ラインと、前記第1主面の周縁部を除く領域を選択的に被覆し、前記第1主面の周縁部を露出させる絶縁膜と、を含む、半導体装置を含む。前記側面が、前記SiC単結晶のa面に面する第1側面および前記SiC単結晶のm面に面する第2側面を有していてもよい。前記改質ラインが、前記第1側面に形成された第1改質ラインと、前記第2側面に形成された第2改質ラインと、を含んでいてもよい。前記第1改質ラインおよび前記第2改質ラインが、前記第1主面の表層部において前記SiCエピタキシャル層を露出させるように、前記SiC半導体基板に形成されていてもよい。前記絶縁膜は、前記SiCエピタキシャル層が露出する前記第1側面から内方に間隔を空けて形成された第1絶縁側面と、前記SiCエピタキシャル層が露出する前記第2側面から内方に間隔を空けて形成された第2絶縁側面と、を含んでいてもよい。前記第1側面における前記第1改質ラインの形状と、前記第2側面における前記第2改質ラインの形状とが互いに異なっていてもよい。前記第1改質ラインが、前記第1主面の接線方向に沿って帯状に延びており、前記第2改質ラインが、前記第1主面の接線方向に対し傾斜した部分を有していてもよい。前記第1改質ラインが、前記第1主面の接線方向に沿って帯状に延びており、前記第2改質ラインが、前記第1主面の接線方向に対し蛇行した帯状に形成されていてもよい。
【図面の簡単な説明】
【0010】
図1は、本発明の実施形態に適用される4H-SiC単結晶の単位セルを示す図である。
図2は、図1に示す4H-SiC単結晶の単位セルのシリコン面を示す平面図である。
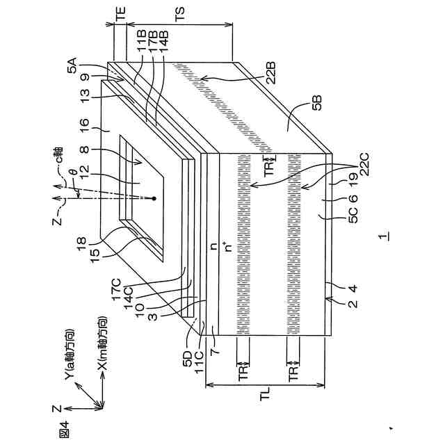
図3は、本発明の第1実施形態に係るSiC半導体装置を1つの角度から見た斜視図であって、改質ラインの第1形態例を示す斜視図である。
図4は、図3に示すSiC半導体装置を別の角度から見た斜視図である。
図5は、図3に示す領域Vの拡大図である。
図6は、図3に示す領域VIの拡大図である。
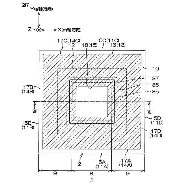
図7は、図3に示すSiC半導体装置の平面図である。
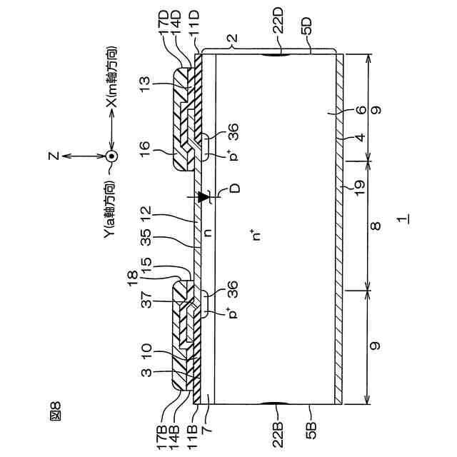
図8は、図7に示すVIII-VIII線に沿う断面図である。
図9は、図3に示すSiC半導体装置の製造に使用されるSiC半導体ウエハを示す斜視図である。
図10Aは、図3に示すSiC半導体装置の製造方法の一例を示す断面図である。
図10Bは、図10Aの後の工程を示す図である。
図10Cは、図10Bの後の工程を示す図である。
図10Dは、図10Cの後の工程を示す図である。
図10Eは、図10Dの後の工程を示す図である。
図10Fは、図10Eの後の工程を示す図である。
図10Gは、図10Fの後の工程を示す図である。
図10Hは、図10Gの後の工程を示す図である。
図10Iは、図10Hの後の工程を示す図である。
図10Jは、図10Iの後の工程を示す図である。
図10Kは、図10Jの後の工程を示す図である。
図10Lは、図10Kの後の工程を示す図である。
図10Mは、図10Lの後の工程を示す図である。
図11は、図3に示すSiC半導体装置が組み込まれた半導体パッケージを、封止樹脂を透過して示す斜視図である。
図12Aは、図3に示すSiC半導体装置を示す斜視図であって、改質ラインの第2形態例を示す斜視図である。
図12Bは、図3に示すSiC半導体装置を示す斜視図であって、改質ラインの第3形態例を示す斜視図である。
図12Cは、図3に示すSiC半導体装置を示す斜視図であって、改質ラインの第4形態例を示す斜視図である。
図12Dは、図3に示すSiC半導体装置を示す斜視図であって、改質ラインの第5形態例を示す斜視図である。
図12Eは、図3に示すSiC半導体装置を示す斜視図であって、改質ラインの第6形態例を示す斜視図である。
図12Fは、図3に示すSiC半導体装置を示す斜視図であって、改質ラインの第7形態例を示す斜視図である。
図12Gは、図3に示すSiC半導体装置を示す斜視図であって、改質ラインの第8形態例を示す斜視図である。
図13は、本発明の第2実施形態に係るSiC半導体装置を示す斜視図であって、第1形態例に係る改質ラインが適用された構造を示す斜視図である。
図14は、本発明の第3実施形態に係るSiC半導体装置を1つの角度から見た斜視図であって、第1形態例に係る改質ラインが適用された構造を示す斜視図である。
図15は、図14に示すSiC半導体装置を別の角度から見た斜視図である。
図16は、図14に示すSiC半導体装置を示す平面図である。
図17は、図16から樹脂層を取り除いた平面図である。
図18は、図17に示す領域XVIIIの拡大図であって、SiC半導体層の第1主面の構造を説明するための図である。
図19は、図18に示すXIX-XIX線に沿う断面図である。
図20は、図18に示すXX-XX線に沿う断面図である。
図21は、図19に示す領域XXIの拡大図である。
図22は、図17に示すXXII-XXII線に沿う断面図である。
図23は、図22に示す領域XXIIIの拡大図である。
図24は、シート抵抗を説明するためのグラフである。
図25は、図18に対応する領域の拡大図であって、本発明の第4実施形態に係るSiC半導体装置を示す拡大図である。
図26は、図25に示すXXVI-XXVI線に沿う断面図である。
図27は、図21に対応する領域の拡大図であって、本発明の第5実施形態に係るSiC半導体装置を示す拡大図である。
図28は、図18に対応する領域の拡大図であって、本発明の第6実施形態に係るSiC半導体装置を示す拡大図である。
【発明を実施するための形態】
(【0011】以降は省略されています)
この特許をJ-PlatPat(特許庁公式サイト)で参照する
関連特許
ローム株式会社
半導体装置
23日前
ローム株式会社
半導体装置
9日前
ローム株式会社
半導体装置
23日前
ローム株式会社
半導体装置
24日前
ローム株式会社
抵抗チップ
24日前
ローム株式会社
半導体装置
4日前
ローム株式会社
半導体装置
4日前
ローム株式会社
半導体装置
9日前
ローム株式会社
半導体装置
9日前
ローム株式会社
信号伝達装置
4日前
ローム株式会社
電源制御装置
4日前
ローム株式会社
半導体集積回路
18日前
ローム株式会社
半導体パッケージ
24日前
ローム株式会社
半導体メモリ装置
11日前
ローム株式会社
窒化物半導体装置
24日前
ローム株式会社
モータドライバ回路
4日前
ローム株式会社
半導体装置、電子機器、車両
18日前
ローム株式会社
半導体装置、電子機器、車両
18日前
ローム株式会社
信号受信装置、IC及び電気機器
2日前
ローム株式会社
電圧電流変換回路および半導体集積回路
18日前
ローム株式会社
半導体装置および半導体装置の製造方法
9日前
ローム株式会社
パルス幅変調回路およびモータ駆動装置
18日前
ローム株式会社
半導体装置、および半導体装置の製造方法
2日前
ローム株式会社
半導体装置、および半導体装置の製造方法
9日前
ローム株式会社
力率改善回路、制御装置、および電子機器
9日前
ローム株式会社
電源制御装置、DC/DCコンバータ、および車両
19日前
ローム株式会社
三相ブラシレスモータのドライバ回路および駆動方法
11日前
ローム株式会社
半導体装置
19日前
ローム株式会社
半導体装置
17日前
ローム株式会社
テラヘルツ装置
23日前
ローム株式会社
半導体装置、マルチフェーズDC/DCコンバータ及び電源装置
2日前
ローム株式会社
SiC半導体装置
11日前
ローム株式会社
半導体モジュール
4日前
ローム株式会社
SiC半導体装置
25日前
ローム株式会社
半導体装置、および半導体装置の製造方法
19日前
ローム株式会社
半導体装置、および半導体装置の製造方法
11日前
続きを見る
他の特許を見る