TOP
|
特許
|
意匠
|
商標
特許ウォッチ
Twitter
他の特許を見る
10個以上の画像は省略されています。
公開番号
2025161860
公報種別
公開特許公報(A)
公開日
2025-10-24
出願番号
2025134835,2022540146
出願日
2025-08-13,2021-07-13
発明の名称
テラヘルツ装置
出願人
ローム株式会社
代理人
個人
,
個人
主分類
H01Q
19/13 20060101AFI20251017BHJP(基本的電気素子)
要約
【課題】テラヘルツ装置のアンテナ利得を向上させること。
【解決手段】テラヘルツ装置10は、テラヘルツ素子50と、反射体40と、を備える。テラヘルツ素子50は、素子主面51と、素子主面51と反対側を向く素子裏面52とを有する。テラヘルツ素子50は、テラヘルツ帯の電磁波を発し、かつ素子主面51と直交する方向をz方向とする。反射体40は、素子主面51に対してz方向に間隔をあけて対向する位置に配置される。反射体40は、反射面47aを有する。反射面47aは、テラヘルツ素子50がz方向に向けて発する電磁波をz方向と交差する方向に反射させる。
【選択図】図4
特許請求の範囲
【請求項1】
素子主面と、前記素子主面と反対側を向く素子裏面とを有し、テラヘルツ帯の電磁波を発し、かつ前記素子主面と直交する方向を厚さ方向とするテラヘルツ素子と、
前記素子主面に対して前記厚さ方向に間隔をあけて対向する位置に配置され、前記テラヘルツ素子が前記厚さ方向に向けて発する電磁波を前記厚さ方向と交差する方向に反射させる反射面を有する反射体と、を備えている、
テラヘルツ装置。
続きを表示(約 1,000 文字)
【請求項2】
前記テラヘルツ素子は、テラヘルツ帯の電磁波を発振する発振点に、前記電磁波と電気エネルギーとの変換を行う能動素子を有している、
請求項1に記載のテラヘルツ装置。
【請求項3】
前記テラヘルツ素子は、前記能動素子に接続されており、前記素子主面と直交しかつ前記反射面に向かう方向を前記電磁波の放射方向とするアンテナを備えている、
請求項2に記載のテラヘルツ装置。
【請求項4】
前記能動素子は、共鳴トンネルダイオード、タンネットダイオード、インパッドダイオード、GaAs系電界効果トランジスタ、GaN系FET、高電子移動度トランジスタ、およびヘテロ接合バイポーラトランジスタのいずれかである、
請求項2に記載のテラヘルツ装置。
【請求項5】
前記アンテナは、ダイポールアンテナ、ボータイアンテナ、スロットアンテナ、パッチアンテナ、およびリングアンテナのいずれかである、
請求項3に記載のテラヘルツ装置。
【請求項6】
基板主面を有する支持基板を備え、
前記テラヘルツ素子は、前記素子主面が前記基板主面と同じ側を向くように前記基板主面に搭載されており、
前記基板主面には、前記テラヘルツ素子に接続される伝送線路が設けられている、
請求項1~5のいずれか一項に記載のテラヘルツ装置。
【請求項7】
前記テラヘルツ素子は、ワイヤによって前記伝送線路に接続されている、
請求項6に記載のテラヘルツ装置。
【請求項8】
前記テラヘルツ素子は、バンプによって前記伝送線路に接続されている、
請求項6に記載のテラヘルツ装置。
【請求項9】
前記伝送線路は、コプレーナ線路、マイクロストリップ線路、ストリップ線路、およびスロット線路のいずれかである、
請求項6~8のいずれか一項に記載のテラヘルツ装置。
【請求項10】
前記テラヘルツ素子が搭載された、基板主面を有する支持基板と、
前記基板主面に搭載されており、前記電磁波を伝送する伝送領域を有する導波管と、を備え、
前記テラヘルツ素子は、
前記電磁波を発振する発振点と、前記電磁波を放射する放射点と、を前記素子主面に有しており、かつ
前記放射点を前記伝送領域の中心に位置するように配置されている、
請求項1~9のいずれか一項に記載のテラヘルツ装置。
(【請求項11】以降は省略されています)
発明の詳細な説明
【技術分野】
【0001】
本開示は、テラヘルツ装置に関する。
続きを表示(約 2,300 文字)
【背景技術】
【0002】
近年、トランジスタなどの電子デバイスの微細化が進み、電子デバイスの大きさがナノサイズになってきたため、量子効果と呼ばれる現象が観測されるようになっている。そして、この量子効果を利用した超高速デバイスや新機能デバイスの実現を目指した開発が進められている。
【0003】
そのような環境の中で、特に、周波数が0.1THz~10THzであるテラヘルツ帯と呼ばれる周波数領域の電磁波を利用して大容量通信や情報処理、あるいはイメージングや計測などを行う試みが行われている。この周波数領域は、光と電波との両方の特性を兼ね備えており、この周波数帯で動作するデバイスが実現されれば、上述したイメージング、大容量通信・情報処理のほか、物性、天文、生物などの様々な分野における計測など、多くの用途に利用されうる。
【0004】
テラヘルツ帯の周波数の電磁波を発する素子または受信する素子としては、たとえば共鳴トンネルダイオードと微細スロットアンテナを集積する構造のものが知られている(たとえば特許文献1参照)。そして、たとえば、特許文献2のテラヘルツ装置は、特許文献1のような素子をパッケージ化した構成が開示されている。
【先行技術文献】
【特許文献】
【0005】
特開2016-111542号公報
特開2019-75544号公報
【0006】
[概要]
ところで、従来のテラヘルツ装置に対して、アンテナ利得の向上について改善の余地がある。
【0007】
本開示の一態様のテラヘルツ装置は、素子主面と、前記素子主面と反対側を向く素子裏面とを有し、テラヘルツ帯の電磁波を発し、かつ前記素子主面と直交する方向を厚さ方向とするテラヘルツ素子と、前記素子主面に対して前記厚さ方向に間隔をあけて対向する位置に配置され、前記テラヘルツ素子が前記厚さ方向に向けて発する電磁波を前記厚さ方向と交差する方向に反射させる反射面を有する反射体と、を備えている。
【図面の簡単な説明】
【0008】
図1は、第1実施形態のテラヘルツ装置の斜視図である。
図2は、図1のテラヘルツ装置から反射体を省略した状態の平面図である。
図3は、図2のテラヘルツ装置から導波管を省略した状態の平面図である。
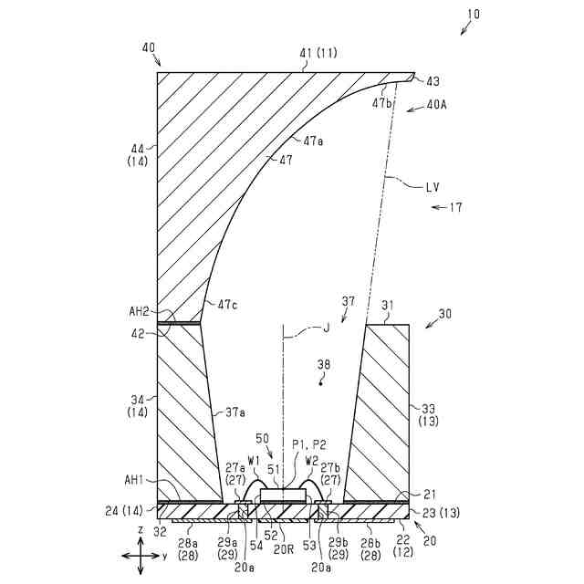
図4は、第1実施形態のテラヘルツ装置の端面構造を示す端面図である。
図5は、図1のテラヘルツ装置の裏面図である。
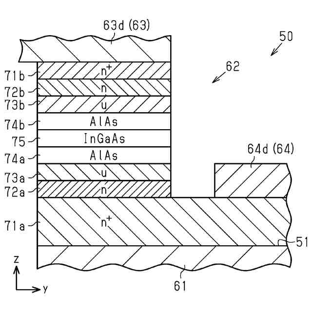
図6は、能動素子およびその周辺を模式的に示す端面図である。
図7は、図6の能動素子の端面構造を拡大して示す端面図である。
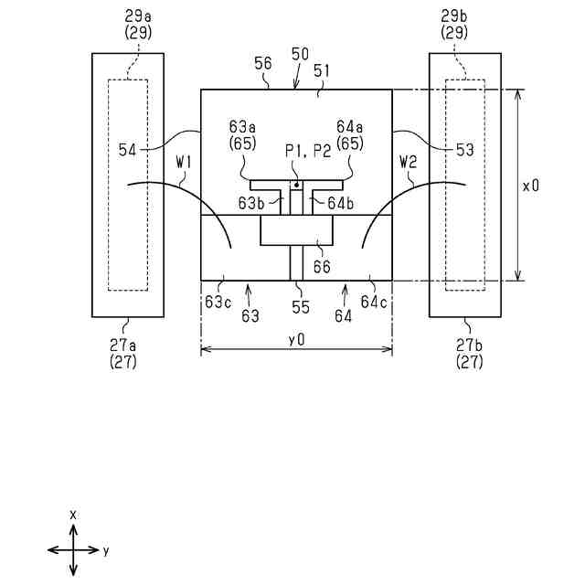
図8は、テラヘルツ素子およびその周辺を拡大して示す平面図である。
図9は、反射体の斜視図である。
図10は、第1実施形態のテラヘルツ装置の図4の端面構造とは異なる方向における端面構造を示す端面図である。
図11は、比較例のテラヘルツ装置の端面図である。
図12は、第2実施形態のテラヘルツ装置の側面図である。
図13は、図12のテラヘルツ装置の分解斜視図である。
図14は、反射体の裏面図である。
図15は、反射体の側面図である。
図16は、反射体の正面図である。
図17は、第2実施形態のテラヘルツ装置の端面構造を示す端面図である。
図18は、第3実施形態のテラヘルツ装置の斜視図である。
図19は、図18のテラヘルツ装置の支持基板の平面図である。
図20は、第3実施形態のテラヘルツ装置の端面構造を示す端面図である。
図21は、第4実施形態のテラヘルツ装置の端面構造を示す端面図である。
図22は、第4実施形態のテラヘルツ装置から反射体および導波管のアンテナ部を省略した平面図である。
図23は、第4実施形態のテラヘルツ装置における位相整合の説明図である。
図24は、変更例のテラヘルツ装置の端面構造を示す端面図である。
図25は、変更例のテラヘルツ装置の端面構造を示す端面図である。
図26は、変更例のテラヘルツ装置の端面構造を示す端面図である。
図27は、変更例のテラヘルツ装置の端面構造を示す端面図である。
図28は、変更例のテラヘルツ装置の端面構造を示す端面図である。
図29は、変更例のテラヘルツ装置の端面構造を示す端面図である。
図30は、変更例のテラヘルツ装置の端面構造のうちテラヘルツ素子およびその周辺を拡大した端面図である。
図31は、変更例のテラヘルツ装置の端面構造のうちテラヘルツ素子およびその周辺を拡大した端面図である。
【0009】
[詳細な説明]
以下、テラヘルツ装置の実施形態について図面を参照して説明する。以下に示す実施形態は、技術的思想を具体化するための構成や方法を例示するものであり、各構成部品の材質、形状、構造、配置、寸法等を下記のものに限定するものではない。以下の実施形態は、種々の変更を加えることができる。
【0010】
[第1実施形態]
図1~図9を参照して、第1実施形態のテラヘルツ装置10について説明する。なお、図2は、テラヘルツ装置10から後述する反射体40を省略した状態の平面図を示している。
(【0011】以降は省略されています)
この特許をJ-PlatPat(特許庁公式サイト)で参照する
関連特許
ローム株式会社
抵抗チップ
27日前
ローム株式会社
半導体装置
12日前
ローム株式会社
半導体装置
26日前
ローム株式会社
半導体装置
26日前
ローム株式会社
半導体装置
7日前
ローム株式会社
半導体装置
7日前
ローム株式会社
半導体装置
12日前
ローム株式会社
半導体装置
12日前
ローム株式会社
信号伝達装置
7日前
ローム株式会社
電源制御装置
7日前
ローム株式会社
半導体集積回路
21日前
ローム株式会社
窒化物半導体装置
27日前
ローム株式会社
半導体メモリ装置
14日前
ローム株式会社
半導体モジュール
今日
ローム株式会社
モータドライバ回路
7日前
ローム株式会社
半導体装置、電子機器、車両
21日前
ローム株式会社
半導体装置、電子機器、車両
21日前
ローム株式会社
信号受信装置、IC及び電気機器
5日前
ローム株式会社
電圧電流変換回路および半導体集積回路
21日前
ローム株式会社
パルス幅変調回路およびモータ駆動装置
21日前
ローム株式会社
半導体装置および半導体装置の製造方法
12日前
ローム株式会社
半導体装置、および半導体装置の製造方法
12日前
ローム株式会社
力率改善回路、制御装置、および電子機器
12日前
ローム株式会社
半導体装置、および半導体装置の製造方法
5日前
ローム株式会社
電源制御装置、DC/DCコンバータ、および車両
22日前
ローム株式会社
三相ブラシレスモータのドライバ回路および駆動方法
14日前
ローム株式会社
半導体装置
20日前
ローム株式会社
半導体装置
22日前
ローム株式会社
テラヘルツ装置
26日前
ローム株式会社
半導体装置、マルチフェーズDC/DCコンバータ及び電源装置
5日前
ローム株式会社
半導体モジュール
7日前
ローム株式会社
SiC半導体装置
14日前
ローム株式会社
半導体装置、および半導体装置の製造方法
22日前
ローム株式会社
半導体装置、および半導体装置の製造方法
14日前
APB株式会社
蓄電セル
26日前
東ソー株式会社
絶縁電線
28日前
続きを見る
他の特許を見る