TOP
|
特許
|
意匠
|
商標
特許ウォッチ
Twitter
他の特許を見る
10個以上の画像は省略されています。
公開番号
2025162754
公報種別
公開特許公報(A)
公開日
2025-10-28
出願番号
2024066157
出願日
2024-04-16
発明の名称
電源制御装置、DC/DCコンバータ、および車両
出願人
ローム株式会社
代理人
弁理士法人 佐野特許事務所
主分類
H02M
3/155 20060101AFI20251021BHJP(電力の発電,変換,配電)
要約
【課題】入力電圧の低下時においてDC/DCコンバータの出力をレギュレーションすること、および、入力電圧の復帰時においてDC/DCコンバータの出力オーバシュートを抑えることを可能とする電源制御装置を提供する。
【解決手段】電源制御装置(2A)は、第2エラーアンプ(12)から出力される第2アンプ出力電圧(Vc)を所定のクランプ電圧(Vclamp)にクランプするように構成されるクランプ回路(20)を備え、スイッチング制御部(16)は、ローサイドトランジスタ(M2)のターンオンのスキップを少なくとも1回のスイッチング周期において行ってハイサイドトランジスタ(M1)のオン状態を維持するスキップ動作が可能であり、前記クランプ回路は、前記スキップ動作中においてクランプを行う。
【選択図】図4
特許請求の範囲
【請求項1】
入力電圧の印加端に第1端が接続されるハイサイドトランジスタと、
前記ハイサイドトランジスタの第2端に第1ノードにおいて第1端が接続されるローサイドトランジスタと、
前記第1ノードに接続されるインダクタと、
を備えるDC/DCコンバータに用いられる電源制御装置であって、
前記DC/DCコンバータの出力電圧に基づく帰還電圧と、第1基準電圧とが入力されるように構成される第1エラーアンプと、
前記第1エラーアンプの出力と、前記インダクタに流れる電流の情報を表す信号が入力されるように構成される第2エラーアンプと、
前記第2エラーアンプの出力と、ランプ電圧が入力されるように構成される第1コンパレータと、
前記第1コンパレータの出力に基づいて前記ハイサイドトランジスタおよび前記ローサイドトランジスタのスイッチング制御を行うように構成されるスイッチング制御部と、
前記第2エラーアンプから出力される第2アンプ出力電圧を所定のクランプ電圧にクランプするように構成されるクランプ回路と、
を備え、
前記スイッチング制御部は、前記ローサイドトランジスタのターンオンのスキップを少なくとも1回のスイッチング周期において行って前記ハイサイドトランジスタのオン状態を維持するスキップ動作が可能であり、
前記クランプ回路は、前記スキップ動作中においてクランプを行う、電源制御装置。
続きを表示(約 1,400 文字)
【請求項2】
前記クランプ回路は、
前記第2アンプ出力電圧と前記クランプ電圧とが入力されるように構成される第1アンプと、
前記第1アンプの出力がゲートに入力され、前記第2アンプ出力電圧の印加端とグランドとの間に接続されるNMOSトランジスタと、
を有する、請求項1に記載の電源制御装置。
【請求項3】
前記第1アンプから出力される論理信号としての制御信号に基づいて前記第1基準電圧が制御される、請求項2に記載の電源制御装置。
【請求項4】
前記第2アンプ出力電圧と前記クランプ電圧とが入力されるように構成される第2アンプと、
分圧抵抗と、
をさらに備え、
前記第2アンプから出力される出力電流は、前記分圧抵抗が接続される第2ノードに対して出力され、
前記第2ノードにおいて前記第1基準電圧が生成される、請求項2に記載の電源制御装置。
【請求項5】
前記クランプ回路は、
前記第2アンプ出力電圧と前記クランプ電圧とが入力されるように構成される第3アンプと、
前記第3アンプから出力される出力信号がゲートに入力され、第2基準電圧の印加端がソースに接続され、前記第1エラーアンプから出力される第1アンプ出力電圧の印加端がドレインに接続されるPMOSトランジスタと、
を有する、請求項1に記載の電源制御装置。
【請求項6】
前記ハイサイドトランジスタのオンオフを表すハイサイドオンオフ信号が入力され、前記第1アンプに対してイネーブル信号を出力するように構成されるクランプ回路制御部をさらに備え、
前記クランプ回路制御部は、前記ハイサイドトランジスタのターンオンから所定の経過時間が経過するまで前記ハイサイドトランジスタのオン状態が維持された場合に前記イネーブル信号をイネーブルに変更する、請求項2に記載の電源制御装置。
【請求項7】
前記クランプ回路制御部は、前記イネーブルへの変更後に、前記ハイサイドトランジスタがターンオフされた後、前記ハイサイドトランジスタのターンオンが所定回数続いた場合に、前記イネーブル信号をディセーブルに変更する、請求項6に記載の電源制御装置。
【請求項8】
軽負荷が検出された場合にスリープ動作に移行させるように構成される軽負荷モード制御部と、
前記クランプ電圧の印加端と前記第1コンパレータの入力端との間に接続されるスイッチと、
をさらに備え、
前記軽負荷モード制御部が前記スリープ動作における前記出力電圧の低下が検出された場合に前記スイッチをオン状態とすることで、前記第1コンパレータによる前記ランプ電圧と前記クランプ電圧との比較に基づいて前記ハイサイドトランジスタをオン状態とさせるためのオンパルスが少なくとも1度生成される、請求項1に記載の電源制御装置。
【請求項9】
前記出力電圧に基づいて前記クランプ電圧を生成するように構成されるクランプ電圧生成回路をさらに備える、請求項8に記載の電源制御装置。
【請求項10】
前記スキップは、所定の最大回数までの可変の回数の前記スイッチング周期で行われる、請求項1に記載の電源制御装置。
(【請求項11】以降は省略されています)
発明の詳細な説明
【技術分野】
【0001】
本開示は、電源制御装置に関する。
続きを表示(約 2,600 文字)
【背景技術】
【0002】
DC/DCコンバータの一種は、互いに直列接続されたハイサイドトランジスタおよびローサイドトランジスタと、それらの接続ノードに接続されたインダクタおよび出力コンデンサを有する整流平滑回路と、備える。ハイサイドトランジスタおよびローサイドトランジスタ間に入力電圧が印加される。ハイサイドトランジスタおよびローサイドトランジスタを交互にオン、オフすることで生じる矩形波状の電圧を、整流平滑回路にて整流および平滑化することで、入力電圧よりも低い出力電圧が得られる。この際、インダクタ電流を参照した電流モード制御が行われることがある。
【先行技術文献】
【特許文献】
【0003】
特開2019-221099号公報
【0004】
[概要]
車載バッテリ駆動機器において、寒冷地などにおいて鉛バッテリの内部インピーダンスが下がり、バッテリ電圧が大きくドロップするコールドクランク現象は一般的に知られている事象である。コールドクランク現象からの復帰時に車載バッテリに直接接続されるDC/DCコンバータの出力オーバシュートを抑えることと、バッテリ出力が低下する際にDC/DCコンバータの出力をできる限りレギュレーションさせることが市場から要求されている。
【0005】
上記状況に鑑み、本開示は、入力電圧の低下時においてDC/DCコンバータの出力をレギュレーションすること、および入力電圧の復帰時においてDC/DCコンバータの出力オーバシュートを抑えることを可能とする電源制御装置を提供することを目的とする。
【0006】
本開示の一態様に係る電源制御装置は、
入力電圧の印加端に第1端が接続されるハイサイドトランジスタと、
前記ハイサイドトランジスタの第2端に第1ノードにおいて第1端が接続されるローサイドトランジスタと、
前記第1ノードに接続されるインダクタと、
を備えるDC/DCコンバータに用いられる電源制御装置であって、
前記DC/DCコンバータの出力電圧に基づく帰還電圧と、第1基準電圧とが入力されるように構成される第1エラーアンプと、
前記第1エラーアンプの出力と、前記インダクタに流れる電流の情報を表す信号が入力されるように構成される第2エラーアンプと、
前記第2エラーアンプの出力と、ランプ電圧が入力されるように構成される第1コンパレータと、
前記第1コンパレータの出力に基づいて前記ハイサイドトランジスタおよび前記ローサイドトランジスタのスイッチング制御を行うように構成されるスイッチング制御部と、
前記第2エラーアンプから出力される第2アンプ出力電圧を所定のクランプ電圧にクランプするように構成されるクランプ回路と、
を備え、
前記スイッチング制御部は、前記ローサイドトランジスタのターンオンのスキップを少なくとも1回のスイッチング周期において行って前記ハイサイドトランジスタのオン状態を維持するスキップ動作が可能であり、
前記クランプ回路は、前記スキップ動作中においてクランプを行う構成としている。
【図面の簡単な説明】
【0007】
図1は、本開示の実施形態に係るDC/DCコンバータの全体構成図である。
図2は、電源ICの外観斜視図を示す図である。
図3は、電源ICを有するDC/DCコンバータの構成を示す。
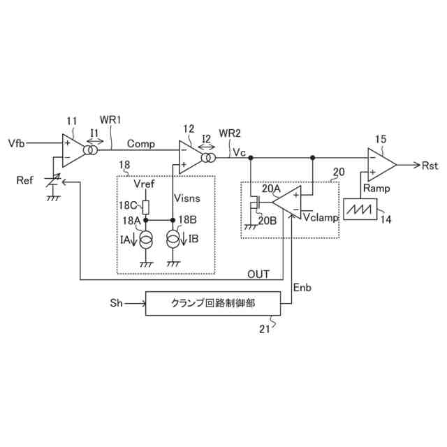
図4は、エラーアンプおよびコンパレータの周辺回路構成の一例を示す図である。
図5は、ランプ電圧、クロック信号、およびゲート信号の波形例を示す図である。
図6は、分周動作に関する処理を示すフローチャートである。
図7は、アンプ出力電圧がクランプ電圧にクランプされた場合での波形例を示す図である。
図8は、入力電圧が低下して復帰した場合の挙動例を示す波形図である。
図9は、アンプ出力電圧のクランプ動作の一例を示すタイミングチャートである。
図10は、クランプ回路制御部の動作に関するフローチャートである。
図11は、クランプ回路制御部の動作例を示す波形図である。
図12は、基準電圧を制御する構成の変形例を示す図である。
図13は、図12に示す構成の動作を模式的に示す波形図である。
図14は、図4の構成の変形例に係る図である。
図15は、軽負荷時を考慮した構成を示す図である。
図16は、軽負荷時の動作例を示すタイミングチャートである。
図17は、スリープ動作からの復帰時における波形例を示す図である。
図18は、クランプ電圧生成回路の構成例を示す図である。
図19は、車両の一例を示す外観図である。
【0008】
[詳細な説明]
以下、本開示の例示的な実施形態について、図面を参照して説明する。
【0009】
<DC/DCコンバータの構成>
図1は、本開示の実施形態に係るDC/DCコンバータ1の全体構成図である。図1のDC/DCコンバータ1は、電源制御装置としての電源IC2と、電源IC2に対して外付け接続される複数のディスクリート部品と、を備え、当該複数のディスクリート部品には、出力コンデンサとしてのコンデンサC1と、ブートコンデンサとしてのコンデンサC2と、帰還抵抗としての抵抗R1およびR2と、インダクタL1とが含まれる。DC/DCコンバータ1は、外部から供給される入力電圧Vinより所望の出力電圧Voutを生成する降圧型のDC/DCコンバータとして構成されている。出力端子OUTに出力電圧Voutが生じる。即ち、出力端子OUTは出力電圧Voutの印加端(出力電圧VoutTが加わる端子)である。出力電圧Voutは出力端子OUTに接続された負荷LDに供給される。
【0010】
入力電圧Vinおよび出力電圧Voutは正の直流電圧であって、出力電圧Voutは入力電圧Vinよりも低い。例えば入力電圧Vinが12Vであるとき、抵抗R1およびR2の抵抗値を調整することで12V未満の所望の目標電圧(例えば5V)にて出力電圧Voutを安定化させることができる。
(【0011】以降は省略されています)
この特許をJ-PlatPat(特許庁公式サイト)で参照する
関連特許
ローム株式会社
抵抗チップ
27日前
ローム株式会社
半導体装置
26日前
ローム株式会社
半導体装置
26日前
ローム株式会社
半導体装置
7日前
ローム株式会社
半導体装置
7日前
ローム株式会社
半導体装置
12日前
ローム株式会社
半導体装置
12日前
ローム株式会社
半導体装置
12日前
ローム株式会社
信号伝達装置
7日前
ローム株式会社
電源制御装置
7日前
ローム株式会社
半導体集積回路
21日前
ローム株式会社
半導体モジュール
今日
ローム株式会社
半導体メモリ装置
14日前
ローム株式会社
窒化物半導体装置
27日前
ローム株式会社
半導体パッケージ
27日前
ローム株式会社
モータドライバ回路
7日前
ローム株式会社
半導体装置、電子機器、車両
21日前
ローム株式会社
半導体装置、電子機器、車両
21日前
ローム株式会社
信号受信装置、IC及び電気機器
5日前
ローム株式会社
半導体装置および半導体装置の製造方法
12日前
ローム株式会社
電圧電流変換回路および半導体集積回路
21日前
ローム株式会社
パルス幅変調回路およびモータ駆動装置
21日前
ローム株式会社
力率改善回路、制御装置、および電子機器
12日前
ローム株式会社
半導体装置、および半導体装置の製造方法
12日前
ローム株式会社
半導体装置、および半導体装置の製造方法
5日前
ローム株式会社
電源制御装置、DC/DCコンバータ、および車両
22日前
ローム株式会社
三相ブラシレスモータのドライバ回路および駆動方法
14日前
ローム株式会社
半導体装置
20日前
ローム株式会社
半導体装置
22日前
ローム株式会社
テラヘルツ装置
26日前
ローム株式会社
半導体装置、マルチフェーズDC/DCコンバータ及び電源装置
5日前
ローム株式会社
半導体モジュール
7日前
ローム株式会社
SiC半導体装置
14日前
ローム株式会社
半導体装置、および半導体装置の製造方法
14日前
ローム株式会社
半導体装置、および半導体装置の製造方法
22日前
個人
単極モータ
1か月前
続きを見る
他の特許を見る