TOP
|
特許
|
意匠
|
商標
特許ウォッチ
Twitter
他の特許を見る
10個以上の画像は省略されています。
公開番号
2025169383
公報種別
公開特許公報(A)
公開日
2025-11-12
出願番号
2025136571,2025112970
出願日
2025-08-19,2021-09-14
発明の名称
半導体モジュール
出願人
ローム株式会社
代理人
個人
,
個人
主分類
H01L
25/07 20060101AFI20251105BHJP(基本的電気素子)
要約
【課題】電子機器に搭載する半導体モジュールの性能向上や小型化を図るモジュール構造を有する半導体モジュールを提供する。
【解決手段】半導体モジュールA1は、導電基板と、半導体素子と、制御端子45と、封止樹脂8と、を備える。導電基板は、厚さ方向zに互いに離間した主面および裏面を有する。半導体素子は、主面に電気的に接合されており、スイッチング機能を有している。制御端子45は、半導体素子を制御する。封止樹脂8は、樹脂主面81および樹脂裏面を有しており、導電基板および半導体素子と、前記端子45の一部と、を覆う。制御端子45は、樹脂主面から突出し、かつ、厚さ方向に沿って延びている。
【選択図】図1
特許請求の範囲
【請求項1】
ハーフブリッジ型の回路が構成された半導体モジュールであって、
第1絶縁層、第1金属層および第2金属層を含む支持基板と、
前記支持基板に接合され、金属製の板状部材からなる第1導電部および第2導電部と、
前記ハーフブリッジ型の回路において上アーム回路および下アーム回路をそれぞれ構成し、スイッチング機能を有する第1半導体素子および第2半導体素子と、
前記第1導電部上に配置されかつ前記第1半導体素子に導通する第1配線基板、および、前記第2導電部上に配置されかつ前記第2半導体素子に導通する第2配線基板と、
前記第1半導体素子および前記第1導電部に対して厚さ方向に直交する第1方向の一方側に配置された第1入力端子と、
前記第1半導体素子および前記第1導電部に対して前記第1方向の一方側に配置され、前記厚さ方向および前記第1方向に直交する第2方向において前記第1入力端子を挟んで互いに反対側に配置される第2入力端子および第3入力端子と、
前記第2半導体素子および前記第2導電部に対して前記第1方向の他方側に配置された少なくとも1つの出力端子と、
前記支持基板、前記第1導電部、前記第2導電部、前記第1半導体素子、前記第2半導体素子、前記第1入力端子、前記第2入力端子および前記第3入力端子と電気的に接続され、前記ハーフブリッジ型の回路を構成する導通部材と、
樹脂主面および前記樹脂主面とは反対側を向く樹脂裏面を有し、前記支持基板の一部、前記第1導電部、前記第2導電部、前記第1半導体素子、前記第2半導体素子、前記第1入力端子の一部、前記第2入力端子の一部、前記第3入力端子の一部、前記出力端子の一部、前記第1配線基板、前記第2配線基板および前記導通部材を覆う封止樹脂と、を備え、
前記第1半導体素子を介して前記第1入力端子と前記出力端子との間に第1主回路電流の経路である第1主回路電流経路が構成され、
前記第2半導体素子を介して前記出力端子と前記第2入力端子および前記第3入力端子との間に第2主回路電流の経路である第2主回路電流経路が構成され、
前記第1主回路電流経路および前記第2主回路電流経路は、前記厚さ方向に見て、前記第1入力端子の中心を通り前記第1方向に延びる中心線に対して対称的に配置されている、半導体モジュール。
続きを表示(約 860 文字)
【請求項2】
前記導通部材は、前記厚さ方向に見て、前記第1入力端子の中心を通り前記第1方向に延びる中心線に対して対称的に配置されている、請求項1に記載の半導体モジュール。
【請求項3】
前記第1主回路電流が流れる領域と、前記第2主回路電流が流れる領域とは、平面視において重なるように構成されている、請求項2に記載の半導体モジュール。
【請求項4】
前記第2方向に間隔を隔てて配置された複数の前記第1半導体素子と、前記第2方向に間隔を隔てて配置された複数の前記第2半導体素子と、を備える、請求項3に記載の半導体モジュール。
【請求項5】
前記第1半導体素子は、第1素子主面と、前記第1素子主面とは反対側を向く第1素子裏面と、前記第1素子主面に配置された第1ゲート電極と、を有し、
前記第2半導体素子は、第2素子主面と、前記第2素子主面とは反対側を向く第2素子裏面と、前記第2素子主面に配置された第2ゲート電極と、を有し、
前記第1配線基板および前記第2配線基板の各々は、第2絶縁層と、前記第2絶縁層の上面に形成され、互いに離間し絶縁された複数の配線部を含む第3金属層と、を有し、
前記第1配線基板の前記第3金属層と、前記第1半導体素子の前記第1ゲート電極とが電気的に接続され、
前記第2配線基板の前記第3金属層と、前記第2半導体素子の前記第2ゲート電極とが電気的に接続される、請求項1ないし4のいずれかに記載の半導体モジュール。
【請求項6】
前記第1配線基板における前記複数の配線部および前記第2配線基板における前記複数の配線部には、前記封止樹脂の前記樹脂主面から露出し、制御系回路基板と導通するための接続部が設けられている、請求項5に記載の半導体モジュール。
【請求項7】
前記第1配線基板および前記第2配線基板は、DBC基板で構成される、請求項1ないし4のいずれかに記載の半導体モジュール。
発明の詳細な説明
【技術分野】
【0001】
本開示は、半導体モジュールに関する。
続きを表示(約 3,000 文字)
【背景技術】
【0002】
従来、MOSFET(Metal Oxide Semiconductor Field Effect Transistor)やIGBT(Insulated Gate Bipolar Transistor)などの電力用スイッチング素子を備える半導体モジュールが知られている。このような半導体モジュールは、産業機器から家電や情報端末、自動車用機器まであらゆる電子機器に搭載される。特許文献1には、従来の半導体モジュール(パワーモジュール)が開示されている。特許文献1に記載の半導体モジュールは、半導体素子、および、支持基板(セラミック基板)を備えている。半導体素子は、たとえばSi(シリコン)製のIGBTである。支持基板は、半導体素子を支持する。支持基板は、絶縁性の基材と、基材の両面に積層された導体層とを含む。基材は、たとえばセラミックからなる。各導体層は、たとえばCu(銅)からなり、一方の導体層には、半導体素子が接合される。
【先行技術文献】
【特許文献】
【0003】
特開2015-220382号公報
【発明の概要】
【発明が解決しようとする課題】
【0004】
近年、電子機器の省エネルギー化、高性能化および小型化などが求められている。そのためには、電子機器に搭載する半導体モジュールの性能向上や小型化などが必要となる。
【0005】
本開示は、上記事情に鑑みて考え出されたものであり、性能向上や小型化などを図る上で好ましいモジュール構造を有する半導体モジュールを提供することを一の課題とする。
【課題を解決するための手段】
【0006】
本開示の半導体モジュールは、厚さ方向の一方側を向く主面、および前記主面とは反対側を向く裏面を有する導電基板と、前記主面に電気的に接合され、スイッチング機能を有する半導体素子と、前記半導体素子を制御するための制御端子と、前記主面と同じ側を向く樹脂主面および前記樹脂主面とは反対側を向く樹脂裏面を有し、前記導電基板および前記半導体素子と、前記制御端子の一部とを覆う封止樹脂と、を備える。前記制御端子は、前記樹脂主面から突出し、かつ前記厚さ方向に沿って延びる。
【発明の効果】
【0007】
上述の構成によれば、たとえば、性能向上や小型化などを図る上で好ましい半導体モジュール構造を提供することができる。
【図面の簡単な説明】
【0008】
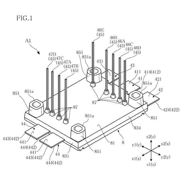
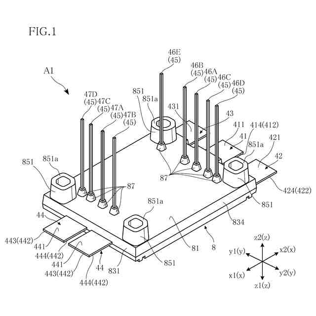
第1実施形態にかかる半導体モジュールの斜視図である。
図1の斜視図において、封止樹脂、樹脂部および樹脂充填部を省略した図である。
図2の斜視図において、導通部材を省略した図である。
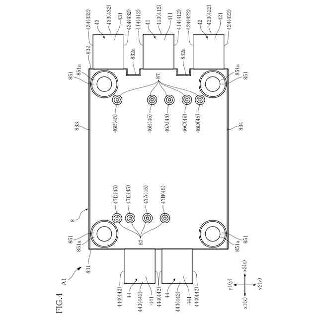
第1実施形態にかかる半導体モジュールを示す平面図である。
図4の平面図において、封止樹脂、樹脂部および樹脂充填部を想像線で示した図である。
図5の一部を拡大した部分拡大図であって、封止樹脂、樹脂部および樹脂充填部の想像線を省略している。
図6の一部を拡大した部分拡大図である。
図5の平面図において、導通部材の一部を想像線で示した図である。
第1実施形態にかかる半導体モジュールを示す正面図である。
第1実施形態にかかる半導体モジュールを示す底面図である。
第1実施形態にかかる半導体モジュールを示す左側面図である。
第1実施形態にかかる半導体モジュールを示す右側面図である。
図5のXIII-XIII線に沿う断面図である。
図5のXIV-XIV線に沿う断面図である。
図14の一部を拡大した部分拡大図である。
図5のXVI-XVI線に沿う断面図である。
図5のXVII-XVII線に沿う断面図である。
図5のXVIII-XVIII線に沿う断面図である。
図5のXIX-XIX線に沿う断面図である。
第1実施形態にかかる半導体モジュールの回路構成例である。
第1実施形態にかかる半導体モジュールの製造方法の一工程を示す平面図である。
第1実施形態にかかる半導体モジュールの製造方法の一工程を示す断面模式図である。
第1実施形態にかかる半導体モジュールの製造方法の一工程を示す平面図である。
第1実施形態にかかる製造方法の一工程を示す切断部端面図であって、図13に示す断面に対応する。
第1実施形態にかかる半導体モジュールの製造方法の一工程を示す要部拡大断面図であって、図13に示す断面の一部を拡大した図に対応する。
第1実施形態にかかる半導体モジュールの製造方法の一工程を示す要部拡大断面図であって、図14に示す断面の一部を拡大した図に対応する。
第1実施形態にかかる半導体モジュールの製造方法の一工程を示す要部拡大断面図であって、図14に示す断面の一部を拡大した図に対応する。
第1実施形態にかかる半導体モジュールの製造方法の一工程を示す要部拡大断面図であって、図13に示す断面の一部を拡大した図に対応する。
第1実施形態にかかる半導体モジュールの製造方法の一工程を示す要部拡大断面図であって、図14に示す断面の一部を拡大した図に対応する。
第2実施形態にかかる半導体モジュールの正面図である。
第2実施形態にかかる半導体モジュールを示す右側面図である。
第2実施形態にかかる半導体モジュールを示す、図18と同様の断面図である。
第3実施形態にかかる半導体モジュールの正面図である。
第3実施形態にかかる半導体モジュールを示す右側面図である。
第3実施形態にかかる半導体モジュールを示す、図18と同様の断面図である。
第4実施形態にかかる半導体モジュールの斜視図である。
第4実施形態にかかる半導体モジュールを示す右側面図である。
第5実施形態にかかる半導体モジュールを示す、図5と同様の平面図である。
図38の一部を拡大した部分拡大図であって、封止樹脂、樹脂部および樹脂充填部の想像線を省略している。
図39の一部を拡大した部分拡大図である。
第6実施形態にかかる半導体モジュールを示す、図5と同様の平面図である。
図41のXLII-XLII線に沿う断面図である。
【発明を実施するための形態】
【0009】
本開示の半導体モジュールの好ましい実施の形態について、図面を参照して、以下に説明する。以下の説明において、同一あるいは類似の構成要素については、同じ符号を付して、重複する説明を省略する。
【0010】
図1~図20は、第1実施形態にかかる半導体モジュールA1を示している。半導体モジュールA1は、複数の半導体素子10、導電基板2、支持基板3、複数の入力端子41~43、複数の出力端子44、複数の制御端子45、制御端子支持体5、導通部材6、第1導電性接合材71、第2導電性接合材72、複数のワイヤ731~735、封止樹脂8、樹脂部87および樹脂充填部88を備えている。
(【0011】以降は省略されています)
この特許をJ-PlatPat(特許庁公式サイト)で参照する
関連特許
ローム株式会社
半導体装置
25日前
ローム株式会社
半導体装置
9日前
ローム株式会社
半導体装置
9日前
ローム株式会社
半導体装置
9日前
ローム株式会社
半導体装置
17日前
ローム株式会社
半導体装置
25日前
ローム株式会社
半導体装置
2日前
ローム株式会社
電源制御装置
25日前
ローム株式会社
信号伝達装置
25日前
ローム株式会社
定電圧生成回路
9日前
ローム株式会社
半導体集積回路
9日前
ローム株式会社
半導体集積回路
10日前
ローム株式会社
定電圧生成回路
9日前
ローム株式会社
半導体モジュール
18日前
ローム株式会社
モータドライバ回路
25日前
ローム株式会社
比較回路、半導体装置
9日前
ローム株式会社
逐次比較型AD変換回路
17日前
ローム株式会社
サーマルプリントヘッド
9日前
ローム株式会社
電源制御装置及び電源装置
2日前
ローム株式会社
半導体装置およびシステム
17日前
ローム株式会社
監視回路及びレジスタ制御装置
9日前
ローム株式会社
電源制御装置、スイッチング電源
2日前
ローム株式会社
信号受信装置、IC及び電気機器
23日前
ローム株式会社
昇圧型スイッチングレギュレータ
11日前
ローム株式会社
電圧調整装置及び電荷蓄積システム
11日前
ローム株式会社
モータドライバ回路および駆動方法
10日前
ローム株式会社
半導体装置および半導体装置の製造方法
10日前
ローム株式会社
検出回路、信号伝達装置、電子機器、車両
9日前
ローム株式会社
ドライバ、信号伝達装置、電子機器、車両
2日前
ローム株式会社
半導体装置、および半導体装置の製造方法
23日前
ローム株式会社
サーマルプリントヘッド及びその製造方法
9日前
ローム株式会社
半導体装置、および半導体装置の製造方法
9日前
ローム株式会社
コントローラ、ターゲット、及び通信システム
9日前
ローム株式会社
電源回路、電子コントロールユニット、自動車
17日前
ローム株式会社
雨検出装置、雨検出システム、および、雨検出方法
11日前
ローム株式会社
窒化物半導体装置および窒化物半導体装置の製造方法
9日前
続きを見る
他の特許を見る