TOP
|
特許
|
意匠
|
商標
特許ウォッチ
Twitter
他の特許を見る
公開番号
2025141530
公報種別
公開特許公報(A)
公開日
2025-09-29
出願番号
2024041511
出願日
2024-03-15
発明の名称
発振回路
出願人
ローム株式会社
代理人
弁理士法人太陽国際特許事務所
主分類
H03K
3/0231 20060101AFI20250919BHJP(基本電子回路)
要約
【課題】電源電圧に依存せず安定した発振周波数を出力する。
【解決手段】この本発明に係る発振回路は、基準容量、基準抵抗、定電流を流す定電流回路、及びインバータ回路を備え、前記基準容量、前記基準抵抗、及び前記定電流で定まる時定数により発振周波数が定まる発振回路である。前記定電流回路は、第1ノードに一端が接続される第1トランジスタと、前記第1ノードに一端が接続され、前記第1トランジスタとカレントミラー接続される第2トランジスタと、前記第1トランジスタと第2ノードとの間に接続される基準抵抗器と、基準電圧と、前記基準抵抗器の前記第1トランジスタの側の接続点としての第3ノードの電圧とを差動増幅して出力信号を前記第1乃至第2トランジスタのゲートに出力する差動増幅回路とを備える。
【選択図】図6
特許請求の範囲
【請求項1】
基準容量、基準抵抗、定電流を流す定電流回路、及びインバータ回路を備え、前記基準容量、前記基準抵抗、及び前記定電流で定まる時定数により発振周波数が定まる発振回路において、
前記定電流回路は、
第1ノードに接続され、複数のトランジスタをカレントミラー接続して構成されるカレントミラー回路と、
前記カレントミラー回路と第2ノードとの間に接続される基準抵抗器と、
基準電圧と、前記基準抵抗器の前記カレントミラー回路の側の接続ノードの電圧とを差動増幅して、出力信号を前記カレントミラー回路を構成するトランジスタのゲートに出力する差動増幅回路と
を備えたことを特徴とする発振回路。
続きを表示(約 960 文字)
【請求項2】
前記カレントミラー回路は、
前記第1ノードに一端が接続される第1トランジスタと、
前記第1ノードに一端が接続され、前記第1トランジスタとカレントミラー接続される第2トランジスタと
を備える、請求項1に記載の発振回路。
【請求項3】
前記カレントミラー回路は、
前記第1ノードに一端が接続される第1トランジスタと、
前記第1ノードに一端が接続され、前記第1トランジスタとカレントミラー接続される第2トランジスタと、
前記第1トランジスタと直列接続される第3トランジスタと、
前記第2トランジスタと直列接続され前記第3トランジスタとカレントミラー接続される第4トランジスタと
を備え、
前記基準抵抗器は、前記第3トランジスタと前記第2ノードとの間に接続され、
前記差動増幅回路は、基準電圧と、前記基準抵抗器の前記第3トランジスタの側の接続ノードの電圧とを差動増幅して、出力信号を前記第1乃至第2トランジスタのゲート、又は第3乃至第4トランジスタのゲートに出力する、請求項1に記載の発振回路。
【請求項4】
基準容量、基準抵抗、定電流を流す定電流回路、及びインバータ回路を備え、前記基準容量、前記基準抵抗、及び前記定電流で定まる時定数により発振周波数が定まる発振回路において、
前記定電流回路は、
第1ノードに接続され、複数のトランジスタをカレントミラー接続して構成されるカレントミラー回路と、
前記カレントミラー回路と第2ノードとの間に接続される基準抵抗器と
を備え、
前記カレントミラー回路は、
前記第1ノードに一端が接続される第1トランジスタと、
前記第1ノードに一端が接続され、前記第1トランジスタとカレントミラー接続される第2トランジスタと、
前記第1トランジスタと直列接続され、ゲートが前記第2ノードに接続されるディプリーション型の第3トランジスタと、
前記第2トランジスタと直列接続され、ゲートが前記第2ノードに接続されるディプリーション型の第4トランジスタと
を備えることを特徴とする発振回路。
発明の詳細な説明
【技術分野】
【0001】
本発明は、発振回路に関する。
続きを表示(約 2,100 文字)
【背景技術】
【0002】
通信機器などにおいて、所定の発振周波数の信号を出力する発振回路が用いられている。通信用では、電源電圧や温度の変動に関わらず発振周波数の変動が1%以内とされることが求められている。
【先行技術文献】
【特許文献】
【0003】
特開平7-142964号公報
【発明の概要】
【発明が解決しようとする課題】
【0004】
RC発振回路では、発振周波数は回路のRC時定数によって決まる。RC時定数は、基準抵抗の値、基準容量の値によって変化することに加え、インバータを構成するトランジスタの閾値電圧によって変化する。発振回路に入力される基準電圧は、電源電圧に依存して大きく変化するため、電源電圧が変動すると、発振回路の発振周波数も変動する。このため、電源電圧に依存せず安定した発振周波数を出力することができる発振回路が求められている。本発明は、電源電圧に依存せず安定した発振周波数を出力することができる発振回路を提供するものである。
【課題を解決するための手段】
【0005】
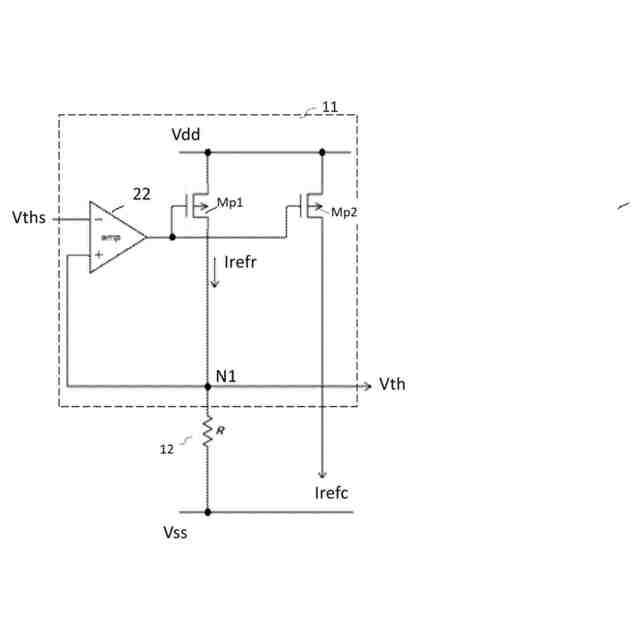
本発明の第1の態様に係る発振回路は、基準容量、基準抵抗、定電流を流す定電流回路、及びインバータ回路を備え、前記基準容量、前記基準抵抗、及び前記定電流で定まる時定数により発振周波数が定まる発振回路である。前記定電流回路は、第1のノードに接続され、複数のトランジスタをカレントミラー接続して構成されるカレントミラー回路と、前記カレントミラー回路と第2ノードとの間に接続される基準抵抗器と、基準電圧と、前記基準抵抗器の前記カレントミラー回路の側の接続ノードの電圧とを差動増幅して、出力信号を前記カレントミラー回路を構成するトランジスタのゲートに出力する差動増幅回路とを備える。
【0006】
本発明の第2の態様に係る発振回路は、基準容量、基準抵抗、定電流を流す定電流回路、及びインバータ回路を備え、前記基準容量、前記基準抵抗、及び前記定電流で定まる時定数により発振周波数が定まる発振回路である。前記定電流回路は、第1のノードに接続され、複数のトランジスタをカレントミラー接続して構成されるカレントミラー回路と、前記カレントミラー回路と第2ノードとの間に接続される基準抵抗器とを備える。前記カレントミラー回路は、前記第1ノードに一端が接続される第1トランジスタと、前記第1ノードに一端が接続され、前記第1トランジスタとカレントミラー接続される第2トランジスタと、前記第1トランジスタと直列接続され、ゲートが前記第2ノードに接続されるディプリーション型の第3トランジスタと、前記第2トランジスタと直列接続され、ゲートが前記第2ノードに接続されるディプリーション型の第4トランジスタとを備える。
【発明の効果】
【0007】
本発明によれば、電源電圧に依存せず安定した発振周波数を出力することができる発振回路を提供することができる。
【図面の簡単な説明】
【0008】
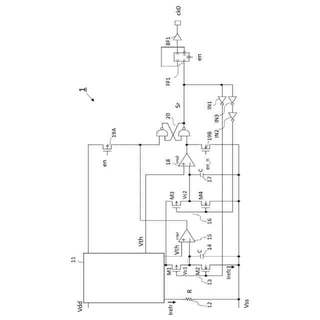
第1の実施の形態の発振回路1を説明する回路図である。
第1の実施の形態の発振回路1を説明する波形図である。
比較例の定電流回路11の構成の一例を説明する回路図である。
比較例における電源電圧Vddの変動に対する基準電圧Vthの変動を説明するグラフである。
比較例における電源電圧Vddの変動に対するカレントミラー比の変動を説明するグラフである。
第1の実施の形態の定電流回路11の構成の一例を説明する回路図である。
第1の実施の形態における電源電圧Vddの変動に対する基準電圧Vthの変動を説明するグラフである。
第1の実施の形態における電源電圧Vddの変動に対するカレントミラー比の変動を説明するグラフである。
第2の実施の形態の定電流回路11の構成の一例を説明する回路図である。
第3の実施の形態の定電流回路11の構成の一例を説明する回路図である。
【発明を実施するための形態】
【0009】
以下、添付図面を参照して本実施形態について説明する。添付図面では、機能的に同じ要素は同じ番号で表示される場合もある。なお、添付図面は本開示の原理に則った実施形態と実装例を示しているが、これらは本開示の理解のためのものであり、決して本開示を限定的に解釈するために用いられるものではない。本明細書の記述は典型的な例示に過ぎず、本開示の特許請求の範囲又は適用例を如何なる意味においても限定するものではない。
【0010】
本実施形態では、当業者が本開示を実施するのに十分詳細にその説明がなされているが、他の実装・形態も可能で、本開示の技術的思想の範囲と精神を逸脱することなく構成・構造の変更や多様な要素の置き換えが可能であることを理解する必要がある。従って、以降の記述をこれに限定して解釈してはならない。
(【0011】以降は省略されています)
この特許をJ-PlatPat(特許庁公式サイト)で参照する
関連特許
ローム株式会社
半導体装置
9日前
ローム株式会社
半導体装置
14日前
ローム株式会社
半導体装置
1日前
ローム株式会社
半導体装置
14日前
ローム株式会社
半導体装置
14日前
ローム株式会社
半導体装置
9日前
ローム株式会社
電源制御装置
9日前
ローム株式会社
信号伝達装置
9日前
ローム株式会社
半導体メモリ装置
16日前
ローム株式会社
半導体モジュール
2日前
ローム株式会社
モータドライバ回路
9日前
ローム株式会社
逐次比較型AD変換回路
1日前
ローム株式会社
半導体装置およびシステム
1日前
ローム株式会社
半導体装置、電子機器、車両
23日前
ローム株式会社
信号受信装置、IC及び電気機器
7日前
ローム株式会社
パルス幅変調回路およびモータ駆動装置
23日前
ローム株式会社
半導体装置および半導体装置の製造方法
14日前
ローム株式会社
半導体装置、および半導体装置の製造方法
14日前
ローム株式会社
力率改善回路、制御装置、および電子機器
14日前
ローム株式会社
半導体装置、および半導体装置の製造方法
7日前
ローム株式会社
電源回路、電子コントロールユニット、自動車
1日前
ローム株式会社
三相ブラシレスモータのドライバ回路および駆動方法
16日前
ローム株式会社
信号伝達装置、電子機器、車両、絶縁ゲートドライバIC
1日前
ローム株式会社
半導体装置
22日前
ローム株式会社
半導体装置、マルチフェーズDC/DCコンバータ及び電源装置
7日前
ローム株式会社
制御装置、力率改善回路、電子機器、およびオフセット設定方法
1日前
ローム株式会社
SiC半導体装置
16日前
ローム株式会社
半導体モジュール
9日前
ローム株式会社
半導体装置、および半導体装置の製造方法
16日前
エイブリック株式会社
増幅器
1か月前
エイブリック株式会社
増幅器
1か月前
エイブリック株式会社
増幅回路
1か月前
日本電波工業株式会社
水晶振動子
14日前
日本電波工業株式会社
圧電振動片
1か月前
エイブリック株式会社
電圧検出器
2か月前
株式会社トーキン
ノイズフィルタ
2か月前
続きを見る
他の特許を見る