TOP
|
特許
|
意匠
|
商標
特許ウォッチ
Twitter
他の特許を見る
10個以上の画像は省略されています。
公開番号
2025142473
公報種別
公開特許公報(A)
公開日
2025-10-01
出願番号
2024041838
出願日
2024-03-18
発明の名称
半導体装置
出願人
ローム株式会社
代理人
個人
主分類
H01L
23/48 20060101AFI20250924BHJP(基本的電気素子)
要約
【課題】 半導体素子の接合強度を高めることが可能な半導体装置を提供すること。
【解決手段】 半導体装置A1は、アイランドリード6と、半導体素子8と、接合材901と、封止樹脂9とを備える。アイランドリード6は、主面601および第1凹部610を有する。第1凹部610は、底面611と、1以上の第1側面612と、を含む。半導体素子8は、一部が第1凹部610に収容され、且つ素子本体80と金属層89と、を有する。素子本体80は、素子主面801、素子裏面802および1以上の素子側面803を有する。金属層89は、底部891と、1以上の側部892と、を含む。接合材901は、第1部9011と、第2部9012と、1以上の第3部9013と、を含む。
【選択図】 図14
特許請求の範囲
【請求項1】
アイランドリードと、
前記アイランドリードに搭載された半導体素子と、
前記アイランドリードおよび前記半導体素子の間に介在する接合材と、
前記半導体素子および前記接合材と前記アイランドリードの少なくとも一部とを覆う封止樹脂とを備え、
前記アイランドリードは、第1方向の第1側を向く主面および前記主面から前記第1方向の第2側に凹む第1凹部を有し、
前記第1凹部は、前記第1方向の前記第1側を向く底面と、前記主面および前記底面の間に位置する1以上の第1側面と、を含み、
前記半導体素子は、一部が前記第1凹部に収容され、且つ素子本体と金属層と、を有し、
前記素子本体は、前記第1方向の第1側を向く素子主面、第2側を向く素子裏面および前記第1方向と交差する方向を向く1以上の素子側面を有し、
前記金属層は、前記素子裏面の少なくとも一部を覆う底部と、各々が前記1以上の素子側面の少なくとも一部ずつを覆い且つ前記主面から前記第1方向の前記第1側にはみ出す1以上の側部と、を含み、
前記接合材は、前記底部および前記主面の間に介在する第1部と、前記1以上の側部および前記1以上の第1側面の間に介在する1以上の第2部と、前記1以上の側部および前記主面の間に介在する1以上の第3部と、を含む、半導体装置。
続きを表示(約 730 文字)
【請求項2】
前記素子本体は、支持層、前記支持層上に積層された複数の機能層および前記複数の機能層を覆う絶縁層を含む、請求項1に記載の半導体装置。
【請求項3】
前記半導体素子は、前記素子主面に配置されたドレイン電極、ソース電極およびゲート電極を含むHEMT構造である、請求項2に記載の半導体装置。
【請求項4】
前記複数の機能層は、窒化物半導体を含む、請求項3に記載の半導体装置。
【請求項5】
前記素子側面は、前記支持層によって構成された部分を含み、
前記側部は、前記素子側面のうち前記支持層によって構成された部分の少なくとも一部を覆う、請求項2ないし4のいずれかに記載の半導体装置。
【請求項6】
前記側部は、前記複数の機能層から前記第1方向の前記第2側に離れている、請求項5に記載の半導体装置。
【請求項7】
前記素子側面は、前記複数の機能層によって構成された部分を含む、請求項6に記載の半導体装置。
【請求項8】
前記素子側面は、前記支持層および前記絶縁層によって構成された部分を含み、
前記複数の機能層は、前記素子側面から離れており、
前記側部は、前記素子側面のうち前記支持層および前記絶縁層によって構成された部分の少なくとも一部ずつを覆う、請求項2ないし4のいずれかに記載の半導体装置。
【請求項9】
前記側部は、前記素子側面のすべてを覆う、請求項8に記載の半導体装置。
【請求項10】
前記第3部は、前記側部のすべてを覆う、請求項1に記載の半導体装置。
(【請求項11】以降は省略されています)
発明の詳細な説明
【技術分野】
【0001】
本開示は、半導体装置に関する。
続きを表示(約 1,800 文字)
【背景技術】
【0002】
同文献に開示された半導体装置は、第1リード、半導体素子および封止樹脂を備える。半導体素子は、第1リードに導電性接合材を介して接合されている。
【先行技術文献】
【特許文献】
【0003】
特開2023-073509号公報
【0004】
[概要]
半導体素子および第1リードの接合強度が不十分であると、不具合の原因となりうる。
【0005】
本開示は、上記した事情のもとで考え出されたものであって、半導体素子の接合強度を高めることが可能な半導体装置を提供することをその課題とする。
【0006】
本開示によって提供される半導体装置は、アイランドリードと、前記アイランドリードに搭載された半導体素子と、前記アイランドリードおよび前記半導体素子の間に介在する接合材と、前記半導体素子および前記接合材と前記アイランドリードの少なくとも一部とを覆う封止樹脂とを備え、前記アイランドリードは、第1方向の第1側を向く主面および前記主面から前記第1方向の第2側に凹む第1凹部を有し、前記第1凹部は、前記第1方向の前記第1側を向く底面と、前記主面および前記底面の間に位置する1以上の第1側面と、を含み、前記半導体素子は、一部が前記第1凹部に収容され、且つ素子本体と金属層と、を有し、前記素子本体は、前記第1方向の第1側を向く素子主面、第2側を向く素子裏面および前記第1方向と交差する方向を向く1以上の素子側面を有し、前記金属層は、前記素子裏面の少なくとも一部を覆う底部と、各々が前記1以上の素子側面の少なくとも一部ずつを覆い且つ前記主面から前記第1方向の前記第1側にはみ出す1以上の側部と、を含み、前記接合材は、前記底部および前記主面の間に介在する第1部と、前記1以上の側部および前記1以上の第1側面の間に介在する1以上の第2部と、前記1以上の側部および前記主面の間に介在する1以上の第3部と、を含む。
【0007】
本開示のその他の特徴および利点は、添付図面を参照して以下に行う詳細な説明によって、より明らかとなろう。
【図面の簡単な説明】
【0008】
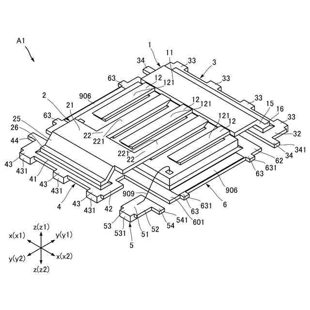
図1は、本開示の第1実施形態に係る半導体装置を示す部分分解斜視図である。
図2は、本開示の第1実施形態に係る半導体装置を示す平面図である。
図3は、本開示の第1実施形態に係る半導体装置を示す部分平面図である。
図4は、本開示の第1実施形態に係る半導体装置を示す部分平面図である。
図5は、本開示の第1実施形態に係る半導体装置を示す底面図である。
図6は、本開示の第1実施形態に係る半導体装置を示す正面図である。
図7は、本開示の第1実施形態に係る半導体装置を示す背面図である。
図8は、本開示の第1実施形態に係る半導体装置を示す左側面図である。
図9は、本開示の第1実施形態に係る半導体装置を示す右側面図である。
図10は、図2のX-X線に沿う断面図である。
図11は、図2のXI-XI線に沿う断面図である。
図12は、図2のXII-XII線に沿う断面図である。
図13は、図2のXIII-XIII線に沿う断面図である。
図14は、本開示の第1実施形態に係る半導体装置を示す部分拡大断面図である。
図15は、本開示の第1実施形態に係る半導体装置の第1変形例を示す部分拡大断面図である。
図16は、本開示の第1実施形態に係る半導体装置の第2変形例を示す部分拡大断面図である。
図17は、本開示の第1実施形態に係る半導体装置の第3変形例を示す部分拡大断面図である。
図18は、本開示の第2実施形態に係る半導体装置を示す部分拡大断面図である。
図19は、本開示の第3実施形態に係る半導体装置を示す部分拡大断面図である。
図20は、本開示の第4実施形態に係る半導体装置を示す平面図である。
【0009】
[詳細な説明]
以下、本開示の好ましい実施の形態につき、図面を参照して具体的に説明する。
【0010】
本開示における「第1」、「第2」、「第3」等の用語は、単に識別のために用いたものであり、それらの対象物に順列を付することを意図していない。
(【0011】以降は省略されています)
この特許をJ-PlatPat(特許庁公式サイト)で参照する
関連特許
ローム株式会社
半導体装置
今日
ローム株式会社
半導体装置
今日
ローム株式会社
半導体装置
今日
ローム株式会社
半導体装置および半導体装置の製造方法
今日
ローム株式会社
力率改善回路、制御装置、および電子機器
今日
ローム株式会社
半導体装置、および半導体装置の製造方法
今日
ローム株式会社
半導体装置、および半導体装置の製造方法
2日前
東ソー株式会社
絶縁電線
16日前
APB株式会社
蓄電セル
14日前
株式会社東芝
端子台
8日前
ローム株式会社
半導体装置
15日前
マクセル株式会社
電源装置
8日前
株式会社GSユアサ
蓄電装置
1日前
株式会社GSユアサ
蓄電装置
9日前
株式会社GSユアサ
蓄電装置
9日前
株式会社ホロン
冷陰極電子源
22日前
トヨタ自動車株式会社
冷却構造
16日前
日本特殊陶業株式会社
保持装置
17日前
トヨタ自動車株式会社
蓄電装置
9日前
日新イオン機器株式会社
基板処理装置
11日前
トヨタ自動車株式会社
バッテリ
14日前
北道電設株式会社
配電具カバー
14日前
日本特殊陶業株式会社
保持装置
今日
トヨタ自動車株式会社
電池パック
21日前
株式会社トクヤマ
シリコンエッチング液
22日前
トヨタ自動車株式会社
密閉型電池
10日前
株式会社トクヤマ
シリコンエッチング液
22日前
トヨタ自動車株式会社
電池パック
21日前
甲神電機株式会社
変流器及び零相変流器
2日前
日亜化学工業株式会社
半導体レーザ素子
11日前
株式会社デンソー
電子装置
11日前
住友電装株式会社
コネクタ
16日前
ローム株式会社
半導体装置
16日前
日本無線株式会社
レーダアンテナ
2日前
三協立山株式会社
バッテリーケース
15日前
富士電機株式会社
半導体モジュール
3日前
続きを見る
他の特許を見る