TOP
|
特許
|
意匠
|
商標
特許ウォッチ
Twitter
他の特許を見る
10個以上の画像は省略されています。
公開番号
2025154566
公報種別
公開特許公報(A)
公開日
2025-10-10
出願番号
2024057638
出願日
2024-03-29
発明の名称
半導体装置
出願人
ローム株式会社
代理人
弁理士法人あい特許事務所
主分類
H10D
89/00 20250101AFI20251002BHJP()
要約
【課題】検温精度の向上を図ることができる半導体装置を提供する。
【解決手段】半導体装置1は、第1主面3を有するチップと、主面に設定された検温領域において第1方向Xに間隔を空けて配列された複数のダイオードトレンチ構造と、隣り合う複数のダイオードトレンチ構造により挟まれて形成されたメサ部に形成され、pn接合部を有する単位ダイオードと、単位ダイオードを有する感温ダイオードとを含む。感温ダイオードが、2つの単位ダイオードを有する第1ダイオードDi1と、2つの単位ダイオードを有し、第1ダイオードDi1から電気的に分離するように形成された第2ダイオードDi2と、第1ダイオードDi1および第2ダイオードDi2を直列に接続する第1接続配線構造150とを含む。
【選択図】図15A
特許請求の範囲
【請求項1】
主面を有するチップと、
前記主面に設定された検温領域において前記主面に沿う第1方向に間隔を空けて配列され、前記第1方向に交差する第2方向に帯状に延びる複数のダイオードトレンチ構造であって、絶縁体を挟んで第1トレンチ内に上下方向に埋設された上電極および下電極を含む電極構造を有する複数のダイオードトレンチ構造と、
隣り合う複数の前記ダイオードトレンチ構造により挟まれて形成されたメサ部に形成され、pn接合部を有する単位ダイオードと、
前記単位ダイオードを有する感温ダイオードとを含み、
前記感温ダイオードが、
少なくとも1つの前記単位ダイオードを有する第1ダイオードと、
少なくとも1つの前記単位ダイオードを有し、前記第1ダイオードから電気的に分離するように形成された第2ダイオードと、
前記第1ダイオードおよび前記第2ダイオードを直列に接続する第1接続配線構造とを含む、半導体装置。
続きを表示(約 1,300 文字)
【請求項2】
前記第1ダイオードおよび前記第2ダイオードの少なくとも一方が、複数の前記単位ダイオードを含む、請求項1に記載の半導体装置。
【請求項3】
前記第1接続配線構造が、前記第1ダイオードおよび前記第2ダイオードの一方と、前記第1ダイオードおよび前記第2ダイオードのカソードとを電気的に接続する接続配線を含む、請求項1に記載の半導体装置。
【請求項4】
前記第1ダイオードおよび前記第2ダイオードのアノードに電気的に接続されたアノード配線と、
前記第1ダイオードおよび前記第2ダイオードのカソードに電気的に接続されたカソード配線と、
前記主面の表層部に形成された第1導電型のドリフト領域と、
前記検温領域において、前記ドリフト領域の前記主面側の表層部に形成された第2導電型のボディ領域とをさらに含み、
前記ダイオードトレンチ構造が、前記主面から前記ボディ領域を通って前記ドリフト領域に達するように形成されており、
前記アノード配線と前記ドリフト領域とを電気的に接続する第2接続配線構造をさらに含む、請求項3に記載の半導体装置。
【請求項5】
前記第2接続配線構造が、前記アノード配線に接続された接続パッド配線と、前記接続パッド配線と前記ドリフト領域とを電気的に接続する複数の接続ビア電極とを含む、請求項4に記載の半導体装置。
【請求項6】
前記第1ダイオードおよび前記第2ダイオードのアノードに電気的に接続されたアノード配線と、
前記第1ダイオードおよび前記第2ダイオードのカソードに電気的に接続されたカソード配線とをさらに含み、
前記接続配線が、前記アノード配線によって前記第2方向に挟まれている、請求項3に記載の半導体装置。
【請求項7】
前記接続配線が、前記カソード配線を前記第2方向に挟んでいる、請求項6に記載の半導体装置。
【請求項8】
前記接続配線が、第1配線層に含まれる下配線と、前記下配線に電気的に接続され、前記第1配線層よりも上方に配置された第2配線層に含まれる上配線とを含む、請求項3~7のいずれか一項に記載の半導体装置。
【請求項9】
前記主面の表層部に形成された第1導電型のドリフト領域と、
前記検温領域において、前記ドリフト領域の前記主面側の表層部に形成された第2導電型のボディ領域とをさらに含み、
前記ダイオードトレンチ構造が、前記主面から前記ボディ領域を通って前記ドリフト領域に達するように形成されており、
前記ボディ領域が、前記ドリフト領域と同電位に固定されている、請求項1に記載の半導体装置。
【請求項10】
前記単位ダイオードが、前記ボディ領域に形成された第2導電型のアノード領域、および前記アノード領域と前記pn接合部を形成するように前記ボディ領域に形成された第1導電型のカソード領域を含む、請求項9に記載の半導体装置。
(【請求項11】以降は省略されています)
発明の詳細な説明
【技術分野】
【0001】
本開示は、半導体装置に関する。
続きを表示(約 3,600 文字)
【背景技術】
【0002】
特許文献1は、第1主面を有するチップと、第1主面に設けられたダイオード領域と、ダイオード領域において第1主面に間隔を空けて形成された複数のダイオードトレンチ構造と、複数のダイオードトレンチ構造の間の領域においてpn接合部を有するダイオードとを含む、半導体装置を開示している。
【先行技術文献】
【特許文献】
【0003】
国際公開2023/002767号
【0004】
[概要]
本開示の一実施形態は、検温精度の向上を図ることができる半導体装置を提供する。
【0005】
本開示の一実施形態は、主面を有するチップと、前記主面に設定された検温領域において前記主面に沿う第1方向に間隔を空けて配列され、前記第1方向に交差する第2方向に帯状に延びる複数のダイオードトレンチ構造であって、絶縁体を挟んでトレンチ内に上下方向に埋設された上電極および下電極を含む電極構造を有する複数のダイオードトレンチ構造と、隣り合う複数の前記ダイオードトレンチ構造により挟まれて形成されたメサ部に形成され、pn接合部を有する単位ダイオードと、前記単位ダイオードを有する感温ダイオードとを含む、半導体装置を提供する。前記感温ダイオードが、少なくとも1つの前記単位ダイオードを有する第1ダイオードと、少なくとも1つの前記単位ダイオードを有し、前記第1ダイオードから電気的に分離するように形成された第2ダイオードと、前記第1ダイオードおよび前記第2ダイオードを直列に接続する第1接続配線構造とを含んでいてもよい。
【図面の簡単な説明】
【0006】
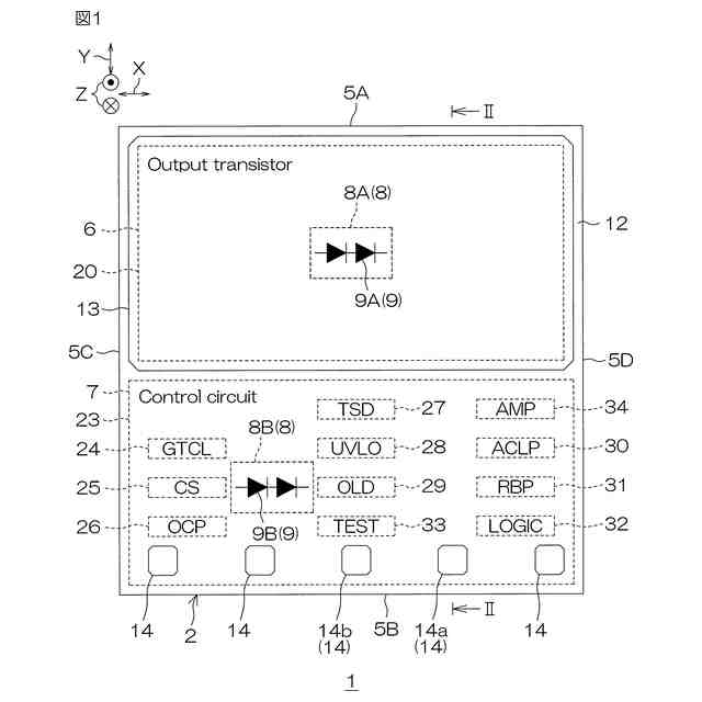
図1は、本開示の第1実施形態に係る半導体装置の模式的な平面図である。
図2は、図1に示すII-II線に沿う断面図である。
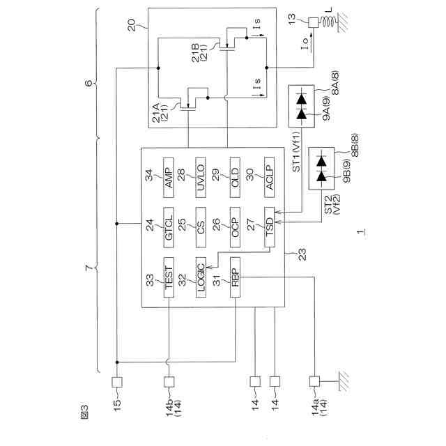
図3は、図1に示す半導体装置の電気的構成を示す概略回路図である。
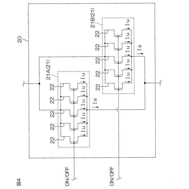
図4は、出力トランジスタの構成を示す概略回路図である。
図5は、図4に示す過熱保護回路の構成を示す概略回路図である。
図6は、図1に示す出力領域を示す平面図である。
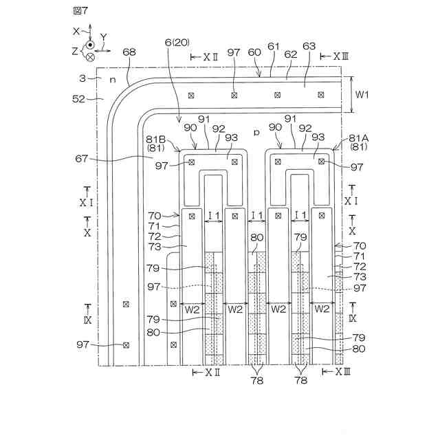
図7は、図6の一点鎖線VIIで囲まれた領域の拡大図である。
図8は、図6の一点鎖線VIIで囲まれた領域の更なる拡大図である。
図9は、図7に示すIX-IX線に沿う断面図である。
図10は、図7に示すX-X線に沿う断面図である。
図11は、図7に示すXI-XI線に沿う断面図である。
図12は、図7に示すXII-XII線に沿う断面図である。
図13は、図7に示すXIII-XIII線に沿う断面図である。
図14は、図6の一点鎖線XIVで囲まれた領域の拡大図である。
図15Aは、第1配線層のレイアウトを示す平面図であり、図14に対応する図である。
図15Bは、第1配線層のレイアウトを示す平面図であり、図15Aに示す領域に第1方向に隣接する領域を示す図である。
図15Cは、図15Bに示すXVC-XVC線に沿う断面図である。
図16は、図14の一点鎖線XVIで囲まれた部分の拡大図である。
図17は、図16に示すXVII-XVII線に沿う断面図である。
図18は、図16に示すXVIII-XVIII線に沿う断面図である。
図19Aは、図16に示すXIX-XIX線に沿う断面図である。
図19Bは、図16に示すXIXB-XIXB線に沿う断面図である。
図20は、図16に示すXX-XX線に沿う断面図である。
図21Aは、図14に示すXXIA-XXIA線に沿う断面図である。
図21Bは、図14に示すXXIB-XXIB線に沿う断面図である。
図22は、第1実施形態に係る第1感温ダイオードの電気回路図である。
図23は、前記メサ部の電気回路図である。
図24は、本開示の第1実施形態の第1変形例に係るチップのレイアウトを示す正面図であり、図14に対応する図である。
図25は、第1変形例に係る第1配線層のレイアウトを示す正面図であり、図15Aに対応する図である。
図26は、第1変形例に係る第1感温ダイオードの電気回路図である。
図27は、本開示の第2実施形態に係るチップのレイアウトを示す正面図であり、図14に対応する図である。
図28は、第2実施形態に係る第1配線層のレイアウトを示す正面図であり、図15Aに対応する図である。
図29は、図27に示すXXIX-XXIX線に沿う断面図である。
図30は、図27に示すXXX-XXX線に沿う断面図である。
図31は、図27に示すXXXI-XXXI線に沿う断面図である。
図32Aは、第2実施形態に係る第1感温ダイオードの電流の流れを示す図である。
図32Bは、第2実施形態に係る第1感温ダイオードの電気回路図である。
図33は、本開示の第2実施形態の第2変形例に係るチップのレイアウトを示す正面図であり、図27に対応する図である。
図34は、第2変形例に係る第1配線層のレイアウトを示す正面図であり、図28に対応する図である。
図35は、本開示の第3実施形態に係るチップのレイアウトを示す正面図であり、図14に対応する図である。
図36は、第3実施形態に係る第1配線層のレイアウトを示す正面図であり、図15Aに対応する図である。
図37は、第3実施形態に係る第2配線層のレイアウトを示す正面図であり、図15Aに対応する図である。
図38は、図35に示すXXXVIII-XXXVIII線に沿う断面図である。
図39は、図35に示すXXXIX-XXXIX線に沿う断面図である。
図40は、図35に示すXL-XL線に沿う断面図である。
図41は、図35に示すXLI-XLI線に沿う断面図である。
図42は、第2実施形態に係る第1感温ダイオードの電流の流れを示す図である。
図43は、第2実施形態に係る第1感温ダイオードの電気回路図である。
図44は、本開示の第3実施形態の第3変形例に係るチップのレイアウトを示す正面図であり、図35に対応する図である。
図45は、第3変形例に係る第1配線層のレイアウトを示す正面図であり、図36に対応する図である。
図46は、第3変形例に係る第2配線層のレイアウトを示す正面図であり、図37に対応する図である。
【0007】
[詳細な説明]
以下、添付図面を参照して、実施形態が詳細に説明される。添付図面は、模式図であり、厳密に図示されたものではなく、縮尺等は必ずしも一致しない。また、添付図面の間で対応する構造には同一の参照符号が付され、重複する説明は省略または簡略化される。説明が省略または簡略化された構造については、省略または簡略化される前になされた説明が適用される。
【0008】
比較対象(comparison target)が存する説明において「ほぼ(substantially)等しい」の文言が使用される場合、この文言は、比較対象の数値(形態)と等しい数値(形態)を含む他、比較対象の数値(形態)を基準とする±10%の範囲の数値誤差(形態誤差)も含む。実施形態では「第1」、「第2」、「第3」等の文言が使用されるが、これらは説明順序を明確にするために各構造の名称に付された記号であり、各構造の名称を限定する趣旨で付されていない。
【0009】
図1は、本開示の第1実施形態に係る半導体装置1の模式的な平面図である。図2は、図1に示すII-II線に沿う断面図である。図1および図2を参照して、半導体装置1は、直方体形状に形成されたチップ2を含む。チップ2は、この形態(this embodiment)では、Si単結晶を含むSiチップである。
【0010】
チップ2は、ワイドバンドギャップ半導体の単結晶を含むワイドバンドギャップチップからなっていてもよい。ワイドバンドギャップ半導体は、Siのバンドギャップよりも大きいバンドギャップを有する半導体である。GaN(窒化ガリウム)、SiC(炭化シリコン)、C(ダイアモンド)等が、ワイドバンドギャップ半導体として例示される。たとえば、チップ2は、SiC単結晶を含むSiCチップであってもよい。
(【0011】以降は省略されています)
この特許をJ-PlatPat(特許庁公式サイト)で参照する
関連特許
個人
半導体装置
1か月前
個人
積和演算用集積回路
1日前
サンケン電気株式会社
半導体装置
今日
東レ株式会社
太陽電池モジュール
1か月前
エイブリック株式会社
縦型ホール素子
24日前
エイブリック株式会社
縦型ホール素子
24日前
旭化成株式会社
発光素子
10日前
富士通株式会社
半導体装置
29日前
ローム株式会社
半導体装置
1か月前
ローム株式会社
抵抗チップ
15日前
富士電機株式会社
半導体装置
21日前
株式会社半導体エネルギー研究所
表示装置
24日前
三菱電機株式会社
半導体装置
29日前
三菱電機株式会社
半導体装置
9日前
ローム株式会社
半導体集積回路
9日前
日亜化学工業株式会社
発光装置
10日前
TDK株式会社
圧電素子
29日前
日亜化学工業株式会社
発光素子
29日前
日亜化学工業株式会社
発光装置
28日前
ローム株式会社
半導体装置
14日前
ローム株式会社
半導体装置
今日
ローム株式会社
窒化物半導体装置
15日前
株式会社半導体エネルギー研究所
発光デバイス
8日前
富士電機株式会社
半導体装置の製造方法
23日前
ローム株式会社
窒化物半導体装置
24日前
ローム株式会社
半導体装置
16日前
株式会社カネカ
太陽電池モジュール
28日前
沖電気工業株式会社
発光装置及び表示装置
1か月前
大日本印刷株式会社
太陽電池
17日前
日亜化学工業株式会社
発光素子
今日
日本電気株式会社
超伝導量子回路装置
29日前
サンケン電気株式会社
発光装置
28日前
株式会社MARUWA
発光装置及び照明器具
28日前
ローム株式会社
RAM
28日前
ローム株式会社
光センサ
22日前
日本ゼオン株式会社
構造体
2日前
続きを見る
他の特許を見る