TOP
|
特許
|
意匠
|
商標
特許ウォッチ
Twitter
他の特許を見る
公開番号
2025153951
公報種別
公開特許公報(A)
公開日
2025-10-10
出願番号
2024056690
出願日
2024-03-29
発明の名称
静電気保護素子
出願人
ローム株式会社
代理人
弁理士法人太陽国際特許事務所
主分類
H10D
30/60 20250101AFI20251002BHJP()
要約
【課題】トランジスタ構造の静電気保護素子において、ESDサージ印加時における電界集中を緩和させることによりESD耐量を向上させる。
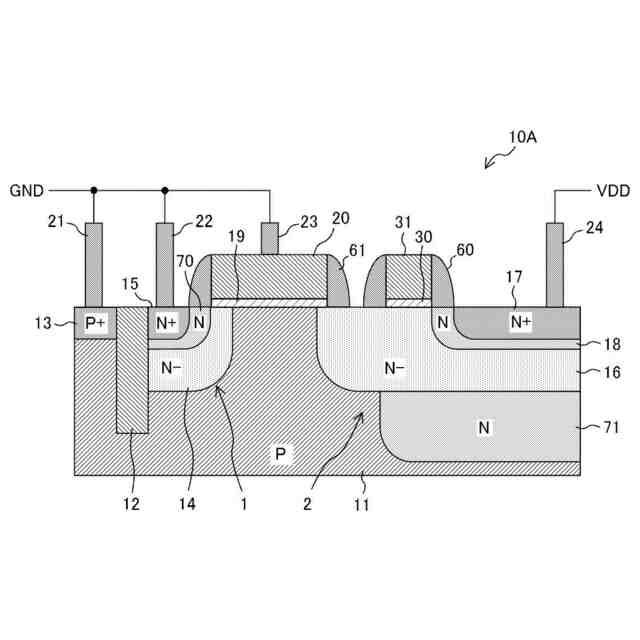
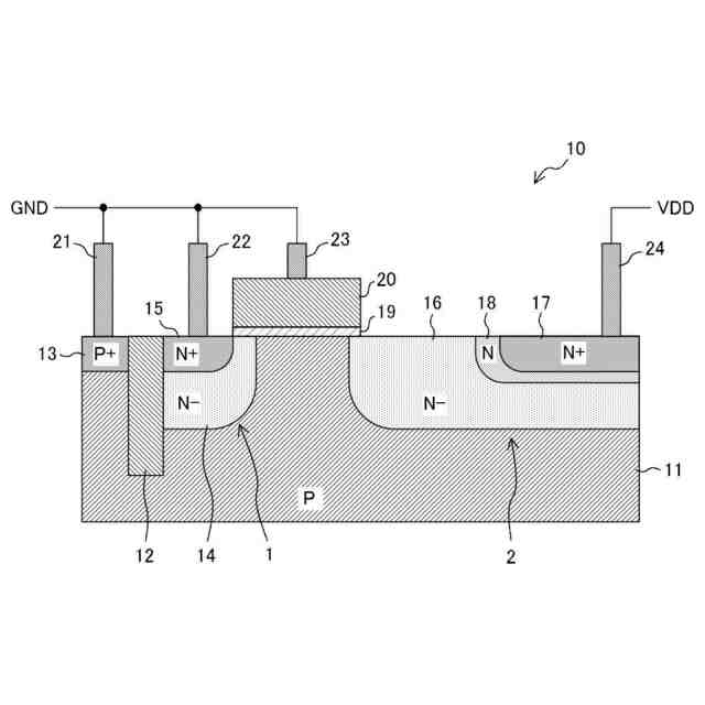
【解決手段】静電気保護素子は、半導体基板に設けられたソース領域及びドレイン領域と、半導体基板の表面の、ソース領域と前記ドレイン領域の間に設けられた第1のゲートとを有する。ドレイン領域は、不純物濃度が相対的に低い半導体からなる低濃度領域と、低濃度領域の内側に包含され、不純物濃度が相対的に高い半導体からなる高濃度領域と、低濃度領域の内側に包含されるとともに高濃度領域をその内側に包含し、不純物濃度が低濃度領域よりも高く、高濃度領域よりも低い半導体からなる中濃度領域と、を含む。
【選択図】図1
特許請求の範囲
【請求項1】
半導体基板に設けられたソース領域及びドレイン領域と、前記半導体基板の表面の、前記ソース領域と前記ドレイン領域の間に設けられた第1のゲートとを有する静電気保護素子であって、
前記ドレイン領域は、
不純物濃度が相対的に低い半導体からなる低濃度領域と、
前記低濃度領域の内側に包含され、不純物濃度が相対的に高い半導体からなる高濃度領域と、
前記低濃度領域の内側に包含されるとともに前記高濃度領域をその内側に包含し、不純物濃度が前記低濃度領域よりも高く、前記高濃度領域よりも低い半導体からなる中濃度領域と、
を含む
静電気保護素子。
続きを表示(約 1,200 文字)
【請求項2】
前記低濃度領域と前記中濃度領域との境界と、前記中濃度領域と前記高濃度領域との境界との距離は0.1μm以下である
請求項1に記載の静電気保護素子。
【請求項3】
前記低濃度領域の表面の、前記高濃度領域から離隔した位置であり且つ前記高濃度領域の近傍に絶縁膜を介して設けられた第2のゲートと、
前記第2のゲートの側面を覆うサイドウォールと、
を有し、
前記第2のゲートのエッジの位置と、前記低濃度領域と前記中濃度領域との境界の位置とが揃っており、
前記サイドウォールのエッジの位置と、前記中濃度領域と前記高濃度領域との境界の位置とが揃っている
請求項1又は請求項2に記載の静電気保護素子。
【請求項4】
半導体基板に設けられたソース領域及びドレイン領域と、前記半導体基板の表面の、前記ソース領域と前記ドレイン領域の間に設けられた第1のゲートとを有する静電気保護素子であって、
前記ドレイン領域は、
不純物濃度が相対的に低い半導体からなる低濃度領域と、
前記低濃度領域の内側に包含され、不純物濃度が相対的に高い半導体からなる高濃度領域と、
を含み、
前記低濃度領域の表面の、前記高濃度領域から離隔した位置であり且つ前記高濃度領域の近傍に絶縁膜を介して設けられ、前記高濃度領域に電気的に接続された第2のゲートを有する
静電気保護素子。
【請求項5】
前記高濃度領域のエッジと、前記第2のゲートのエッジとの距離が0.1μm以下である
請求項4に記載の静電気保護素子。
【請求項6】
半導体基板に設けられたソース領域及びドレイン領域と、前記半導体基板の表面の、前記ソース領域と前記ドレイン領域の間に設けられた第1のゲートとを有する静電気保護素子であって、
前記ドレイン領域は、
不純物濃度が相対的に低い半導体からなる低濃度領域と、
前記低濃度領域の内側に包含され、不純物濃度が相対的に高い半導体からなる高濃度領域と、
を含み、
前記半導体基板の表面の、前記低濃度領域と前記高濃度領域の境界を跨ぐ位置に絶縁膜を介して設けられ、フローティング電位とされた第2のゲートを有する
静電気保護素子。
【請求項7】
前記高濃度領域のエッジと、前記第2のゲートの一方のエッジとの距離が0.1μm以下であり、
前記高濃度領域のエッジと、前記第2のゲートの他方のエッジとの距離が0.3μm以上である
請求項6に記載の静電気保護素子。
【請求項8】
前記第2のゲートは、前記高濃度領域の上に延在している部分の面積が、前記低濃度領域の上に延在している部分の面積よりも大きい
請求項6又は請求項7に記載の静電気保護素子。
発明の詳細な説明
【技術分野】
【0001】
開示の技術は、静電気保護素子に関する。
続きを表示(約 1,700 文字)
【背景技術】
【0002】
半導体装置に関する技術として以下の技術が知られている。例えば特許文献1には、ドレイン領域が、不純物が注入されたドリフト領域を含み、ドリフト領域に全体が包含され、第2の極性の濃度がドリフト領域よりも高い高濃度領域と、第2の極性の不純物濃度がドリフト領域よりも高く、かつ、高濃度領域よりも低い中濃度領域と、を含む半導体装置が記載されている。
【0003】
特許文献2には、低濃度の不純物領域及び高濃度の不純物領域によって構成されるドレイン領域の表面に、SiO
2
膜及び多結晶Si層が設けられた構成が記載されている。
【先行技術文献】
【特許文献】
【0004】
国際公開第2012/120899号
特開平2-142191号公報
【発明の概要】
【発明が解決しようとする課題】
【0005】
ドライバIC(Integrated Circuit)等の集積回路において、静電気放電(ESD: Electro-Static-Discharge)による過大な入力電圧・電流に対して内部回路を保護するトランジスタ構造の静電気保護素子が用いられている。トランジスタ構造の静電気保護素子においては、ESDサージ印加時に、ドレイン領域における不純物の濃度勾配に応じた電界集中が起こり、格子温度が上昇する。格子温度が過大になると静電気保護素子は破壊に至る。
【0006】
開示の技術は、トランジスタ構造の静電気保護素子において、ESDサージ印加時における電界集中を緩和させることによりESD耐量を向上させることを目的とする。
【課題を解決するための手段】
【0007】
開示の技術に係る静電気保護素子は、半導体基板に設けられたソース領域及びドレイン領域と、前記半導体基板の表面の、前記ソース領域と前記ドレイン領域の間に設けられた第1のゲートとを有する静電気保護素子であって、前記ドレイン領域は、不純物濃度が相対的に低い半導体からなる低濃度領域と、前記低濃度領域の内側に包含され、不純物濃度が相対的に高い半導体からなる高濃度領域と、前記低濃度領域の内側に包含されるとともに前記高濃度領域をその内側に包含し、不純物濃度が前記低濃度領域よりも高く、前記高濃度領域よりも低い半導体からなる中濃度領域と、を含む。
【0008】
開示の技術に係る他の静電気保護素子は、半導体基板に設けられたソース領域及びドレイン領域と、前記半導体基板の表面の、前記ソース領域と前記ドレイン領域の間に設けられた第1のゲートとを有する静電気保護素子であって、前記ドレイン領域は、不純物濃度が相対的に低い半導体からなる低濃度領域と、前記低濃度領域の内側に包含され、不純物濃度が相対的に高い半導体からなる高濃度領域と、を含み、前記低濃度領域の表面の、前記高濃度領域から離隔した位置であり且つ前記高濃度領域の近傍に絶縁膜を介して設けられ、前記高濃度領域に電気的に接続された第2のゲートを有する。
【0009】
開示の技術に係る他の静電気保護素子は、半導体基板に設けられたソース領域及びドレイン領域と、前記半導体基板の表面の、前記ソース領域と前記ドレイン領域の間に設けられた第1のゲートとを有する静電気保護素子であって、前記ドレイン領域は、不純物濃度が相対的に低い半導体からなる低濃度領域と、前記低濃度領域の内側に包含され、不純物濃度が相対的に高い半導体からなる高濃度領域と、を含み、前記半導体基板の表面の、前記低濃度領域と前記高濃度領域の境界を跨ぐ位置に絶縁膜を介して設けられ、フローティング電位とされた第2のゲートを有する。
【発明の効果】
【0010】
開示の技術によれば、トランジスタ構造の静電気保護素子において、ESDサージ印加時における電界集中を緩和させることによりESD耐量を向上させることが可能となる。
【図面の簡単な説明】
(【0011】以降は省略されています)
この特許をJ-PlatPat(特許庁公式サイト)で参照する
関連特許
ローム株式会社
半導体装置
1か月前
ローム株式会社
半導体装置
10日前
ローム株式会社
半導体装置
18日前
ローム株式会社
半導体装置
10日前
ローム株式会社
半導体装置
26日前
ローム株式会社
半導体装置
26日前
ローム株式会社
半導体装置
1か月前
ローム株式会社
半導体装置
10日前
ローム株式会社
半導体装置
3日前
ローム株式会社
半導体装置
1か月前
ローム株式会社
電源制御装置
26日前
ローム株式会社
信号伝達装置
26日前
ローム株式会社
定電圧生成回路
10日前
ローム株式会社
半導体集積回路
10日前
ローム株式会社
半導体集積回路
11日前
ローム株式会社
定電圧生成回路
10日前
ローム株式会社
半導体モジュール
19日前
ローム株式会社
モータドライバ回路
26日前
ローム株式会社
比較回路、半導体装置
10日前
ローム株式会社
サーマルプリントヘッド
10日前
ローム株式会社
逐次比較型AD変換回路
18日前
ローム株式会社
半導体装置およびシステム
18日前
ローム株式会社
電源制御装置及び電源装置
3日前
ローム株式会社
監視回路及びレジスタ制御装置
10日前
ローム株式会社
信号受信装置、IC及び電気機器
24日前
ローム株式会社
電源制御装置、スイッチング電源
3日前
ローム株式会社
昇圧型スイッチングレギュレータ
12日前
ローム株式会社
モータドライバ回路および駆動方法
11日前
ローム株式会社
電圧調整装置及び電荷蓄積システム
12日前
ローム株式会社
半導体装置および半導体装置の製造方法
11日前
ローム株式会社
半導体装置および半導体装置の製造方法
1か月前
ローム株式会社
検出回路、信号伝達装置、電子機器、車両
10日前
ローム株式会社
力率改善回路、制御装置、および電子機器
1か月前
ローム株式会社
ドライバ、信号伝達装置、電子機器、車両
3日前
ローム株式会社
半導体装置、および半導体装置の製造方法
1か月前
ローム株式会社
半導体装置、および半導体装置の製造方法
10日前
続きを見る
他の特許を見る