TOP
|
特許
|
意匠
|
商標
特許ウォッチ
Twitter
他の特許を見る
公開番号
2025145856
公報種別
公開特許公報(A)
公開日
2025-10-03
出願番号
2024046318
出願日
2024-03-22
発明の名称
半導体装置
出願人
ローム株式会社
代理人
弁理士法人太陽国際特許事務所
主分類
H03K
19/003 20060101AFI20250926BHJP(基本電子回路)
要約
【課題】NBTIの信頼性を確保し、トランジスタの誤動作を有効に抑制することができる半導体装置を提供する。
【解決手段】この半導体装置は、PチャネルMOSトランジスタを内部に含み、アクティブ状態とスタンバイ状態に適宜切り替えられる内部回路と、PチャネルMOSトランジスタのバックゲートにバイアス電圧を与える電圧供給回路とを備える。電圧供給回路は、アクティブ状態では、バイアス電圧を第1電圧に設定し、スタンバイ状態では、バイアス電圧を第1電圧よりも低い第2電圧に設定する。
【選択図】図2
特許請求の範囲
【請求項1】
PチャネルMOSトランジスタを内部に含み、アクティブ状態とスタンバイ状態に適宜切り替えられる内部回路と、
前記PチャネルMOSトランジスタのバックゲートにバイアス電圧を与える電圧供給回路と
を備え、
前記電圧供給回路は、
前記アクティブ状態では、前記バイアス電圧を第1電圧に設定し、
前記スタンバイ状態では、前記バイアス電圧を前記第1電圧よりも低い第2電圧に設定する
ことを特徴とする半導体装置。
続きを表示(約 570 文字)
【請求項2】
前記内部回路及び前記電圧供給回路は、外部から電源電圧を供給されるとともに、前記アクティブ状態又は前記スタンバイ状態に切り替える切替制御信号を受信するよう構成され、
前記電圧供給回路は、
前記切替制御信号が前記アクティブ状態を指定するとき、前記バイアス電圧を前記第1電圧として前記内部回路へ供給し、
前記切替制御信号がスタンバイ状態を指定するとき、前記バイアス電圧を前記第2電圧に降下させて前記内部回路へ供給する、
請求項1に記載の半導体装置。
【請求項3】
前記電圧供給回路は、前記スタンバイ状態において動作して前記電源電圧を前記第2電圧に降下させて前記バイアス電圧として出力する降圧レギュレータを更に備える、請求項2に記載の半導体装置。
【請求項4】
前記電圧供給回路は、前記アクティブ状態において導通して前記電源電圧を前記第1電圧として前記内部回路に供給するトランジスタを更に備える、請求項3に記載の半導体装置。
【請求項5】
前記電圧供給回路は、前記スタンバイ状態において導通して前記電源電圧を供給する第1トランジスタと、ダイオード接続されて前記電源電圧を所定電圧だけ降下させる第2トランジスタとを更に備える、請求項2に記載の半導体装置。
発明の詳細な説明
【技術分野】
【0001】
本発明は、半導体装置に関し、特に、PチャネルMOS(Metal Oxide Semiconductor)トランジスタの誤動作の抑制に有効な半導体装置に関する。
続きを表示(約 1,400 文字)
【背景技術】
【0002】
半導体集積回路に含まれるPチャネルMOSのトランジスタ(以降、PMOSトランジスタという)においては、NBTI(Negative Bias Temperature Instability)という特性の変動が問題になることが知られており、微細化の進展によりその問題が一層大きくなっている。NBTIは、PMOSトランジスタのゲートに負のゲートバイアスを印加していると、該トランジスタのしきい値電圧(ΔVth)の絶対値が次第に大きくなっていく現象である。
【先行技術文献】
【特許文献】
【0003】
特開2015-79916号公報
【発明の概要】
【発明が解決しようとする課題】
【0004】
NBTIによって、トランジスタのしきい値電圧が大きくなってしまうと、トランジスタがオンしなかったり、あるいは該トランジスタのオンのタイミングが遅れたりなどの誤動作の可能性が大きくなる。しかしながら、NBTIによるトランジスタの劣化への対策は、従来においては十分に取られていないのが現状である。
【0005】
具体的には、回路のスタンバイ状態が長期間続いた後に回路がアクティブ状態に切り替わってPMOSトランジスタが動作する場合、NBTIの信頼性確保がより困難となる。これにより、フリップフロップ回路やSRAMメモリ回路などの誤動作が発生し、半導体集積回路装置の信頼性を損なう虞がある。
【0006】
本発明は、NBTIの信頼性を確保し、トランジスタの誤動作を有効に抑制することができる半導体装置を提供するものである。
【課題を解決するための手段】
【0007】
本発明に係る半導体装置は、PチャネルMOSトランジスタを内部に含み、アクティブ状態とスタンバイ状態に適宜切り替えられる内部回路と、前記PチャネルMOSトランジスタのバックゲートにバイアス電圧を与える電圧供給回路とを備える。前記電圧供給回路は、前記アクティブ状態では、前記バイアス電圧を第1電圧に設定し、前記スタンバイ状態では、前記バイアス電圧を前記第1電圧よりも低い第2電圧に設定することを特徴とする。
【発明の効果】
【0008】
本発明によれば、NBTIの信頼性を確保し、トランジスタの誤動作を有効に抑制することができる半導体装置を提供することができる。
【図面の簡単な説明】
【0009】
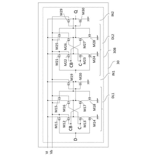
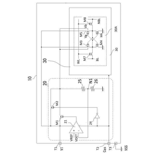
第1の実施の形態に係る半導体装置10を説明する概略図である。
第1の実施の形態に係る半導体装置10の構成の詳細の一例を示す回路図である。
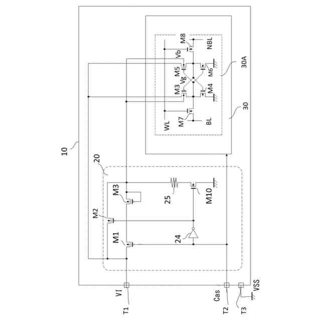
第2の実施の形態に係る半導体装置10の構成の詳細の一例を示す回路図である。
第3の実施の形態に係る半導体装置10の構成の詳細の一例を示す回路図である。
【発明を実施するための形態】
【0010】
以下、添付図面を参照して本実施形態について説明する。添付図面では、機能的に同じ要素は同じ番号で表示される場合もある。なお、添付図面は本開示の原理に則った実施形態と実装例を示しているが、これらは本開示の理解のためのものであり、決して本開示を限定的に解釈するために用いられるものではない。本明細書の記述は典型的な例示に過ぎず、本開示の特許請求の範囲又は適用例を如何なる意味においても限定するものではない。
(【0011】以降は省略されています)
この特許をJ-PlatPat(特許庁公式サイト)で参照する
関連特許
ローム株式会社
半導体装置
14日前
ローム株式会社
半導体装置
19日前
ローム株式会社
半導体装置
19日前
ローム株式会社
半導体装置
19日前
ローム株式会社
半導体装置
14日前
ローム株式会社
半導体装置
6日前
ローム株式会社
電源制御装置
14日前
ローム株式会社
信号伝達装置
14日前
ローム株式会社
半導体集積回路
28日前
ローム株式会社
半導体モジュール
7日前
ローム株式会社
半導体メモリ装置
21日前
ローム株式会社
モータドライバ回路
14日前
ローム株式会社
逐次比較型AD変換回路
6日前
ローム株式会社
半導体装置およびシステム
6日前
ローム株式会社
半導体装置、電子機器、車両
28日前
ローム株式会社
半導体装置、電子機器、車両
28日前
ローム株式会社
信号受信装置、IC及び電気機器
12日前
ローム株式会社
昇圧型スイッチングレギュレータ
今日
ローム株式会社
電圧調整装置及び電荷蓄積システム
今日
ローム株式会社
パルス幅変調回路およびモータ駆動装置
28日前
ローム株式会社
半導体装置および半導体装置の製造方法
19日前
ローム株式会社
電圧電流変換回路および半導体集積回路
28日前
ローム株式会社
力率改善回路、制御装置、および電子機器
19日前
ローム株式会社
半導体装置、および半導体装置の製造方法
12日前
ローム株式会社
半導体装置、および半導体装置の製造方法
19日前
ローム株式会社
電源回路、電子コントロールユニット、自動車
6日前
ローム株式会社
雨検出装置、雨検出システム、および、雨検出方法
今日
ローム株式会社
三相ブラシレスモータのドライバ回路および駆動方法
21日前
ローム株式会社
信号伝達装置、電子機器、車両、絶縁ゲートドライバIC
6日前
ローム株式会社
半導体装置
27日前
ローム株式会社
半導体装置
29日前
ローム株式会社
半導体装置、マルチフェーズDC/DCコンバータ及び電源装置
12日前
ローム株式会社
制御装置、力率改善回路、電子機器、およびオフセット設定方法
6日前
ローム株式会社
SiC半導体装置
21日前
ローム株式会社
半導体モジュール
14日前
ローム株式会社
スイッチング装置、絶縁型DC/DCコンバータ及びAC/DCコンバータ
今日
続きを見る
他の特許を見る