TOP
|
特許
|
意匠
|
商標
特許ウォッチ
Twitter
他の特許を見る
10個以上の画像は省略されています。
公開番号
2025147937
公報種別
公開特許公報(A)
公開日
2025-10-07
出願番号
2024048456
出願日
2024-03-25
発明の名称
半導体装置
出願人
ローム株式会社
代理人
個人
,
個人
主分類
H10D
30/66 20250101AFI20250930BHJP()
要約
【課題】半導体装置のオン抵抗を維持しつつ耐圧を向上させる。
【解決手段】半導体装置10は、半導体層12と、複数のゲートトレンチ14と、複数のソーストレンチ16と、複数のゲートトレンチ14にそれぞれ埋め込まれた複数のゲート電極50と、複数のソーストレンチ16にそれぞれ埋め込まれた複数のソース電極52と、複数のソース電極52に電気的に接続されたソース配線24と、ソース配線24を半導体層12に接続する複数のコンタクト26とを備えている。半導体層12は、複数のメサ部28を含む。各メサ部は、複数のゲートトレンチ14のうちの1つと、該ゲートトレンチ14に第1方向に隣り合う複数のソーストレンチ16のうちの1つとの間に画定されている。各メサ部28において、コンタクト26とソーストレンチ16との間の距離は、コンタクト26とゲートトレンチ14との間の距離よりも小さい。
【選択図】図3
特許請求の範囲
【請求項1】
第1面および前記第1面と反対の第2面を有する半導体層であって、第1導電型のドリフト領域と、前記ドリフト領域上に位置する第2導電型のボディ領域と、前記ボディ領域上に位置する第1導電型のソース領域とを含む、半導体層と、
前記第1面から前記半導体層内に延びる壁を有する複数のゲートトレンチと、
前記第1面から前記半導体層内に延びる壁を有する複数のソーストレンチと、
前記半導体層の前記第1面上に位置するとともに、前記複数のゲートトレンチの前記壁および前記複数のソーストレンチの前記壁を覆う絶縁層と、
前記複数のゲートトレンチにそれぞれ埋め込まれた複数のゲート電極と、
前記複数のソーストレンチにそれぞれ埋め込まれた複数のソース電極と、
前記絶縁層上に位置するとともに、前記複数のソース電極に電気的に接続されたソース配線と、
前記ソース配線を前記半導体層に接続する複数のコンタクトと
を備え、
前記半導体層は、複数のメサ部を含み、各メサ部は、前記複数のゲートトレンチのうちの1つと、該ゲートトレンチに第1方向に隣り合う前記複数のソーストレンチのうちの1つとの間に画定されており、各メサ部は、前記複数のコンタクトのうちの1つに接触する第2導電型のコンタクト領域を含み、前記コンタクト領域は、前記ボディ領域よりも高い濃度の第2導電型の不純物を含んでおり、
各メサ部において、前記コンタクトと前記ソーストレンチとの間の距離は、前記コンタクトと前記ゲートトレンチとの間の距離よりも小さい、半導体装置。
続きを表示(約 1,100 文字)
【請求項2】
前記複数のゲートトレンチの各々は、前記第1方向にゲートトレンチ幅を有し、前記複数のソーストレンチの各々は、前記第1方向にソーストレンチ幅を有し、前記ソーストレンチ幅は、前記ゲートトレンチ幅よりも大きい、請求項1に記載の半導体装置。
【請求項3】
前記複数のゲートトレンチの各々は、前記第1方向にゲートトレンチ幅を有し、前記複数のソーストレンチの各々は、前記第1方向にソーストレンチ幅を有し、前記ゲートトレンチ幅は、前記ソーストレンチ幅と等しい、請求項1に記載の半導体装置。
【請求項4】
前記複数のコンタクトは、前記第1方向に一定のピッチで配置されている、請求項2に記載の半導体装置。
【請求項5】
前記複数のコンタクトは、前記第1方向に非一定のピッチで配置されている、請求項3に記載の半導体装置。
【請求項6】
前記複数のコンタクトは、前記複数のメサ部にそれぞれ部分的に埋め込まれており、前記複数のコンタクトの各々は、前記複数のゲート電極のうちの1つと少なくとも部分的に前記第1方向に対向している、請求項1~5のいずれか一項に記載の半導体装置。
【請求項7】
前記複数のゲートトレンチの各々は、前記ソース領域および前記ボディ領域を貫通して延びるとともに、前記ドリフト領域に隣接する底部を含み、
前記複数のソーストレンチの各々は、前記ソース領域および前記ボディ領域を貫通して延びるとともに、前記ドリフト領域に隣接する底部を含む、請求項1~5のいずれか一項に記載の半導体装置。
【請求項8】
前記複数のゲートトレンチの各々の前記底部に埋め込まれた第1フィールドプレート電極と、
前記複数のソーストレンチの各々の前記底部に埋め込まれた第2フィールドプレート電極と
をさらに備え、
前記第1フィールドプレート電極は、前記絶縁層によって前記ゲート電極から離隔され、前記第2フィールドプレート電極は、前記絶縁層によって前記ソース電極から離隔されている、請求項7に記載の半導体装置。
【請求項9】
前記第1フィールドプレート電極および前記第2フィールドプレート電極は、前記ソース配線に電気的に接続されている、請求項8に記載の半導体装置。
【請求項10】
前記半導体層の前記第2面に接触するドレイン電極と、
前記絶縁層上に位置し、前記ゲート電極に電気的に接続されたゲート配線と
をさらに備える、請求項1~5のいずれか一項に記載の半導体装置。
(【請求項11】以降は省略されています)
発明の詳細な説明
【技術分野】
【0001】
本開示は、半導体装置に関する。
続きを表示(約 2,100 文字)
【背景技術】
【0002】
特許文献1には、ゲートトレンチ内にゲート電極が埋め込まれたトレンチゲート構造を有するMISFETが開示されている。特許文献1に記載のMISFETでは、ソースプラグ電極が埋設される複数のソースコンタクト孔が、複数のゲートトレンチと交互に形成されている。
【先行技術文献】
【特許文献】
【0003】
特開2021-125649号公報
【0004】
[概要]
トレンチゲート構造を有する半導体装置において、オン抵抗を維持しつつ、耐圧を向上させること(あるいは、耐圧を維持したままオン抵抗を低減すること)が望まれている。
【0005】
本開示の一態様による半導体装置は、第1面および前記第1面と反対の第2面を有する半導体層であって、第1導電型のドリフト領域と、前記ドリフト領域上に位置する第2導電型のボディ領域と、前記ボディ領域上に位置する第1導電型のソース領域とを含む、半導体層と、前記第1面から前記半導体層内に延びる壁を有する複数のゲートトレンチと、前記第1面から前記半導体層内に延びる壁を有する複数のソーストレンチと、前記半導体層の前記第1面上に位置するとともに、前記複数のゲートトレンチの前記壁および前記複数のソーストレンチの前記壁を覆う絶縁層と、前記複数のゲートトレンチにそれぞれ埋め込まれた複数のゲート電極と、前記複数のソーストレンチにそれぞれ埋め込まれた複数のソース電極と、前記絶縁層上に位置するとともに、前記複数のソース電極に電気的に接続されたソース配線と、前記ソース配線を前記半導体層に接続する複数のコンタクトとを備えている。前記半導体層は、複数のメサ部を含み、各メサ部は、前記複数のゲートトレンチのうちの1つと、該ゲートトレンチに第1方向に隣り合う前記複数のソーストレンチのうちの1つとの間に画定されている。各メサ部は、前記複数のコンタクトのうちの1つに接触する第2導電型のコンタクト領域を含み、前記コンタクト領域は、前記ボディ領域よりも高い濃度の第2導電型の不純物を含んでいる。各メサ部において、前記コンタクトと前記ソーストレンチとの間の距離は、前記コンタクトと前記ゲートトレンチとの間の距離よりも小さい。
【0006】
他の特徴および態様は、以下の詳細な説明、図面、および特許請求の範囲から明らかとなるであろう。
【図面の簡単な説明】
【0007】
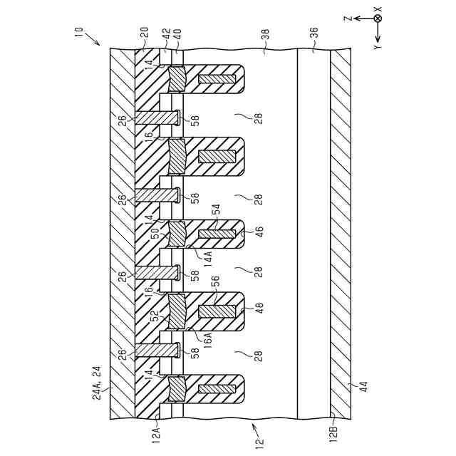
図1は、第1実施形態による例示的な半導体装置の概略平面図である。
図2は、図1の一部の拡大図である。
図3は、図2のF3-F3線に沿った半導体装置の概略断面図である。
図4は、図2のF4-F4線に沿った半導体装置の概略断面図である。
図5は、図1のF5-F5線に沿った半導体装置の概略断面図である。
図6は、図1のF6-F6線に沿った半導体装置の概略断面図である。
図7は、複数の実験例による半導体装置のブレークダウン電圧を示すグラフである。
図8は、複数の実験例による半導体装置の閾値電圧を示すグラフである。
図9は、第2実施形態による例示的な半導体装置の概略平面図である。
図10は、図9の一部の拡大図である。
図11は、図10のF11-F11線に沿った半導体装置の概略断面図である。
図12は、変更例による半導体装置の概略平面図である。
図13は、図12に示す半導体装置の概略断面図である。
図14は、変更例による半導体装置の概略断面図である。
図15は、変更例による半導体装置の概略断面図である。
【0008】
[詳細な説明]
以下、添付図面を参照して本開示の半導体装置のいくつかの実施形態を説明する。図面および詳細な説明を通して、同じ参照数字は同じ要素を指す。図面は縮尺通りでない場合があり、図面における要素の相対的な大きさ、比率、および描写は、明瞭さ、説明、および便宜のために誇張されている場合がある。
【0009】
以下の詳細な説明は、記載された方法、装置、および/またはシステムの包括的な理解を提供する。記載された方法、装置、および/またはシステムの変更および均等物は、当業者には明らかである。必然的に特定の順序で生じる動作を除き、動作の順序は例示的なものであり、かつ当業者にとって明らかなように変更することができる。当業者に周知の機能および構造についての説明は省略され得る。例示的な実施形態は、異なる形態を有していてもよく、記載された例に限定されない。
【0010】
<第1実施形態>
図1~図6を参照して、第1実施形態による例示的な半導体装置10について説明する。図1は、半導体装置10の概略平面図である。図2は、図1の一部の拡大図である。図3~図6は、半導体装置10の概略断面図である。以下に説明するように、半導体装置10は、トレンチゲート型MISFETとして構成されていてよい。
(【0011】以降は省略されています)
この特許をJ-PlatPat(特許庁公式サイト)で参照する
関連特許
ローム株式会社
半導体装置
20日前
ローム株式会社
半導体装置
15日前
ローム株式会社
半導体装置
15日前
ローム株式会社
半導体装置
7日前
ローム株式会社
電源制御装置
15日前
ローム株式会社
信号伝達装置
15日前
ローム株式会社
半導体集積回路
今日
ローム株式会社
半導体モジュール
8日前
ローム株式会社
モータドライバ回路
15日前
ローム株式会社
逐次比較型AD変換回路
7日前
ローム株式会社
半導体装置およびシステム
7日前
ローム株式会社
信号受信装置、IC及び電気機器
13日前
ローム株式会社
昇圧型スイッチングレギュレータ
1日前
ローム株式会社
モータドライバ回路および駆動方法
今日
ローム株式会社
電圧調整装置及び電荷蓄積システム
1日前
ローム株式会社
半導体装置および半導体装置の製造方法
今日
ローム株式会社
半導体装置、および半導体装置の製造方法
13日前
ローム株式会社
電源回路、電子コントロールユニット、自動車
7日前
ローム株式会社
雨検出装置、雨検出システム、および、雨検出方法
1日前
ローム株式会社
信号伝達装置、電子機器、車両、絶縁ゲートドライバIC
7日前
ローム株式会社
半導体装置、マルチフェーズDC/DCコンバータ及び電源装置
13日前
ローム株式会社
制御装置、力率改善回路、電子機器、およびオフセット設定方法
7日前
ローム株式会社
半導体モジュール
15日前
ローム株式会社
オーディオ回路、それを用いた電子機器および車載オーディオシステム
今日
ローム株式会社
スイッチング装置、絶縁型DC/DCコンバータ及びAC/DCコンバータ
1日前
ローム株式会社
半導体装置および半導体モジュール
1日前
個人
積和演算用集積回路
21日前
サンケン電気株式会社
半導体装置
20日前
旭化成株式会社
発光素子
1か月前
日機装株式会社
半導体発光装置
15日前
ローム株式会社
抵抗チップ
1か月前
三菱電機株式会社
半導体装置
29日前
富士電機株式会社
半導体装置
1か月前
三菱電機株式会社
半導体装置
7日前
株式会社東芝
半導体装置
7日前
日亜化学工業株式会社
発光装置
1か月前
続きを見る
他の特許を見る