TOP
|
特許
|
意匠
|
商標
特許ウォッチ
Twitter
他の特許を見る
10個以上の画像は省略されています。
公開番号
2025149408
公報種別
公開特許公報(A)
公開日
2025-10-08
出願番号
2024050036
出願日
2024-03-26
発明の名称
フォトダイオード
出願人
ローム株式会社
代理人
弁理士法人深見特許事務所
主分類
H10F
30/20 20250101AFI20251001BHJP()
要約
【課題】ノイズの影響が抑制されたフォトダイオードを提供する。
【解決手段】フォトダイオード100は、受光面2aを有する。フォトダイオード100は、吸収層22と、ウインドウ層23と、電極41と、コンタクト層3と、遮光部6とを備える。ウインドウ層23は、吸収層22の上に設けられている。電極41は、受光面2aの上に設けられている。コンタクト層3は、ウインドウ層23と電極41とを接続する。遮光部6は、電極41と離間して配置されている。受光面2aは、ウインドウ層23から見て吸収層22の反対に位置する。受光面2aは、受光領域20aと、受光領域20a以外の遮光領域20bとを含む。遮光部6は、遮光領域20bの上に形成されている。
【選択図】図2
特許請求の範囲
【請求項1】
受光面を有するフォトダイオードであって、
吸収層と、
前記吸収層の上に設けられたウインドウ層と、
前記受光面の上に設けられている電極と、
前記ウインドウ層と前記電極とを接続するコンタクト層と、
前記電極と離間して配置されている遮光部とを備え、
前記受光面は、前記ウインドウ層から見て前記吸収層の反対に位置し、
前記受光面は、受光領域と、前記受光領域以外の遮光領域とを含み、
前記遮光部は、前記遮光領域の上に形成されている、フォトダイオード。
続きを表示(約 670 文字)
【請求項2】
前記受光面の平面視において、前記受光領域と前記遮光領域との間に前記電極が配置されている、請求項1に記載のフォトダイオード。
【請求項3】
前記受光面には、溝が設けられており、
前記平面視において、前記溝は前記電極と前記遮光部との間に配置されている、請求項2に記載のフォトダイオード。
【請求項4】
前記溝は、前記ウインドウ層を貫通するように設けられている、請求項3に記載のフォトダイオード。
【請求項5】
前記溝は、前記吸収層を貫通するように設けられている、請求項4に記載のフォトダイオード。
【請求項6】
前記吸収層は、拡散領域を含み、
前記拡散領域は、前記平面視において、前記溝に重なる位置に配置されている、請求項3または請求項4に記載のフォトダイオード。
【請求項7】
前記ウインドウ層は、900nm以下の光の波長成分を吸収し、
前記吸収層は、1700nm以下の光の波長成分を吸収する、請求項1から請求項5のいずれか1項に記載のフォトダイオード。
【請求項8】
前記ウインドウ層は、900nm以下の光の波長成分を吸収し、
前記吸収層は、1700nm以下の光の波長成分を吸収する、請求項6に記載のフォトダイオード。
【請求項9】
前記ウインドウ層は、InPを含み、
前記吸収層は、InGaAsまたはInGaAsPを含む、請求項7に記載のフォトダイオード。
発明の詳細な説明
【技術分野】
【0001】
本開示は、フォトダイオードに関する。
続きを表示(約 2,200 文字)
【背景技術】
【0002】
特開平11-54785号公報(特許文献1)は、受光部を有するフォトダイオードを開示している。受光部に光が照射されると光電流が流れる。
【先行技術文献】
【特許文献】
【0003】
特開平11-54785号公報[概要] しかし、受光部以外の領域に光が照射されると、受光部以外における領域で光電流が流れてしまいノイズの影響が大きくなる。
【0004】
本開示の一態様によるフォトダイオードは、受光面を有する。フォトダイオードは、吸収層と、ウインドウ層と、電極と、コンタクト層と、遮光部とを備える。ウインドウ層は、吸収層の上に設けられている。電極は、受光面の上に設けられている。コンタクト層は、ウインドウ層と電極とを接続する。遮光部は、電極と離間して配置されている。受光面は、ウインドウ層から見て吸収層の反対に位置する。受光面は、受光領域と、受光領域以外の遮光領域とを含む。遮光部は、遮光領域の上に形成されている。
【図面の簡単な説明】
【0005】
図1は、実施の形態1のフォトダイオードの概略平面図である。
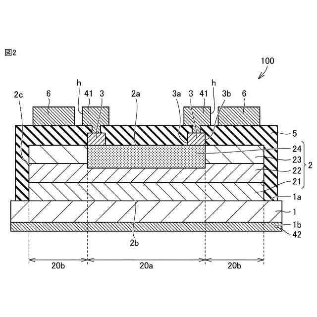
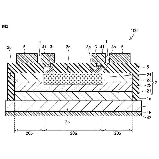
図2は、図1の線分II-IIにおけるフォトダイオードの概略断面図である。
図3は、実施の形態1のフォトダイオードの製造方法における一工程を示す概略断面図である。
図4は、実施の形態1のフォトダイオードの製造方法における図3に示される工程の次工程を示す概略断面図である。
図5は、実施の形態1のフォトダイオードの製造方法における図4に示される工程の次工程を示す概略断面図である。
図6は、実施の形態1のフォトダイオードの製造方法における図5に示される工程の次工程を示す概略断面図である。
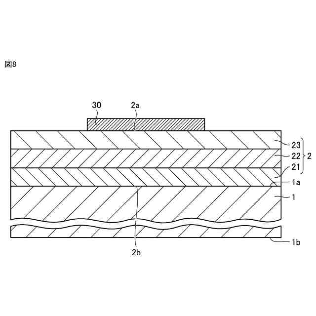
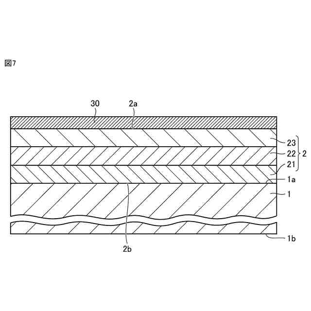
図7は、実施の形態1のフォトダイオードの製造方法における図6に示される工程の次工程を示す概略断面図である。
図8は、実施の形態1のフォトダイオードの製造方法における図7に示される工程の次工程を示す概略断面図である。
図9は、実施の形態1のフォトダイオードの製造方法における図8に示される工程の次工程を示す概略断面図である。
図10は、実施の形態1のフォトダイオードの製造方法における図9に示される工程の次工程を示す概略断面図である。
図11は、実施の形態1のフォトダイオードの製造方法における図10に示される工程の次工程を示す概略断面図である。
図12は、実施の形態1のフォトダイオードの製造方法における図11に示される工程の次工程を示す概略断面図である。
図13は、実施の形態1のフォトダイオードの製造方法における図12に示される工程の次工程を示す概略断面図である。
図14は、実施の形態1のフォトダイオードの製造方法における図13に示される工程の次工程を示す概略断面図である。
図15は、実施の形態2のフォトダイオードの概略平面図である。
図16は、図15の線分XVI-XVIにおけるフォトダイオードの概略断面図である。
図17は、実施の形態3のフォトダイオードの概略断面図である。
図18は、実施の形態4のフォトダイオードの概略平面図である。
図19は、図18の線分XIX-XIXにおけるフォトダイオードの概略断面図である。[詳細な説明] 図面に基づいて本開示の実施の形態の詳細について説明する。なお、以下の図面において同一または相当する部分には同一の参照番号を付し、その説明は繰返さない。以下に記載する実施の形態の少なくとも一部の構成を任意に組み合わせてもよい。
【0006】
(実施の形態1)
図1は、実施の形態1のフォトダイオード100の概略平面図である。図2は、図1の線分II-IIにおけるフォトダイオード100の概略断面図である。
【0007】
フォトダイオード100は、たとえば、光が照射されると光電流が流れる半導体素子である。フォトダイオード100は、基板1と、半導体積層体2と、コンタクト層3と、絶縁層5と、電極41,42と、遮光部6とを備えている。
【0008】
基板1は、第1主面1aと、第1主面1aの反対に位置する第2主面1bとを有する。第1主面1aと第2主面1bとは、基板1の厚さ方向における両端面である。基板1は、例えば、InP(インジウムリン)基板のような半導体基板である。
【0009】
半導体積層体2は、基板1の第1主面1a上に配置されている。半導体積層体2は、受光面2aと、底面2bと、側面2cとを有する。底面2bは、基板1の第1主面1aに接触している。受光面2aは、底面2bの反対に位置する。つまり、受光面2aと底面2bとは、半導体積層体2の厚さ方向における両端面である。側面2cは、受光面2aおよび底面2bに連なる。
【0010】
半導体積層体2は、積層された複数の半導体層を含む。具体的には、半導体積層体2は、バッファ層21と、吸収層22と、ウインドウ層23と、を含む。半導体積層体2は、バッファ層21、吸収層22、ウインドウ層23が順に積層されて構成されている。
(【0011】以降は省略されています)
この特許をJ-PlatPat(特許庁公式サイト)で参照する
関連特許
ローム株式会社
RAM
1日前
ローム株式会社
RAM
1日前
ローム株式会社
発振回路
1日前
ローム株式会社
電源装置
1日前
ローム株式会社
駆動回路
3日前
ローム株式会社
半導体装置
1日前
ローム株式会社
半導体装置
1日前
ローム株式会社
テスト回路
2日前
ローム株式会社
半導体装置
2日前
ローム株式会社
半導体装置
3日前
ローム株式会社
暗号化装置
2日前
ローム株式会社
半導体装置
2日前
ローム株式会社
半導体装置
2日前
ローム株式会社
半導体装置
3日前
ローム株式会社
半導体装置
1日前
ローム株式会社
半導体装置
2日前
ローム株式会社
半導体装置
1日前
ローム株式会社
半導体装置
1日前
ローム株式会社
無線通信回路
3日前
ローム株式会社
無線通信装置
2日前
ローム株式会社
静電気保護素子
1日前
ローム株式会社
異常検知システム
1日前
ローム株式会社
フォトダイオード
3日前
ローム株式会社
検証装置及び検証方法
1日前
ローム株式会社
半導体装置及び補正方法
1日前
ローム株式会社
半導体装置及び半導体チップ
2日前
ローム株式会社
アンテナ付高周波モジュール
3日前
ローム株式会社
信号伝達装置、電子機器、車両
1日前
ローム株式会社
半導体装置及びレギュレータ装置
1日前
ローム株式会社
半導体装置、および通信システム
2日前
ローム株式会社
半導体装置、および通信システム
2日前
ローム株式会社
音波処理装置、ソナー装置及び車両
2日前
ローム株式会社
レギュレータ回路を備えた集積回路
1日前
ローム株式会社
スイッチ装置及び負荷駆動システム
2日前
ローム株式会社
映像処理装置および映像処理システム
1日前
ローム株式会社
過電流保護回路、半導体装置、電源装置
2日前
続きを見る
他の特許を見る