TOP
|
特許
|
意匠
|
商標
特許ウォッチ
Twitter
他の特許を見る
10個以上の画像は省略されています。
公開番号
2025152437
公報種別
公開特許公報(A)
公開日
2025-10-09
出願番号
2024054333
出願日
2024-03-28
発明の名称
音波処理装置、ソナー装置及び車両
出願人
ローム株式会社
代理人
弁理士法人 佐野特許事務所
主分類
G01S
7/526 20060101AFI20251002BHJP(測定;試験)
要約
【課題】複数の音波送受波部から検知対象物までの距離を正確に算出する。
【解決手段】反射波識別部(6)は、各搬送波(WA1、WA2、WB1、WB2、WC1、WC2)と対応する個別の反射波(RA1、RA2、RB1、RB2、RC1、RC2)を識別しない場合に、受波信号(RS)を不定受波信号(RN)と判定し、反射波識別部(6)が不定受波信号(RN)を判定した場合において、不定受波信号(RN)と個別の反射波(RA1、RA2、RB1、RB2、RC1、RC2)との識別順及び識別のタイミングに応じて、各音波受波部(21、22、23)と検知対象物(600)との距離(L1、L2、L3)を算出するように構成された検知距離算出部(8)を有する。
【選択図】図1
特許請求の範囲
【請求項1】
波形が異なるとともにそれぞれ異なる間隔で音波送波部から送波された搬送波の識別対象物で反射された反射波を受波し、前記反射波に応じて前記音波送波部から検知対象物までの距離を検出するように構成された音波処理装置であって、
音波を受波可能なように構成された音波受波部で受波した音波に基づいて受波信号を生成するように構成された受波信号生成部と、
参照データを格納するように構成された参照データ格納部と、
前記受波信号と前記参照データとの相関に基づいて、前記搬送波と対応する個別の反射波を識別するように構成された反射波識別部と、を備え、
前記反射波識別部は、各前記搬送波と対応する個別の前記反射波を識別しない場合に、前記受波信号を不定受波信号と判定し、
前記反射波識別部が前記不定受波信号を判定した場合において、前記不定受波信号と個別の前記反射波との識別順及び識別のタイミングに応じて、前記検知対象物と前記音波受波部との距離を算出するように構成された検知距離算出部を備えるように構成された音波処理装置。
続きを表示(約 1,200 文字)
【請求項2】
前記搬送波を送波可能なように構成された複数の音波送波部からそれぞれ異なる波形及び異なる送波間隔で前記搬送波を送波させる駆動信号を生成可能に構成された音波駆動部を備えるように構成された請求項1に記載の音波処理装置。
【請求項3】
前記音波駆動部は、異なる波形を有するそれぞれの前記搬送波のうち、1つずつの前記搬送波が同期して送波されるように前記駆動信号を生成するように構成された請求項2に記載の音波処理装置。
【請求項4】
前記反射波識別部が個別の前記反射波を識別した後に前記不定受波信号を判定した場合、前記検知距離算出部が、各前記搬送波の送波時刻と個別の前記反射波の識別時刻とに基づいて、各前記音波送波部から前記検知対象物までの距離を算出するように構成された請求項1に記載の音波処理装置。
【請求項5】
前記音波駆動部は最初の前記搬送波が同期するように各前記音波送波部を動作させる場合において、前記反射波識別部が前記不定受波信号を判定した後、個別の前記反射波を識別した場合、個別の前記反射波の受信時刻から個別の前記反射波に対応する各前記搬送波の送波間隔だけ遡った時刻が一致したとき、前記検知距離算出部は、各前記音波送波部と前記検知対象物とが等距離であると判定するように構成された請求項3に記載の音波処理装置。
【請求項6】
前記反射波識別部が前記不定受波信号を判定した後に個別の前記反射波を検出した場合、前記検知距離算出部が、各前記搬送波の送波時刻と個別の前記反射波の識別時刻とに基づいて、各前記音波送波部から前記検知対象物までの距離を算出するように構成された請求項1に記載の音波処理装置。
【請求項7】
前記音波駆動部が最後の前記搬送波が同期するように各前記音波送波部を動作させる場合において、前記反射波識別部が個別の前記反射波を識別した後に前記不定受波信号を判定した場合、個別の前記反射波の受信時刻から個別の前記反射波に対応する各前記搬送波の送波間隔だけ進んだ時刻が一致したとき、前記検知距離算出部が、各前記音波送波部と前記検知対象物とが等距離であると判定するように構成された請求項3に記載の音波処理装置。
【請求項8】
前記搬送波の周波数が、人間の可聴域の周波数の上限よりも高い周波数である請求項1に記載の音波処理装置。
【請求項9】
請求項1から請求項8のいずれかに記載の前記音波処理装置と、
前記搬送波を送波可能なように構成された複数の音波送波部と、
音波を受波可能なように構成された複数の前記音波受波部と、
を備えるように構成されたソナー装置。
【請求項10】
請求項9に記載のソナー装置を備えるように構成された車両。
発明の詳細な説明
【技術分野】
【0001】
本発明は、音波処理装置に関するものであり、音波処理装置を用いたソナー装置及び車両に関する。
続きを表示(約 2,400 文字)
【背景技術】
【0002】
従来、音波を発生させて障害物で反射された反射波を計測することにより障害物までの距離を測定するソナー装置が知られている。このようなソナー装置は、例えば、車両に備えられて、車間距離を測定する超音波ソナーに用いられる(特許文献1等参照)。
【先行技術文献】
【特許文献】
【0003】
国際公開第2020/004609号
【0004】
[概要]
このようなソナー装置を用いた超音波ソナーでは、音波を送波する音波送波部を複数個備えるとともに、各音波送波部に対応した複数個の音波受波部を備える構成が用いられる。このような構成において、複数の音波送波部及び音波受波部と、障害物との距離によっては、反射波が重ね合わされて正確な距離の測定が困難になる場合があった。
【0005】
本開示の一態様による音波処理装置は、周波数変化のパターンが異なるとともにそれぞれ異なる間隔で送波された搬送波の検知対象物で反射された反射波を受波し、前記反射波に応じて前記検知対象物までの距離を検出するように構成される。異なる周波数変化のパターンを有するそれぞれの前記搬送波のうち、最初の前記搬送波又は最後の前記搬送波が同期して送波されている。音波を受波可能なように構成された音波受波部で受波した音波に基づいて受波信号を生成するように構成された受波信号生成部と、参照データを格納するように構成された参照データ格納部と、前記受波信号と前記参照データとの相関に基づいて、前記搬送波と対応する個別の反射波を識別するように構成された反射波識別部と、を備える。前記反射波識別部は、各前記搬送波と対応する個別の前記反射波を識別しない場合に、前記受波信号を不定受波信号と判定する。前記反射波識別部が前記不定受波信号を判定した場合において、前記不定受波信号と個別の前記反射波との識別順及び識別のタイミングに応じて、前記検知対象物と前記音波受波部との距離を算出するように構成された検知距離算出部を有するように構成される。
【図面の簡単な説明】
【0006】
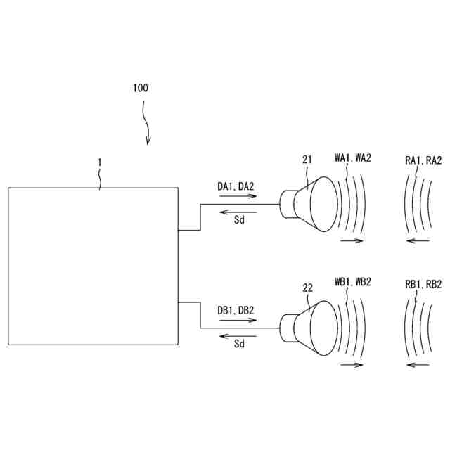
図1は、本発明の一実施形態にかかる音波処理装置を用いたソナー装置の構成を示す図である。
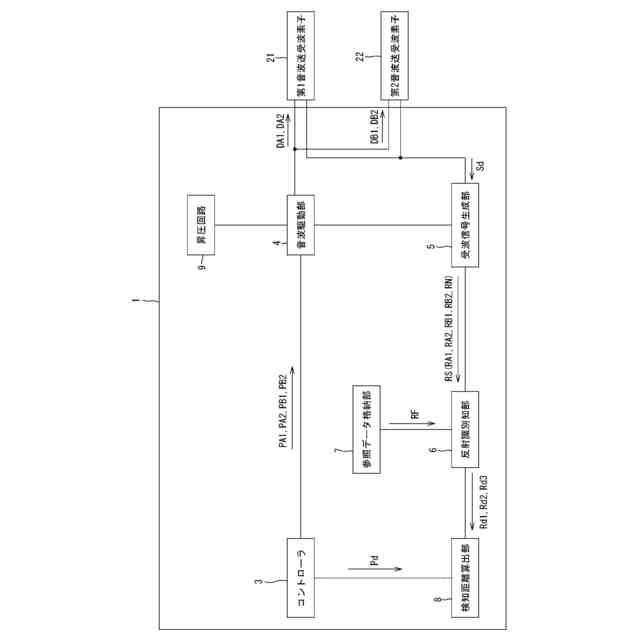
図2は、音波処理装置の構成を示す図である。
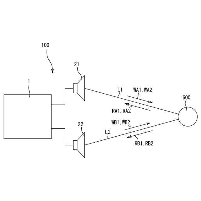
図3は、ソナー装置と検知対象物の相対位置を示す概略平面図である。
図4は、音波処理装置の動作を示す図である。
図5は、第1状態の反射波及び不定受波信号の識別状態を示す図である。
図6は、第2状態の反射波及び不定受波信号の識別状態を示す図である。
図7は、第3状態の反射波及び不定受波信号の識別状態を示す図である。
図8は、第1変形例のソナー装置の概略図である。
図9は、第1変形例における搬送波の送波状態を示す図である。
図10Aは、ソナー装置で生成された音波信号を示す図である。
図10Bは、ソナー装置で生成された音波信号を示す図である。
図10Cは、ソナー装置で生成された音波信号を示す図である。
図10Dは、ソナー装置で生成された音波信号を示す図である。
図10Eは、ソナー装置で生成された音波信号を示す図である。
図10Fは、ソナー装置で生成された音波信号を示す図である。
図10Gは、ソナー装置で生成された音波信号を示す図である。
図10Hは、ソナー装置で生成された音波信号を示す図である。
図11は、第2変形例のソナー装置から送波される搬送波の例を示す図である。
図12は、ソナー装置が用いられる装置の一例である車両の概略図である。
【0007】
[詳細な説明]
以下に本発明の一実施形態について図面を参照して説明する。
【0008】
<ソナー装置>
図1は、本発明の一実施形態にかかる音波処理装置1を用いたソナー装置100の構成を示す図である。図1に示すように、ソナー装置100は、外部に向かって超音波域(人間の可聴域を超えた周波数帯域を指し、一般には20kHz以上)の搬送波を送波し、検知対象物600で反射された反射波を検知する。そして、ソナー装置100では、搬送波の送波から反射波の受波までの時間に基づいて、検知対象物600までの距離を測定する。すなわち、ソナー装置100は、いわゆるTOF(Time of Flight)方式により距離測定を行う。ソナー装置100は、音波処理装置1と、第1音波送受波素子21と、第2音波送受波素子22とを備える。
【0009】
<第1音波送受波素子21及び第2音波送受波素子22>
第1音波送受波素子21及び第2音波送受波素子22は、いわゆる、圧電素子である。第1音波送受波素子21及び第2音波送受波素子22は、その両端間に印加される電圧信号に応じて機械的変位(振動)を生じる特性を持ち、搬送波の送波できる。また、第1音波送受波素子21及び第2音波送受波素子22は、自身に加わる機械的変位(振動)に応じてその両端間に起電力を生じる特性を備える。第1音波送受波素子21及び第2音波送受波素子22は、この起電力を生じる特性を利用して、検知対象物600で反射した反射波を含む音波Sdを受波できる。
【0010】
なお、第1音波送受波素子21及び第2音波送受波素子22は、圧電素子に限定されず、超音波を送波及び受波できる構成の素子を広く採用することができる。また、第1音波送受波素子21及び第2音波送受波素子22は、搬送波を送波する構成と、反射波を受波する構成とが分離された構成であってもよい。
(【0011】以降は省略されています)
この特許をJ-PlatPat(特許庁公式サイト)で参照する
関連特許
ローム株式会社
半導体装置
25日前
ローム株式会社
半導体装置
9日前
ローム株式会社
半導体装置
23日前
ローム株式会社
半導体装置
23日前
ローム株式会社
抵抗チップ
24日前
ローム株式会社
半導体装置
24日前
ローム株式会社
半導体装置
9日前
ローム株式会社
半導体装置
9日前
ローム株式会社
半導体装置
4日前
ローム株式会社
半導体装置
4日前
ローム株式会社
半導体装置
25日前
ローム株式会社
電源制御装置
4日前
ローム株式会社
信号伝達装置
4日前
ローム株式会社
半導体集積回路
18日前
ローム株式会社
半導体パッケージ
24日前
ローム株式会社
窒化物半導体装置
24日前
ローム株式会社
半導体メモリ装置
11日前
ローム株式会社
モータドライバ回路
4日前
ローム株式会社
半導体装置、電子機器、車両
18日前
ローム株式会社
半導体装置、電子機器、車両
18日前
ローム株式会社
信号受信装置、IC及び電気機器
2日前
ローム株式会社
半導体装置および半導体装置の製造方法
9日前
ローム株式会社
パルス幅変調回路およびモータ駆動装置
18日前
ローム株式会社
電圧電流変換回路および半導体集積回路
18日前
ローム株式会社
半導体装置、および半導体装置の製造方法
2日前
ローム株式会社
半導体装置、および半導体装置の製造方法
9日前
ローム株式会社
力率改善回路、制御装置、および電子機器
9日前
ローム株式会社
電源制御装置、DC/DCコンバータ、および車両
19日前
ローム株式会社
三相ブラシレスモータのドライバ回路および駆動方法
11日前
ローム株式会社
半導体装置
19日前
ローム株式会社
半導体装置
25日前
ローム株式会社
半導体装置
17日前
ローム株式会社
テラヘルツ装置
23日前
ローム株式会社
半導体装置、マルチフェーズDC/DCコンバータ及び電源装置
2日前
ローム株式会社
SiC半導体装置
11日前
ローム株式会社
SiC半導体装置
25日前
続きを見る
他の特許を見る