TOP
|
特許
|
意匠
|
商標
特許ウォッチ
Twitter
他の特許を見る
10個以上の画像は省略されています。
公開番号
2025153490
公報種別
公開特許公報(A)
公開日
2025-10-10
出願番号
2024056001
出願日
2024-03-29
発明の名称
信号伝達装置、電子機器、車両
出願人
ローム株式会社
代理人
弁理士法人 佐野特許事務所
主分類
H10D
1/20 20250101AFI20251002BHJP()
要約
【課題】製造ばらつきに依らず所望の特性を得る。
【解決手段】信号伝達装置は、第1及び第2チップと、両者間で絶縁通信する第3チップを備える。第1及び第2チップは、それぞれ、第1入力パッドと、第1入力パッドに入力される第1アナログ信号を第1基準電圧に応じた第1ゲインで第1デジタル信号に変換するADCと、第1デジタル信号に応じて第1パルス信号を生成する第1送信回路と、第1パルス信号を出力する第1出力パッドと、第2入力パッドと、第2入力パッドに入力される第2パルス信号に応じて第2デジタル信号を生成する第1受信回路と、第2基準電圧に応じた第2ゲインで第2デジタル信号を第2アナログ信号に変換するDACと、第2アナログ信号を出力する第2出力パッドを含む。第3チップは、第1チップの第1出力パッドから第1パルス信号を受けて第2チップの第2入力パッドに第2パルス信号を出力する。
【選択図】図11
特許請求の範囲
【請求項1】
第1チップ及び第2チップと、
前記第1チップと前記第2チップとの間を絶縁しつつ信号伝達を行うように構成された第3チップと、
を備え、
前記第1チップ及び前記第2チップは、それぞれ、
第1入力パッドと、
前記第1入力パッドに入力される第1アナログ信号を第1基準電圧に応じた第1ゲインで第1デジタル信号に変換するように構成されたアナログ/デジタル変換回路と、
前記第1デジタル信号に応じて第1パルス信号を生成するように構成された第1送信回路と、
前記第1パルス信号を出力するように構成された第1出力パッドと、
第2入力パッドと、
前記第2入力パッドに入力される第2パルス信号に応じて第2デジタル信号を生成するように構成された第1受信回路と、
前記第2デジタル信号を第2基準電圧に応じた第2ゲインで第2アナログ信号に変換するように構成されたデジタル/アナログ変換回路と、
前記第2アナログ信号を出力するように構成された第2出力パッドと、
を含み、
前記第3チップは、前記第1チップの前記第1出力パッドから前記第1パルス信号の入力を受けて前記第2チップの前記第2入力パッドに前記第2パルス信号を出力する、信号伝達装置。
続きを表示(約 960 文字)
【請求項2】
前記第1チップ及び前記第2チップは、それぞれ、前記第1基準電圧及び前記第2基準電圧として共通の基準電圧を生成するように構成された基準電圧生成回路をさらに含む、請求項1に記載の信号伝達装置。
【請求項3】
前記第1ゲイン及び前記第2ゲインは、前記基準電圧に依存して相補的に変動する、請求項1に記載の信号伝達装置。
【請求項4】
前記第1チップ及び前記第2チップは、いずれも同一のウェハから切り出される、請求項1に記載の信号伝達装置。
【請求項5】
前記第1チップ及び前記第2チップは、それぞれ、平行な第1辺及び第2辺を持ち、
前記第1出力パッドは、前記第1辺に設けられ、前記第2入力パッドは、前記第2辺に設けられる、請求項1に記載の信号伝達装置。
【請求項6】
前記第1出力パッド及び前記第2入力パッドは、前記第1辺及び前記第2辺それぞれに直交する方向に沿って直線上に配列される、請求項5に記載の信号伝達装置。
【請求項7】
前記第1チップ及び前記第2チップは、それぞれ、前記第1辺に設けられる第3入力パッドと、前記第2辺に設けられる第3出力パッドと、をさらに含み、
前記第3チップは、前記第2チップの前記第3出力パッドから第3パルス信号の入力を受けて前記第1チップの前記第3入力パッドに第4パルス信号を出力する、請求項5に記載の信号伝達装置。
【請求項8】
前記第1チップ及び前記第2チップは、それぞれ、
前記第3パルス信号を送信するように構成された第2送信回路と、
前記第4パルス信号を受信するように構成された第2受信回路と、
をさらに含む、請求項7に記載の信号伝達装置。
【請求項9】
前記第1送信回路は、前記第3パルス信号の送信機能を備え、前記第1受信回路は、前記第4パルス信号の受信機能を備える、請求項7に記載の信号伝達装置。
【請求項10】
前記第1出力パッド及び前記第2入力パッドは、前記第1チップ及び前記第2チップそれぞれの同一の辺に設けられる、請求項1に記載の信号伝達装置。
(【請求項11】以降は省略されています)
発明の詳細な説明
【技術分野】
【0001】
本開示は、信号伝達装置、電子機器及び車両に関する。
続きを表示(約 2,100 文字)
【背景技術】
【0002】
従来、一次回路系と二次回路系との間を電気的に絶縁しつつ、一次回路系と二次回路系との間で信号を伝達する信号伝達装置は、様々なアプリケーション(電源装置又はモータ駆動装置など)に用いられている。
【0003】
なお、上記に関連する従来技術の一例としては、本願出願人による特許文献1を挙げることができる。
【先行技術文献】
【特許文献】
【0004】
国際公開第2022/070944号
【0005】
[概要]
従来の信号伝達装置では、チップの製造ばらつきについて検討の余地があった。
【0006】
例えば、本開示に係る信号伝達装置は、第1チップ及び第2チップと、前記第1チップと前記第2チップとの間を絶縁しつつ信号伝達を行うように構成された第3チップと、を備え、前記第1チップ及び前記第2チップは、それぞれ、第1入力パッドと、前記第1入力パッドに入力される第1アナログ信号を第1基準電圧に応じた第1ゲインで第1デジタル信号に変換するように構成されたアナログ/デジタル変換回路と、前記第1デジタル信号に応じて第1パルス信号を生成するように構成された第1送信回路と、前記第1パルス信号を出力するように構成された第1出力パッドと、第2入力パッドと、前記第2入力パッドに入力される第2パルス信号に応じて第2デジタル信号を生成するように構成された第1受信回路と、前記第2デジタル信号を第2基準電圧に応じた第2ゲインで第2アナログ信号に変換するように構成されたデジタル/アナログ変換回路と、前記第2アナログ信号を出力するように構成された第2出力パッドと、を含み、前記第3チップは、前記第1チップの前記第1出力パッドから前記第1パルス信号の入力を受けて前記第2チップの前記第2入力パッドに前記第2パルス信号を出力する。
【図面の簡単な説明】
【0007】
図1は、信号伝達装置の基本構成を示す図である。
図2は、トランスチップの基本構造を示す図である。
図3は、2チャンネル型のトランスチップとして用いられる半導体装置の斜視図である。
図4は、図3に示す半導体装置の平面図である。
図5は、図3の半導体装置において低電位コイルが形成された層を示す平面図である。
図6は、図3の半導体装置において高電位コイルが形成された層を示す平面図である。
図7は、図6に示すVIII-VIII線に沿う断面図である。
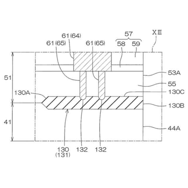
図8は、図7に示す領域XIIIの拡大図(分離構造)を示す図である。
図9は、トランスチップのレイアウト例を模式的に示す図である。
図10は、信号伝達装置の比較例を示す図である。
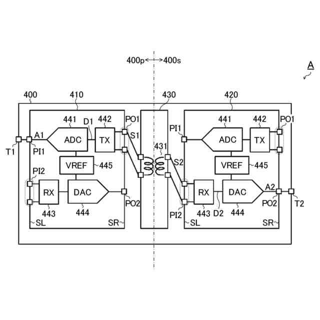
図11は、信号伝達装置の第1実施形態を示す図である。
図12は、デジタル/アナログ変換回路の一構成例を示す図である。
図13は、アナログ/デジタル変換回路の一構成例を示す図である。
図14は、信号伝達装置の第2実施形態を示す図である。
図15は、信号伝達装置の第3実施形態を示す図である。
図16は、信号伝達装置の第4実施形態を示す図である。
図17は、信号伝達装置の第5実施形態を示す図である。
図18は、車両の外観を示す図である。
【0008】
[詳細な説明]
<信号伝達装置(基本構成)>
図1は、信号伝達装置の基本構成を示す図である。本構成例の信号伝達装置200は、一次回路系200p(VCC1-GND1系)と二次回路系200s(VCC2-GND2系)との間を絶縁しつつ、一次回路系200pから二次回路系200sにパルス信号を伝達し、二次回路系200sに設けられたスイッチ素子(不図示)のゲートを駆動する半導体集積回路装置(いわゆる絶縁ゲートドライバIC)である。例えば、信号伝達装置200は、コントローラチップ210と、ドライバチップ220と、トランスチップ230と、を単一のパッケージに封止して成る。
【0009】
コントローラチップ210は、電源電圧VCC1(例えばGND1基準で最大7V)の供給を受けて動作する半導体チップである。コントローラチップ210には、例えば、パルス送信回路211と、バッファ212及び213が集積されている。
【0010】
パルス送信回路211は、入力パルス信号INに応じて送信パルス信号S11及びS21を生成するパルスジェネレータである。より具体的に述べると、パルス送信回路211は、入力パルス信号INがハイレベルである旨を通知するときには、送信パルス信号S11のパルス駆動(単発または複数発の送信パルス出力)を行い、入力パルス信号INがローレベルである旨を通知するときには、送信パルス信号S21のパルス駆動を行う。すなわち、パルス送信回路211は、入力パルス信号INの論理レベルに応じて、送信パルス信号S11及びS21のいずれか一方をパルス駆動する。
(【0011】以降は省略されています)
この特許をJ-PlatPat(特許庁公式サイト)で参照する
関連特許
ローム株式会社
半導体装置
15日前
ローム株式会社
半導体装置
14日前
ローム株式会社
半導体装置
14日前
ローム株式会社
抵抗チップ
15日前
ローム株式会社
半導体集積回路
9日前
ローム株式会社
窒化物半導体装置
15日前
ローム株式会社
半導体メモリ装置
2日前
ローム株式会社
半導体パッケージ
15日前
ローム株式会社
半導体装置、電子機器、車両
9日前
ローム株式会社
半導体装置、電子機器、車両
9日前
ローム株式会社
電圧電流変換回路および半導体集積回路
9日前
ローム株式会社
パルス幅変調回路およびモータ駆動装置
9日前
ローム株式会社
電源制御装置、DC/DCコンバータ、および車両
10日前
ローム株式会社
三相ブラシレスモータのドライバ回路および駆動方法
2日前
ローム株式会社
半導体装置
8日前
ローム株式会社
半導体装置
10日前
ローム株式会社
テラヘルツ装置
14日前
ローム株式会社
SiC半導体装置
16日前
ローム株式会社
SiC半導体装置
2日前
ローム株式会社
半導体装置、および半導体装置の製造方法
10日前
ローム株式会社
半導体装置、および半導体装置の製造方法
2日前
個人
半導体装置
1か月前
個人
積和演算用集積回路
1日前
東レ株式会社
太陽電池モジュール
1か月前
エイブリック株式会社
縦型ホール素子
24日前
旭化成株式会社
発光素子
10日前
エイブリック株式会社
縦型ホール素子
24日前
富士通株式会社
半導体装置
29日前
ローム株式会社
抵抗チップ
15日前
三菱電機株式会社
半導体装置
29日前
富士電機株式会社
半導体装置
21日前
三菱電機株式会社
半導体装置
9日前
株式会社半導体エネルギー研究所
表示装置
24日前
日亜化学工業株式会社
発光装置
28日前
ローム株式会社
半導体集積回路
9日前
日亜化学工業株式会社
発光素子
29日前
続きを見る
他の特許を見る