TOP
|
特許
|
意匠
|
商標
特許ウォッチ
Twitter
他の特許を見る
10個以上の画像は省略されています。
公開番号
2025149736
公報種別
公開特許公報(A)
公開日
2025-10-08
出願番号
2024050559
出願日
2024-03-26
発明の名称
半導体装置
出願人
個人
代理人
個人
主分類
H10D
30/66 20250101AFI20251001BHJP()
要約
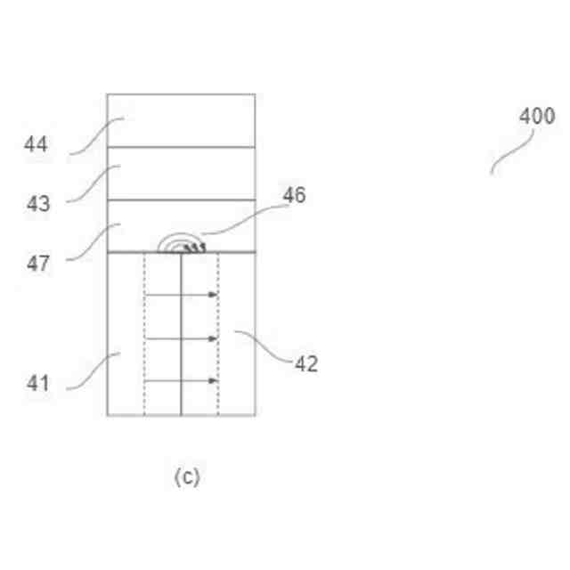
【課題】SiC-MOSFETのチャネル抵抗(Rch)を大幅に減少させることである。
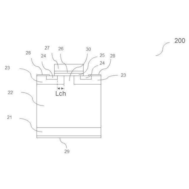
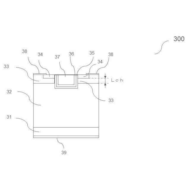
【解決手段】本発明は、SiC界面とゲート絶縁膜の間に第1の導電型の第2のSiCエピ層を形成したMOS構造を含むプレナー型MOSFET200であって、ボディ領域23の不純物濃度を高くすることでチャネル長Lchを短くできチャネル抵抗を低減することと同時にパンチスルー電圧を高くすることが可能であり、かつチャネルエピ25の濃度Nceと厚みTceを調整することでVthを制御することが可能であり、ボディ領域23の不純物濃度の値とVthを独立して個別に設計することが可能な半導体装置を提供する。
【選択図】図4
特許請求の範囲
【請求項1】
金属-絶縁体-半導体電界効果トランジスタを含む半導体素子と、
前記半導体素子の電位を設定する電位設定部と、
を備える半導体装置であって、
前記電位設定部は、
ゲート電極と、
ソース電極と、
ドレイン電極と、
を備え、
前記金属-絶縁体-半導体電界効果トランジスタは、
第1導電型の半導体基板と、
前記半導体基板の主面上に位置する第1導電型の第1の炭化珪素半導体層と、
前記第1の炭化珪素半導体層内に位置する第2導電型のボディ領域と、
前記ボディ領域内に位置する第1導電型のソース領域と、
前記第1の炭化珪素半導体層上でかつ前記ボディ領域および前記ソース領域の少なくとも一部に接して形成された第1導電型の第2の炭化珪素半導体層と、
前記第2の炭化珪素半導体層上のゲート絶縁膜と、
前記ゲート絶縁膜上の前記ゲート電極と、
前記ソース領域と前記ボディ領域に接触する前記ソース電極と、
前記半導体基板の裏面に設けられた前記ドレイン電極と、
を備え、
前記ボディ領域の不純物濃度Npwが1e18cm-3以上に設定されていることを特徴とする半導体装置。
続きを表示(約 2,000 文字)
【請求項2】
請求項1に記載の半導体装置において、
前記ボディ領域の不純物濃度Npwを調整してチャネル長Lchを所定値に制御することを特徴とする半導体装置。
【請求項3】
請求項1に記載の半導体装置において、
前記第2の炭化珪素半導体層の不純物濃度をNceとし、前記第2の炭化珪素半導体層の厚みをTceとしたときに、前記Nceおよび/または前記Tceを調整してゲート閾値電圧Vthを所定値にすることを特徴とする半導体装置。
【請求項4】
請求項1に記載の半導体装置において、
前記ドレイン電極の電圧をVdsとし、前記ドレイン電極に流れる電流をIdとしたときの飽和電流をIdsatとし、
前記第2の炭化珪素半導体層の不純物濃度をNceとし、前記第2の炭化珪素半導体層の厚みをTceとし、
前記Idsatが所定の値より大きいときは前記Npwを高くし、および/または前記Tceを短くし、および/または前記Nceを高くし、および/またはチャネル長Lchを長くし、前記Idsatを減少させて所定の値にし、前記Idsatが所定の値より小さいときは前記Npwを低くし、および/または前記Tceを長くし、および/または前記Nceを低くし、および/または前記Lchを短くし、前記Idsatを増加させて所定値にすることを特徴とする半導体装置。
【請求項5】
請求項1に記載の半導体装置において、
チャネル長Lchを短くしたときに、パンチスルー電圧Vptが所定値より小さくなり始めるLchをLchminptとし、
前記チャネル長Lchを短くしたときに、ゲート閾値電圧Vthが急激に低下し始めるLchをLchminscとし、
前記Lchminptが前記Lchminscより長いときに、前記ボディ領域の不純物濃度Npwを高くして前記Lchminptが前記Lchminscの以下の値となるように制御することを特徴とする半導体装置。
【請求項6】
請求項1に記載の半導体装置において、
前記第2の炭化珪素半導体層の厚みをTceとしたときに、前記Tceが8nm以上であることを特徴とする半導体装置。
【請求項7】
請求項1に記載の半導体装置において、
前記第2の炭化珪素半導体層の不純物濃度をNceとしたときに、前記Nceが1e17cm-3以上であることを特徴とする半導体装置。
【請求項8】
請求項1に記載の半導体装置において、
前記第2の炭化珪素半導体層の厚みをTceとしたときに、前記Tceが100nm以下であることを特徴とする半導体装置。
【請求項9】
請求項6に記載の半導体装置において、
前記ゲート電極の電圧をVgsを0V及び前記ドレイン電極の電圧をVdsを0Vにしたのときに、前記ボディ領域と前記ソース領域のPN接合の空乏層の長さをdbs、前記ボディ領域と前記第1の炭化珪素半導体層のPN接合の空乏層の長さをdbj、前記dbsと前記dbjのうち大きい方の値をdmとしたときに、前記第2の炭化珪素半導体層の厚みTceが前記dm以上であることを特徴とする半導体装置。
【請求項10】
請求項1に記載の半導体装置において、
前記第1導電型の第2の炭化珪素半導体層と前記ゲート絶縁膜の間に第2導電型の第3の炭化珪素半導体層を形成し、
前記第1導電型の第2の炭化珪素半導体層は、
不純物濃度をNcen、厚みをTcen、空乏化したときの固定電荷をQcenとし、前記Qcenはq*Ncen*Tcenであり、
前記第2導電型の第3の炭化珪素半導体層は、
不純物濃度をNcep、厚みをTcep、空乏化したときの固定電荷をQcepとし、前記Qcepはq*Ncep*Tcepであり、前記Tcenと前記Tcepの和をTce、前記Qcenと前記Qcepの差をQceとしたとき、前記Qcenは前記Qcep以上であり、
前記Qce、前記Tce、前記Qcen、前記Ncen、前記Tcen、前記Qcep、前記Ncepおよび/または前記Tcepを調整することで、ゲート閾値電圧Vth、パンチスルー電圧Vpt、チャネル長Lchを短くしたときに前記ゲート閾値電圧Vthが急激に低下し始めるLchであるLchminsc、チャネル長Lchを短くしたときに前記パンチスルー電圧Vptが所定値より小さくなり始める前記LchであるLchminptおよび/または前記ドレイン電極の電圧Vdsを上げたときに前記ドレイン電極に流れる電流をIdとしたときの飽和電流Idsatを制御することを特徴とする半導体装置。
(【請求項11】以降は省略されています)
発明の詳細な説明
【技術分野】
【0001】
本発明は、半導体素子に関する。特に、高耐圧、大電流用に使用される、炭化珪素半導体素子(パワー半導体デバイス)に関する。本発明は、また、炭化珪素半導体素子を備えた半導体装置に関する。
続きを表示(約 2,000 文字)
【背景技術】
【0002】
炭化珪素(シリコンカーバイド:SiC)は、珪素(Si)に比べてバンドギャップの大きな高硬度の半導体材料であり、パワー素子、耐環境素子、高温動作素子、高周波素子等の種々の半導体装置に応用されている。中でも、スイッチング素子や整流素子などのパワー素子への応用が注目されている。SiCを用いたパワー素子は、Siパワー素子よりも電力損失を大幅に低減できるなどの利点がある。また、SiCパワー素子は、そのような特性を活かして、Siパワー素子と比較して、より小型の半導体装置を実現することができる。
【先行技術文献】
【特許文献】
【0003】
国際公開2015/198468号公報
【発明の概要】
【発明が解決しようとする課題】
【0004】
SiC材料を利用した金属-絶縁体-半導体電界効果トランジスタ(SiC-MOSFET)はチャネル移動度が低くチャネル抵抗(Rch)が高いという問題がある。これは界面のトラップ密度が高いことが主な原因である。SiC材料の電界強度はSiよりも約10倍高いことによってMOSFETのドリフト層の抵抗をSiのそれよりも数100分の一に低減することが可能である。しかしRchが高いことによってオン抵抗(Ron)が高くなるため、600V以上のパワーデバイスにしかSiC-MOSFETの応用領域はないと言われている。
【0005】
チャネル移動度を向上させるための研究開発は長年行われており、ウエハープロセスの改善やSiC材料の面方位の工夫などが主に行われてきた。また構造面での工夫として、SiCとゲート絶縁膜の間に薄膜のSiCエピ(チャネルエピ)を挿入することでチャネル移動度を向上させる構造も提案されている。数十年かけて改善はされてきているとはいえ、シリコン(Si)の実効チャネル移動度(Uef)の100cm2/Vsに対しSiCの場合、製品レベルではSiの半分の50cm2/Vs程度と低く、まだ十分とは言えない現状である。SiC-MOSFETのチャネル抵抗を大幅に低減することが困難という問題がある。
【0006】
本発明の目的は、SiC-MOSFETのチャネル抵抗(Rch)を大幅に減少させることである。
【課題を解決するための手段】
【0007】
本発明に係る半導体装置は、金属-絶縁体-半導体電界効果トランジスタを含む半導体素子と、前記半導体素子の電位を設定する電位設定部と、を備える半導体装置であって、前記電位設定部は、ゲート電極と、ソース電極と、ドレイン電極と、を備え、前記金属-絶縁体-半導体電界効果トランジスタは、第1導電型の半導体基板と、前記半導体基板の主面上に位置する第1導電型の第1の炭化珪素半導体層と、前記第1の炭化珪素半導体層内に位置する第2導電型のボディ領域と、前記ボディ領域内に位置する第1導電型のソース領域と、前記第1の炭化珪素半導体層上でかつ前記ボディ領域および前記ソース領域の少なくとも一部に接して形成された第1導電型の第2の炭化珪素半導体層と、前記第2の炭化珪素半導体層上のゲート絶縁膜と、前記ゲート絶縁膜上の前記ゲート電極と、前記ソース領域と前記ボディ領域に接触する前記ソース電極と、前記半導体基板の裏面に設けられた前記ドレイン電極と、を備え、前記ボディ領域の不純物濃度Npwが1e18cm-3以上に設定されていることを特徴とする。
【0008】
また、本発明に係る半導体装置において、前記ボディ領域の不純物濃度Npwを調整してチャネル長Lchを所定値に制御することが好ましい。
【0009】
また、本発明に係る半導体装置において、前記第2の炭化珪素半導体層の不純物濃度をNceとし、前記第2の炭化珪素半導体層の厚みをTceとしたときに、前記Nceおよび/または前記Tceを調整してゲート閾値電圧Vthを所定値にすることが好ましい。
【0010】
また、本発明に係る半導体装置において、前記ドレイン電極の電圧をVdsとし、前記ドレイン電極に流れる電流をIdとしたときの飽和電流をIdsatとし、前記第2の炭化珪素半導体層の不純物濃度をNceとし、前記第2の炭化珪素半導体層の厚みをTceとし、 前記Idsatが所定の値より大きいときは前記Npwを高くし、および/または前記Tceを短くし、および/または前記Nceを高くし、および/またはチャネル長Lchを長くし、前記Idsatを減少させて所定の値にし、前記Idsatが所定の値より小さいときは前記Npwを低くし、および/または前記Tceを長くし、および/または前記Nceを低くし、および/または前記Lchを短くし、前記Idsatを増加させて所定値にすることが好ましい。
(【0011】以降は省略されています)
この特許をJ-PlatPat(特許庁公式サイト)で参照する
関連特許
個人
積和演算用集積回路
21日前
サンケン電気株式会社
半導体装置
20日前
日機装株式会社
半導体発光装置
15日前
三菱電機株式会社
半導体装置
7日前
株式会社東芝
半導体装置
7日前
ローム株式会社
半導体集積回路
29日前
ローム株式会社
半導体装置
20日前
株式会社半導体エネルギー研究所
発光デバイス
15日前
サンケン電気株式会社
半導体装置
7日前
株式会社半導体エネルギー研究所
発光デバイス
28日前
日亜化学工業株式会社
発光素子
20日前
日亜化学工業株式会社
発光装置
22日前
日亜化学工業株式会社
発光素子
20日前
日亜化学工業株式会社
発光装置
29日前
ローム株式会社
半導体装置
7日前
日本ゼオン株式会社
構造体
22日前
ローム株式会社
半導体装置
20日前
株式会社東芝
ウエーハ及び半導体装置
今日
株式会社東芝
ウエーハ及び半導体装置
今日
株式会社東芝
半導体装置及びウエーハ
29日前
シチズン電子株式会社
発光装置
20日前
住友電気工業株式会社
受光素子
20日前
京セラ株式会社
配線基板及びLEDモジュール
20日前
株式会社東芝
半導体装置及びその製造方法
28日前
株式会社アイシン
ペロブスカイト太陽電池
21日前
株式会社半導体エネルギー研究所
発光デバイスおよび表示装置
20日前
株式会社トーキン
積層圧電アクチュエータ
28日前
セイコーエプソン株式会社
ダイオード回路
7日前
豊田合成株式会社
半導体素子
20日前
キヤノン株式会社
トランスデューサー
22日前
住友電気工業株式会社
光検出装置
22日前
RAMXEED株式会社
半導体装置及びその製造方法
7日前
シチズン電子株式会社
側面発光型発光装置及びその製造方法
7日前
ローム株式会社
半導体装置および半導体装置の製造方法
今日
重慶奕能科技有限公司
半導体デバイス
16日前
重慶奕能科技有限公司
半導体デバイス
16日前
続きを見る
他の特許を見る