TOP
|
特許
|
意匠
|
商標
特許ウォッチ
Twitter
他の特許を見る
10個以上の画像は省略されています。
公開番号
2025168623
公報種別
公開特許公報(A)
公開日
2025-11-11
出願番号
2024086393
出願日
2024-05-28
発明の名称
半導体デバイス
出願人
重慶奕能科技有限公司
代理人
弁理士法人朝日奈特許事務所
主分類
H10D
30/66 20250101AFI20251104BHJP()
要約
【課題】トレンチの底部及びコーナーの近くの電界分布を調節する半導体デバイスを提供する。
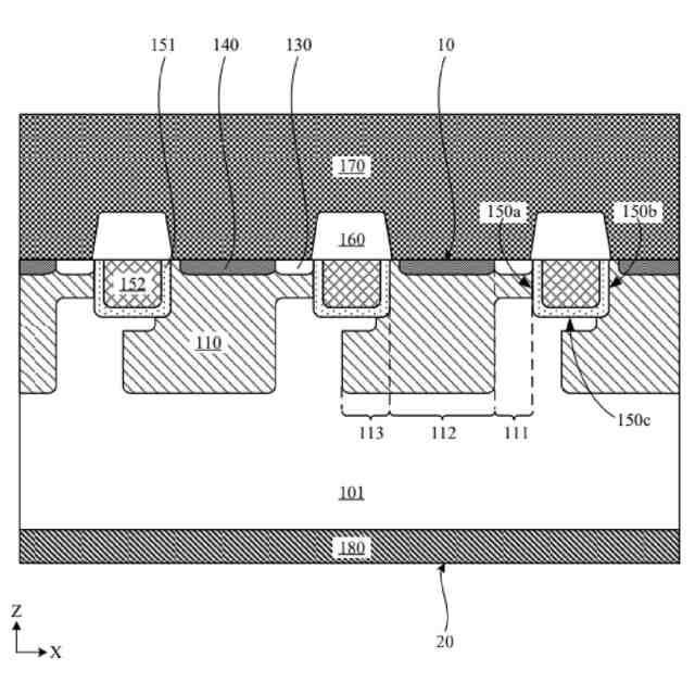
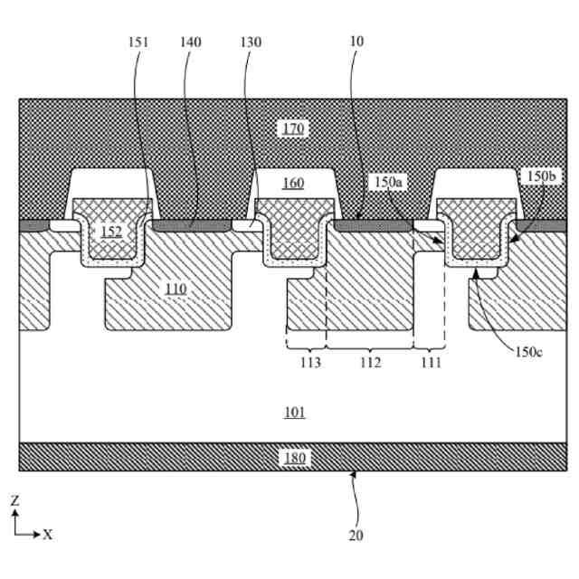
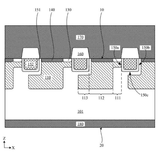
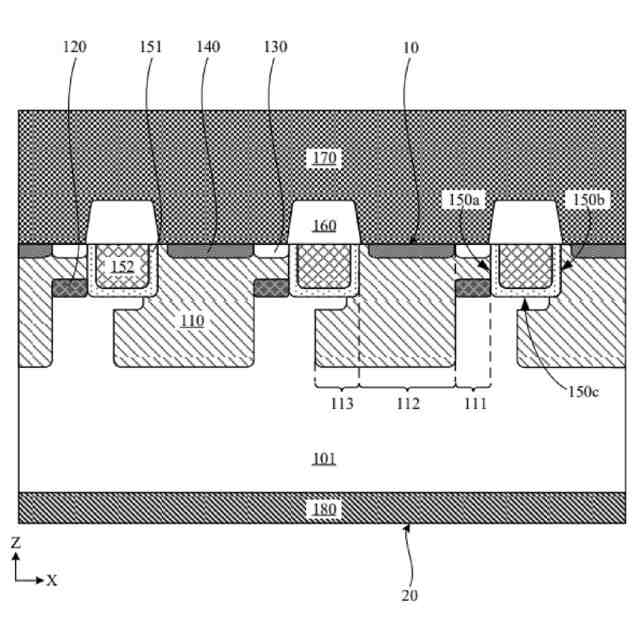
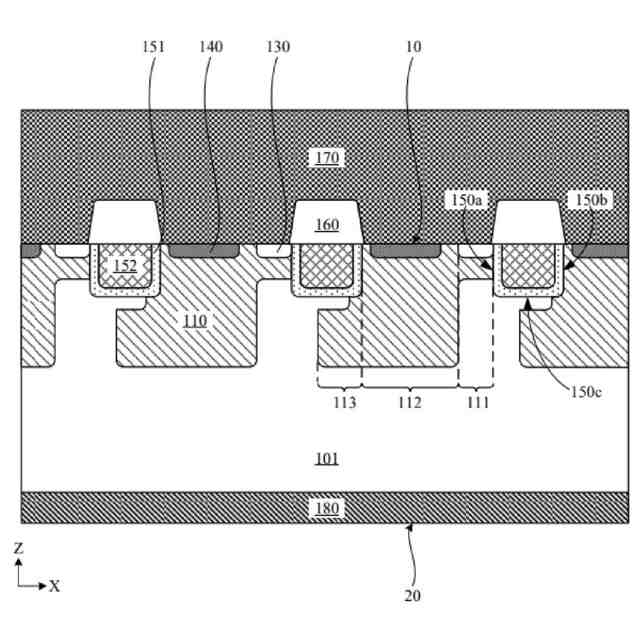
【解決手段】半導体デバイスにおいて、半導体層は、ソース領域130、ドリフト領域101及びバルク領域110を含み、バルク領域の第1部分111~第3部分113は、ゲート誘電体層151とゲート導体152を含むトレンチゲート構造の幅方向に沿って順に隣接し、前記第1部分は、第1表面10から第2表面20に向かう方向に沿ってソース領域とドリフト領域との間に位置し、前記第1部分とソース領域は、何れもトレンチゲート構造の第1側壁150aに隣接し、前記第3部分は、トレンチゲート構造の底面と第2表面との間に位置し、トレンチゲート構造の少なくとも一部の底面と前記第3部分とは、第1表面から第2表面に向かう方向に沿ってドリフト領域によって分離され、垂直方向に沿って前記第3部分とトレンチゲート構造の底面とを分離させる。
【選択図】図3
特許請求の範囲
【請求項1】
半導体層とトレンチゲート構造とを含み、前記半導体層が対向する第1表面と第2表面とを有し、前記トレンチゲート構造の少なくとも一部が前記半導体層の前記第1表面のトレンチに位置する半導体デバイスであって、
前記半導体層は、
前記第1表面から前記第2表面の方向に向かって延在するソース領域と、
ドリフト領域とバルク領域であって、少なくとも一部の前記ドリフト領域が前記バルク領域と前記半導体層の第2表面との間に位置するドリフト領域とバルク領域とを含み、
前記バルク領域の第1部分と第2部分と第3部分とは、前記トレンチゲート構造の幅方向に沿って順に隣接し、
前記バルク領域の第1部分は、前記第1表面から前記第2表面に向かう方向に沿って前記ソース領域と前記ドリフト領域との間に位置し、前記バルク領域の第1部分と前記ソース領域は、いずれも前記トレンチゲート構造の第1側壁に隣接し、
前記バルク領域の第3部分は、前記トレンチのゲート構造の底面と前記第2表面との間に位置し、且つ前記トレンチゲート構造の少なくとも一部の底面と前記バルク領域の第3部分とは、前記第1表面から前記第2表面に向かう方向に沿って前記ドリフト領域によって分離され、
前記ソース領域と前記ドリフト領域は、第1導電タイプ、前記バルク領域は、第2導電タイプであり、前記第1導電タイプと前記第2導電タイプとは、反対である、半導体デバイス。
続きを表示(約 1,800 文字)
【請求項2】
前記バルク領域の第1部分と第2部分は、2つの前記トレンチゲート構造の間に位置し、前記第1部分は、前記トレンチゲート構造の第1側壁に隣接し、前記第2部分は、前記トレンチゲート構造の第2側壁に近接し、前記第1側壁と前記第2側壁とは、対向し、前記第3部分と前記第2部分は、同じ前記トレンチゲート構造に近接し、
前記第2部分は、前記第2側壁に隣接し、又は、前記第2部分と前記第2側壁とは、前記ドリフト領域によって分離される、請求項1に記載の半導体デバイス。
【請求項3】
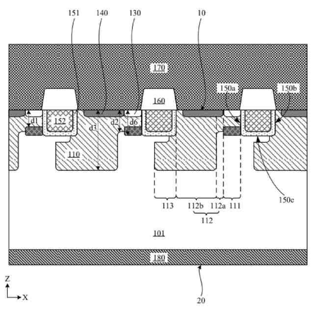
前記バルク領域の第2部分は、接続される第1サブ領域と第2サブ領域とを含み、
前記第1サブ領域は、前記バルク領域の第1部分に隣接し、前記第2サブ領域は、前記バルク領域の第3部分に隣接し、
前記バルク領域の第1部分の前記第2表面の方向に向かうエッジから前記第1表面までの距離は、第1距離であり、前記第1サブ領域の前記第2表面の方向に向かうエッジから前記第1表面までの距離は、第2距離であり、前記第2サブ領域の前記第2表面の方向に向かうエッジから前記第1表面までの距離は、第3距離であり、前記第3距離は、前記第2距離よりも大きく、前記第2距離は、前記第1距離よりも大きい、請求項2に記載の半導体デバイス。
【請求項4】
前記トレンチゲート構造の底面から前記第1表面までの距離は、第4距離であり、前記第2距離は、前記第4距離以上である、請求項3に記載の半導体デバイス。
【請求項5】
前記第2表面から前記第1表面に向かう方向に沿って、前記バルク領域の第3部分と前記トレンチゲート構造の底面とが前記ドリフト領域によって分離される距離は、第5距離であり、
前記第4距離と第5距離との和は、前記第2距離に等しい、請求項4に記載の半導体デバイス。
【請求項6】
前記バルク領域の第2部分と第3部分との前記第2表面の方向に向かうエッジは、接続される、請求項1~5のいずれか1項に記載の半導体デバイス。
【請求項7】
前記半導体層は、前記バルク領域の第1部分と前記ドリフト領域との間に位置するチャネルドレイン領域をさらに含み、それにより前記ソース領域と前記バルク領域の第1部分と前記チャネルドレイン領域とは、前記第1表面から前記第2表面に向かう方向に沿って順に隣接し且ついずれも前記トレンチゲート構造の第1側壁に隣接し、
前記チャネルドレイン領域は、それぞれ前記ドリフト領域、前記バルク領域の第1部分と第2部分に隣接し、且つ前記チャネルドレイン領域と前記バルク領域の第3部分とは、前記ドリフト領域によって分離され、
前記チャネルドレイン領域は、第1導電タイプである、請求項1~5のいずれか1項に記載の半導体デバイス。
【請求項8】
前記チャネルドレイン領域のドープ濃度は、前記ドリフト領域のドープ濃度よりも大きい、請求項7に記載の半導体デバイス。
【請求項9】
前記チャネルドレイン領域の前記第2表面の方向に向かうエッジから前記第1表面までの距離は、前記トレンチゲート構造の底面から前記第1表面までの距離以下であり、又は
前記チャネルドレイン領域の前記第2表面の方向に向かうエッジから前記第1表面までの距離は、前記トレンチゲート構造の底面から前記第1表面までの距離よりも大きく、且つ前記チャネルドレイン領域は、前記トレンチゲート構造の底面の一部に隣接する、請求項7に記載の半導体デバイス。
【請求項10】
前記バルク領域の第2部分は、接続される第1サブ領域と第2サブ領域とを含み、
前記第1サブ領域の前記第2表面の方向に向かうエッジから前記第1表面までの距離は、第2距離であり、
前記第2サブ領域の前記第2表面の方向に向かうエッジから前記第1表面までの距離は、第3距離であり、
前記チャネルドレイン領域の前記第2表面の方向に向かうエッジから前記第1表面までの距離は、第6距離であり、
前記第6距離は、前記第2距離よりも大きく、前記第3距離は、前記第6距離よりも大きく、それにより前記チャネルドレイン領域と前記第2サブ領域とは、前記トレンチゲート構造の幅方向に沿って前記ドリフト領域によって分離される、請求項7に記載の半導体デバイス。
(【請求項11】以降は省略されています)
発明の詳細な説明
【技術分野】
【0001】
本開示は、半導体デバイスの技術分野、より具体的には、トレンチゲート構造を有する半導体デバイスに関する。
続きを表示(約 2,100 文字)
【背景技術】
【0002】
垂直トランジスタ構造は、平面トランジスタ構造と比較して、同じ面積でブロッキング電圧と導通抵抗との等化に有利である。ゲート誘電体層の信頼性は、垂直トランジスタ構造の重要指標のうちの1つであり、垂直トランジスタ構造は、トレンチを利用してゲート誘電体層を形成するため、トレンチの底部及びコーナーの近くにおいて、電界集中により電界強度が過大となり、ゲート誘電体層に損傷を与えやすい。
【発明の概要】
【発明が解決しようとする課題】
【0003】
上記課題に鑑み、本開示の目的は、半導体デバイスを提供することであり、バルク領域の第3部分をトレンチゲート構造の底面の下方に設置し、且つトレンチゲート構造の少なくとも一部の底面と分離し、それによりトレンチの底部及びコーナーの近くの電界分布を調節する。
【課題を解決するための手段】
【0004】
半導体層とトレンチゲート構造とを含み、前記半導体層が対向する第1表面と第2表面とを有し、前記トレンチゲート構造の少なくとも一部が前記半導体層の前記第1表面のトレンチに位置する本開示の実施例による半導体デバイスであって、
前記半導体層は、
前記第1表面から前記第2表面の方向に向かって延在するソース領域と、
ドリフト領域とバルク領域であって、少なくとも一部の前記ドリフト領域が前記ソース領域と前記半導体層の第2表面との間に位置するドリフト領域とバルク領域とを含み、
前記バルク領域の第1部分と第2部分と第3部分とは、前記トレンチゲート構造の幅方向に沿って順に隣接し、
前記バルク領域の第1部分は、前記第1表面から前記第2表面に向かう方向に沿って前記ソース領域と前記ドリフト領域との間に位置し、前記バルク領域の第1部分と前記ソース領域は、いずれも前記トレンチゲート構造の第1側壁に隣接し、
前記バルク領域の第3部分は、前記トレンチのゲート構造の底面と前記第2表面との間に位置し、且つ前記トレンチゲート構造の少なくとも一部の底面と前記バルク領域の第3部分とは、前記第1表面から前記第2表面に向かう方向に沿って前記ドリフト領域によって分離され、
前記ソース領域と前記ドリフト領域は、第1導電タイプ、前記バルク領域は、第2導電タイプであり、前記第1導電タイプと前記第2導電タイプとは、反対である。
【0005】
選択的に、前記バルク領域の第1部分と第2部分は、2つの前記トレンチゲート構造の間に位置し、前記第1部分は、前記トレンチゲート構造の第1側壁に隣接し、前記第2部分は、前記トレンチゲート構造の第2側壁に近接し、前記第1側壁と前記第2側壁とは、対向し、前記第3部分と前記第2部分は、同じ前記トレンチゲート構造に近接し、
前記第2部分は、前記第2側壁に隣接し、又は、前記第2部分と前記第2側壁とは、前記ドリフト領域によって分離される。
【0006】
選択的に、前記バルク領域の第2部分は、接続される第1サブ領域と第2サブ領域とを含み、
前記第1サブ領域は、前記バルク領域の第1部分に隣接し、前記第2サブ領域は、前記バルク領域の第3部分に隣接し、
前記バルク領域の第1部分の前記第2表面の方向に向かうエッジから前記第1表面までの距離は、第1距離であり、前記第1サブ領域の前記第2表面の方向に向かうエッジから前記第1表面までの距離は、第2距離であり、前記第2サブ領域の前記第2表面の方向に向かうエッジから前記第1表面までの距離は、第3距離であり、前記第3距離は、前記第2距離よりも大きく、前記第2距離は、前記第1距離よりも大きい。
【0007】
選択的に、前記トレンチゲート構造の底面から前記第1表面までの距離は、第4距離であり、前記第2距離は、前記第4距離以上である。
【0008】
選択的に、前記第2表面から前記第1表面に向かう方向に沿って、前記バルク領域の第3部分と前記トレンチゲート構造の底面とが前記ドリフト領域によって分離される距離は、第5距離であり、
前記第4距離と第5距離との和は、前記第2距離に等しい。
【0009】
選択的に、前記バルク領域の第2部分と第3部分との前記第2表面の方向に向かうエッジは、接続される。
【0010】
選択的に、前記半導体層は、前記バルク領域の第1部分と前記ドリフト領域との間に位置するチャネルドレイン領域をさらに含み、それにより前記ソース領域と前記バルク領域の第1部分と前記チャネルドレイン領域とは、前記第1表面から前記第2表面に向かう方向に沿って順に隣接し且ついずれも前記トレンチゲート構造の第1側壁に隣接し、
前記チャネルドレイン領域は、それぞれ前記ドリフト領域、前記バルク領域の第1部分と第2部分に隣接し、且つ前記チャネルドレイン領域と前記バルク領域の第3部分とは、前記ドリフト領域によって分離され、
前記チャネルドレイン領域は、第1導電タイプである。
(【0011】以降は省略されています)
特許ウォッチbot のツイートを見る
この特許をJ-PlatPat(特許庁公式サイト)で参照する
関連特許
重慶奕能科技有限公司
半導体デバイス
今日
重慶奕能科技有限公司
半導体デバイス
今日
個人
半導体装置
1か月前
個人
積和演算用集積回路
5日前
サンケン電気株式会社
半導体装置
4日前
東レ株式会社
太陽電池モジュール
1か月前
旭化成株式会社
発光素子
14日前
エイブリック株式会社
縦型ホール素子
28日前
エイブリック株式会社
縦型ホール素子
28日前
ローム株式会社
半導体装置
1か月前
ローム株式会社
抵抗チップ
19日前
富士通株式会社
半導体装置
1か月前
三菱電機株式会社
半導体装置
13日前
三菱電機株式会社
半導体装置
1か月前
富士電機株式会社
半導体装置
25日前
株式会社半導体エネルギー研究所
表示装置
28日前
日亜化学工業株式会社
発光装置
14日前
日亜化学工業株式会社
発光装置
1か月前
日亜化学工業株式会社
発光素子
1か月前
TDK株式会社
圧電素子
1か月前
ローム株式会社
半導体集積回路
13日前
ローム株式会社
窒化物半導体装置
28日前
ローム株式会社
半導体装置
20日前
ローム株式会社
半導体装置
4日前
株式会社半導体エネルギー研究所
発光デバイス
12日前
ローム株式会社
窒化物半導体装置
19日前
富士電機株式会社
半導体装置の製造方法
27日前
ローム株式会社
半導体装置
18日前
株式会社カネカ
太陽電池モジュール
1か月前
日亜化学工業株式会社
発光素子
4日前
沖電気工業株式会社
発光装置及び表示装置
1か月前
大日本印刷株式会社
太陽電池
21日前
サンケン電気株式会社
発光装置
1か月前
株式会社MARUWA
発光装置及び照明器具
1か月前
日本電気株式会社
超伝導量子回路装置
1か月前
日亜化学工業株式会社
発光装置
6日前
続きを見る
他の特許を見る