TOP
|
特許
|
意匠
|
商標
特許ウォッチ
Twitter
他の特許を見る
10個以上の画像は省略されています。
公開番号
2025174771
公報種別
公開特許公報(A)
公開日
2025-11-28
出願番号
2024095850
出願日
2024-06-13
発明の名称
半導体デバイス
出願人
重慶奕能科技有限公司
代理人
弁理士法人朝日奈特許事務所
主分類
H10D
30/66 20250101AFI20251120BHJP()
要約
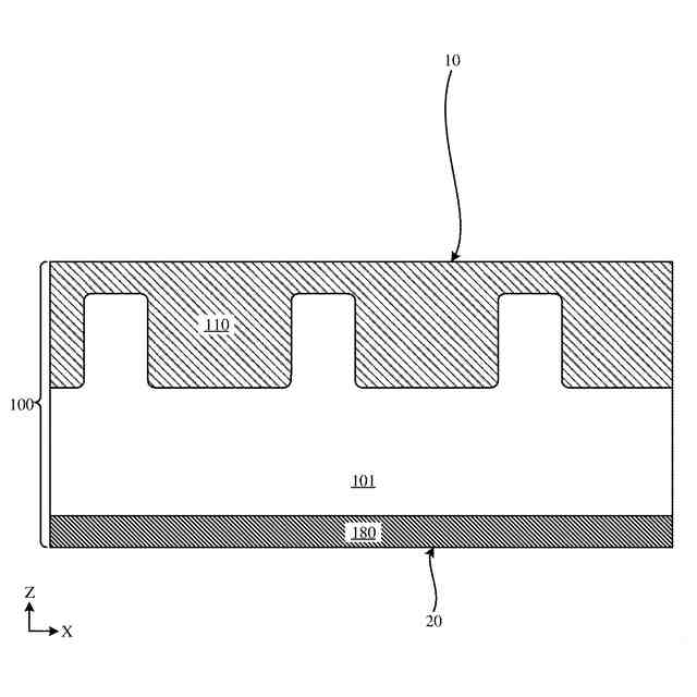
【課題】半導体層のヘテロエピタキシャル層を用いて緩衝層として、より確実性の高いゲート誘電体層を形成し、ゲート誘電体層における炭素クラスターの形成が抑制する半導体デバイスを提供する。
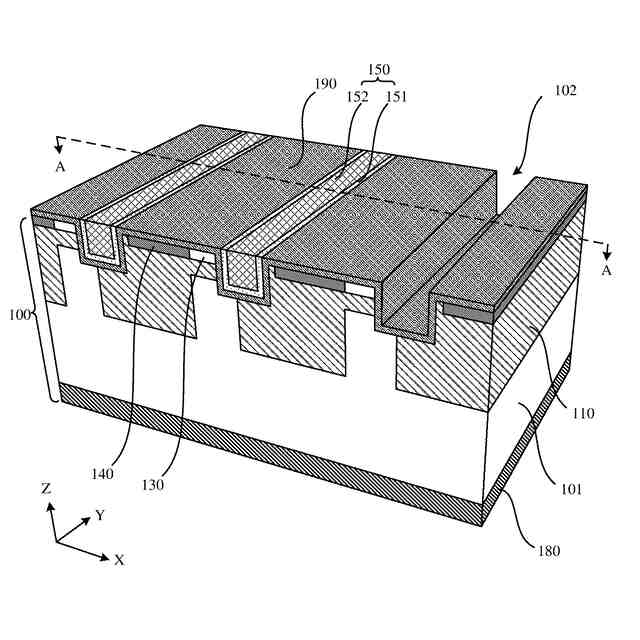
【解決手段】半導体デバイスは、半導体層100、トレンチゲート構造150及び緩衝層190を含む。半導体層は、対向する第1表面及び第2表面を有し、トレンチゲート構造の少なくとも一部は半導体層の第1表面のトレンチ102内に位置し、ソース領域130、ドリフト領域101及びボディ領域110を含む。緩衝層は、半導体層のヘテロエピタキシャル層であり、且つ、トレンチの内面と半導体層の第1表面を覆い、ゲート誘電体層151と半導体層との間に位置する。半導体層のヘテロエピタキシャル層を用いて緩衝層としてより確実性の高いゲート誘電体層を形成することにより、ゲート誘電体層における炭素クラスターの形成を抑制し、デバイスの確実性を向上させる。
【選択図】図1
特許請求の範囲
【請求項1】
対向する第1表面および第2表面を有する半導体層と、トレンチゲート構造と、緩衝層とを含む半導体デバイスであって、前記トレンチゲート構造の少なくとも一部は、前記半導体層の前記第1表面のトレンチに位置し、
ここでは、前記半導体層は、
前記第1表面から前記第2表面に向かう方向に延伸するソース領域と、
ドリフト領域およびボディ領域とを含み、前記ドリフト領域の少なくとも一部が前記ボディ領域と前記半導体層の第2表面との間に位置し、
前記ボディ領域の第1部分は、前記第1表面から前記第2表面に向かう方向に沿って、前記ソース領域と前記ドリフト領域との間に位置し、前記ボディ領域の第1部分、前記ソース領域は、いずれも前記トレンチの第1側壁に隣接し、
ここでは、前記緩衝層は、前記半導体層のヘテロエピタキシャル層であり、前記緩衝層は、前記トレンチの内面と、前記半導体層の第1表面とを覆い、前記緩衝層は、前記トレンチゲート構造のゲート誘電体層と前記半導体層との間に位置し、
前記ソース領域および前記ドリフト領域は第1導電型であり、前記ボディ領域は第2導電型であり、前記第1導電型は前記第2導電型と反対である、半導体デバイス。
続きを表示(約 1,700 文字)
【請求項2】
前記半導体層はSiC半導体層を含み、前記緩衝層は、Si層、SiGe層、GaN層、GaAs層のうちの1つ以上を含む、請求項1に記載の半導体デバイス。
【請求項3】
前記緩衝層の厚さは、1つ以上の原子層の厚さを含む、請求項1に記載の半導体デバイス。
【請求項4】
前記ボディ領域の第1部分、第2部分と第3部分は前記トレンチゲート構造の幅方向に沿って順次隣接し、
前記ボディ領域の第1部分と第2部分は、2つの前記トレンチゲート構造の間に位置し、前記第1部分は、前記トレンチの第1側壁に隣接し、前記第2部分は、前記トレンチの第2側壁に近接し、前記第1側壁と前記第2側壁とは対向し、
前記第3部分と前記第2部分とは、同じ前記トレンチに近接し、かつ、前記第3部分は、前記トレンチの底面と前記第2表面との間に位置し、前記第3部分と前記第1部分は前記ドリフト領域によって隔てられ、
ここでは、前記第2部分は、前記第2側壁に隣接し、または、前記第2部分と前記第2側壁は前記ドリフト領域によって隔てられる、請求項1に記載の半導体デバイス。
【請求項5】
前記ボディ領域の第3部分は、前記トレンチの底面から前記第2表面の方向に延伸し、または、
前記トレンチの底面の少なくとも一部と前記ボディ領域の第3部分は、前記ドリフト領域によって、前記第1表面から前記第2表面に向かう方向に沿って隔てられる、請求項4に記載の半導体デバイス。
【請求項6】
前記ボディ領域の第2部分は、接続される第1サブ領域と第2サブ領域とを含み、
前記トレンチゲート構造の幅方向に沿って、前記第1サブ領域は前記ボディ領域の第1部分に隣接し、前記第2サブ領域は、前記ボディ領域の第3部分に隣接し、
ここでは、前記ボディ領域の第1部分の、前記第2表面の方向に向かう縁から前記第1表面までの距離は第1距離であり、前記第1サブ領域の、前記第2表面の方向に向かう縁から前記第1表面までの距離は第2距離であり、前記第2サブ領域の、前記第2表面に向かう方向の縁から前記第1表面までの距離は第3距離であり、
前記第3距離は前記第2距離より大きく、前記第2距離は前記第1距離より大きい、請求項5に記載の半導体デバイス。
【請求項7】
前記トレンチの底面から前記第1表面までの距離は第4距離であり、前記第2距離は前記第4距離以上である、請求項6に記載の半導体デバイス。
【請求項8】
前記第2表面から前記第1表面に向かう方向に沿って、前記トレンチの底面から前記第1表面までの距離は第4距離であり、前記ボディ領域の第3部分と前記トレンチの底面が前記ドリフト領域によって隔てられる距離は第5距離であり、
前記第4距離と前記第5距離との合計は前記第2距離に等しい、請求項6に記載の半導体デバイス。
【請求項9】
前記ボディ領域の第2部分と、第3部分との、前記第2表面方向に向かう縁は接続され、または、
前記第3部分の、前記第2表面に向かう縁は、前記第2部分の前記第2表面に向かう縁より前記第2表面に近い、請求項4~8のいずれか一項に記載の半導体デバイス。
【請求項10】
前記半導体層は、前記ボディ領域の第1部分と前記ドリフト領域との間に位置するチャネルドレイン領域をさらに含み、それにより、前記ソース領域、前記ボディ領域の前記第1部分と前記チャネルドレイン領域とは、前記第1表面から前記第2表面に向かう方向に沿って順次隣接し、かついずれも前記トレンチの第1側壁に隣接し、
前記チャネルドレイン領域は、さらに、前記ドリフト領域および前記ボディ領域の第2部分にそれぞれ隣接し、かつ前記チャネルドレイン領域と前記ボディ領域の第3部分とは前記ドリフト領域によって隔てられ、
ここでは、前記チャネルドレイン領域は第1導電型である、請求項1~8のいずれか一項に記載の半導体デバイス。
(【請求項11】以降は省略されています)
発明の詳細な説明
【技術分野】
【0001】
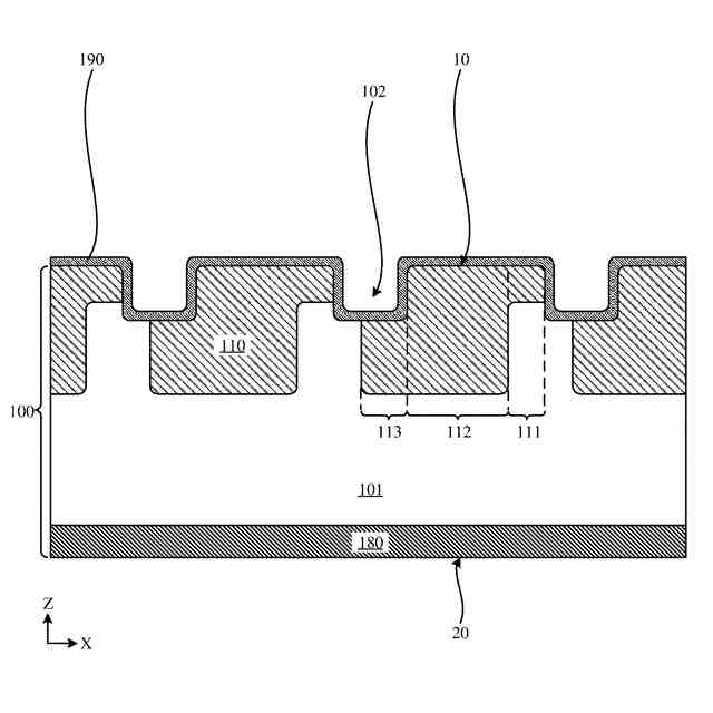
本開示は、半導体デバイス技術の分野に関し、より詳細には、トレンチゲート構造を有する半導体デバイスに関する。
続きを表示(約 2,000 文字)
【背景技術】
【0002】
炭化ケイ素(SiC)半導体デバイスはスイッチング速度が速く、電力密度が高いなどの利点を有し、平面トランジスタ構造と比較して、垂直トランジスタ構造は、ブロッキング電圧とオン抵抗とのトレードオフを、同じ面積にわたって容易にする。ゲート誘電体層の確実性は垂直トランジスタ構造の重要な指標の1つであるが、半導体層上に酸化プロセスによりゲート誘電体層を形成する場合、SiC中のSiの優先的酸化により、ゲート誘電体層中に炭素クラスター(C cluster)を形成し、このようにしてゲート誘電体層の均一性および膜の品質を劣化させ、デバイスの安定性および確実性を低下させる。
【発明の概要】
【発明が解決しようとする課題】
【0003】
上記問題に鑑み、本開示は半導体層のヘテロエピタキシャル層を用いて緩衝層として、より確実性の高いゲート誘電体層を形成する半導体デバイスを提供することを目的とし、これにより、ゲート誘電体層における炭素クラスターの形成が抑制される。
【課題を解決するための手段】
【0004】
本開示の実施例によって提供される半導体デバイスは、対向する第1表面および第2表面を有する半導体層と、トレンチゲート構造と、緩衝層とを含み、前記トレンチゲート構造の少なくとも一部は、前記半導体層の前記第1表面のトレンチ内に位置し、
ここでは、前記半導体層は、
前記第1表面から前記第2表面に向かう方向に延伸するソース領域と、
少なくとも一部が前記ボディ領域と前記半導体層の第2表面との間に位置するドリフト領域およびボディ領域とを含み、
前記ボディ領域の第1部分は、前記第1表面から前記第2表面に向かう方向に沿って、前記ソース領域と前記ドリフト領域との間に位置し、前記ボディ領域の第1部分、前記ソース領域は、いずれも前記トレンチの第1側壁に隣接し、
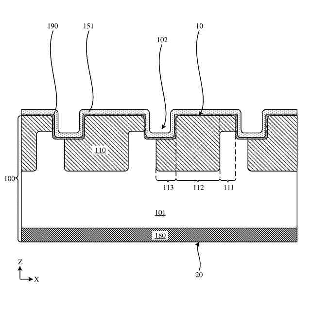
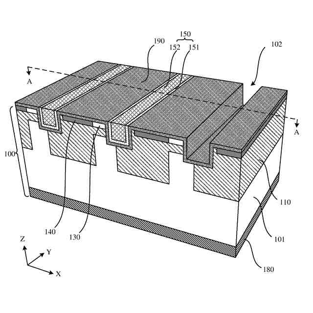
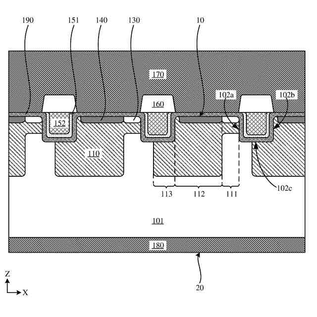
ここでは、前記緩衝層は、前記半導体層のヘテロエピタキシャル層であり、前記緩衝層は、前記トレンチの内面と、前記半導体層の第1表面とを覆い、前記緩衝層は、前記トレンチゲート構造のゲート誘電体層と前記半導体層との間に位置し、
ここでは、前記ソース領域および前記ドリフト領域は第1導電型であり、前記ボディ領域は第2導電型であり、前記第1導電型は前記第2導電型と反対である。
【0005】
選択可能に、前記半導体層は炭化ケイ素半導体層を含み、前記緩衝層は、Si層、SiGe層、GaN層、GaAs層のうちの1つ以上を含む。
【0006】
選択可能に、前記緩衝層の厚さは、1つ以上の原子層の厚さを含む。
【0007】
選択可能に、前記ボディ領域の第1部分、第2部分と第3部分とは前記トレンチゲート構造の幅方向に沿って順次隣接し、
前記ボディ領域の第1部分と第2部分は、2つの前記トレンチゲート構造の間に位置し、前記第1部分は、前記トレンチの第1側壁に隣接し、前記第2部分は、前記トレンチの第2側壁に近接し、前記第1側壁と前記第2側壁とは対向し、
前記第3部分と前記第2部分とは、同じ前記トレンチに近接し、かつ、前記第3部分は、前記トレンチの底面と前記第2表面との間に位置し、前記第3部分と前記第1部分は前記ドリフト領域によって隔てられ、
ここでは、前記第2部分は、前記第2側壁に隣接し、または、前記第2部分と前記第2側壁は前記ドリフト領域によって隔てられる。
【0008】
選択可能に、前記ボディ領域の第3部分は、前記トレンチの底面から前記第2表面の方向に延伸し、または、
前記トレンチの底面の少なくとも一部と前記ボディ領域の第3部分は、前記ドリフト領域によって、前記第1表面から前記第2表面に向かう方向に沿って隔てられる。
【0009】
選択可能に、前記ボディ領域の前記第2部分は、接続される第1サブ領域と第2サブ領域とを含み、
前記トレンチゲート構造の幅方向に沿って、前記第1サブ領域は前記ボディ領域の第1部分に隣接し、前記第2サブ領域は、前記ボディ領域の第3部分に隣接し、
ここでは、前記ボディ領域の第1部分の、前記第2表面の方向に向かう縁から前記第1表面までの距離は第1距離であり、前記第1サブ領域の、前記第2表面の方向に向かう縁から前記第1表面までの距離は第2距離であり、前記第2サブ領域の、前記第2表面に向かう方向の縁から前記第1表面までの距離は第3距離であり、
前記第3距離は前記第2距離より大きく、前記第2距離は前記第1距離より大きい。
【0010】
選択可能に、前記トレンチの底面から前記第1表面までの距離は第4距離であり、前記第2距離は前記第4距離以上である。
(【0011】以降は省略されています)
この特許をJ-PlatPat(特許庁公式サイト)で参照する
関連特許
重慶奕能科技有限公司
半導体デバイス
4日前
重慶奕能科技有限公司
半導体デバイス
4日前
重慶奕能科技有限公司
半導体デバイス
9日前
重慶奕能科技有限公司
半導体デバイス
26日前
重慶奕能科技有限公司
半導体デバイス
26日前
個人
半導体装置
2か月前
個人
積和演算用集積回路
1か月前
東レ株式会社
太陽電池モジュール
2か月前
サンケン電気株式会社
半導体装置
1か月前
旭化成株式会社
発光素子
1か月前
エイブリック株式会社
縦型ホール素子
1か月前
エイブリック株式会社
縦型ホール素子
1か月前
日機装株式会社
半導体発光装置
25日前
ローム株式会社
抵抗チップ
1か月前
ローム株式会社
半導体装置
9日前
富士通株式会社
半導体装置
1か月前
三菱電機株式会社
半導体装置
17日前
三菱電機株式会社
半導体装置
1か月前
三菱電機株式会社
半導体装置
4日前
株式会社半導体エネルギー研究所
表示装置
1か月前
株式会社半導体エネルギー研究所
表示装置
9日前
富士電機株式会社
半導体装置
1か月前
三菱電機株式会社
半導体装置
1か月前
株式会社東芝
半導体装置
17日前
日亜化学工業株式会社
発光素子
1か月前
日亜化学工業株式会社
発光装置
1か月前
ローム株式会社
半導体集積回路
1か月前
TDK株式会社
圧電素子
1か月前
日亜化学工業株式会社
発光装置
1か月前
株式会社半導体エネルギー研究所
発光デバイス
1か月前
ローム株式会社
半導体装置
1か月前
サンケン電気株式会社
半導体装置
17日前
ローム株式会社
半導体装置
1か月前
ローム株式会社
窒化物半導体装置
1か月前
ローム株式会社
半導体装置
2日前
ローム株式会社
半導体装置
1か月前
続きを見る
他の特許を見る