TOP
|
特許
|
意匠
|
商標
特許ウォッチ
Twitter
他の特許を見る
10個以上の画像は省略されています。
公開番号
2025153252
公報種別
公開特許公報(A)
公開日
2025-10-10
出願番号
2024055631
出願日
2024-03-29
発明の名称
発光装置
出願人
日亜化学工業株式会社
代理人
個人
,
個人
主分類
H10H
20/854 20250101AFI20251002BHJP()
要約
【課題】高性能の発光装置を提供することを目的とする。
【解決手段】本発明の一態様の発光装置は、下面と、前記下面の反対側に位置する上面と、前記下面と前記上面とを繋ぐ側面と、を有する発光部と、第1光反射材52、アルカリ金属ケイ酸塩、及び第1細孔を含み、前記発光部の前記下面の少なくとも一部を被覆する第1無機部材と、第2光反射材62、アルカリ金属ケイ酸塩、及び第2細孔を含み、前記発光部の前記上面の外周に配置される第2無機部材と、を備え、前記第1細孔に、絶縁部材が配置され、前記第2細孔に、気体が配置される。
【選択図】図2
特許請求の範囲
【請求項1】
下面と、前記下面の反対側に位置する上面と、前記下面と前記上面とを繋ぐ側面と、を有する発光部と、
第1光反射材、アルカリ金属ケイ酸塩、及び第1細孔を含み、前記発光部の前記下面の少なくとも一部を被覆する第1無機部材と、
第2光反射材、アルカリ金属ケイ酸塩、及び第2細孔を含み、前記発光部の前記上面の外周に配置される第2無機部材と、を備え、
前記第1細孔に、絶縁部材が配置され、前記第2細孔に、気体が配置される、発光装置。
続きを表示(約 840 文字)
【請求項2】
前記第1細孔は、前記第1無機部材の外表面から前記発光部と対向する面まで貫通しており、
前記第1細孔に配置される前記絶縁部材は、前記発光部に接している、請求項1に記載の発光装置。
【請求項3】
前記発光部は、発光素子と、前記発光素子上に配置される透光性部材と、を備える請求項1に記載の発光装置。
【請求項4】
前記第1無機部材は、前記発光素子の側面を被覆し、
前記第2無機部材は、前記透光性部材の側面を被覆する請求項3に記載の発光装置。
【請求項5】
前記絶縁部材は、透光性を有し、
前記透光性部材の下面の周縁は、前記発光素子の上面の周縁より外側に位置し、
前記透光性部材の下面における前記発光素子の上面の周縁より外側に位置する領域に、前記第1無機部材が接する、請求項3又は4に記載の発光装置。
【請求項6】
前記絶縁部材は、樹脂又はガラスで構成される、請求項5に記載の発光装置。
【請求項7】
前記発光部が電気的に接続される配線を有する配線基板と、
前記配線基板上に配置され、前記第1無機部材の外表面を被覆する第1被覆部材と、を備え、
前記配線基板の上面からの前記第1被覆部材の上端の高さは、前記配線基板の上面からの前記第1無機部材の上端の高さと同等以下である、請求項6に記載の発光装置。
【請求項8】
前記第1被覆部材は、樹脂と、バリスタ特性を有する粒子と、を含む、請求項7に記載の発光装置。
【請求項9】
前記第1被覆部材は、樹脂と、光反射性粒子と、を含む、請求項7に記載の発光装置。
【請求項10】
前記第2無機部材の外表面を被覆する第2被覆部材を備え、
前記第2被覆部材は、前記第2細孔の内壁を被覆しない、請求項6に記載の発光装置。
(【請求項11】以降は省略されています)
発明の詳細な説明
【技術分野】
【0001】
本発明は、発光装置に関する。
続きを表示(約 1,900 文字)
【背景技術】
【0002】
発光素子と、発光素子の外周に配置される無機部材と、を備える発光装置が知られている(特許文献1)。
【先行技術文献】
【特許文献】
【0003】
特開2022-58212号公報
【発明の概要】
【発明が解決しようとする課題】
【0004】
このような無機部材は、発光装置の性能を向上させるために未だ改善の余地がある。ここでの発光装置の性能とは、信頼性、発光状態における発光装置の発光領域と該発光領域の外周に位置する非発光領域との輝度差の急峻さ等である。
【0005】
そこで、本開示の一実施形態は、高性能の発光装置を提供することを目的とする。
【課題を解決するための手段】
【0006】
本開示の一実施形態に係る発光装置は、下面と、前記下面の反対側に位置する上面と、前記下面と前記上面とを繋ぐ側面と、を有する発光部と、第1光反射材、アルカリ金属ケイ酸塩、及び第1細孔を含み、前記発光部の前記下面の少なくとも一部を被覆する第1無機部材と、第2光反射材、アルカリ金属ケイ酸塩、及び第2細孔を含み、前記発光部の前記上面の外周に配置される第2無機部材と、を備え、前記第1細孔に、絶縁部材が配置され、前記第2細孔に、気体が配置される。
【発明の効果】
【0007】
本開示の一実施形態によれば、高性能の発光装置を提供することができる。
【図面の簡単な説明】
【0008】
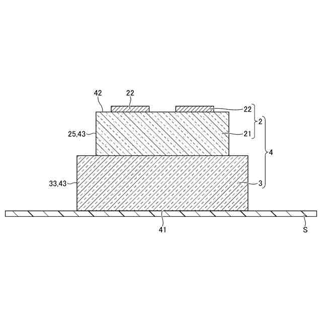
一実施形態に係る発光装置を模式的に示す平面図である。
図1のII-II断面図である。
図2のIII-III断面の第1無機部材の一部を拡大した模式図である。
図2のIII-III断面の第2無機部材の一部を拡大した模式図である。
一実施形態に係る発光装置の発光部と第1細孔及び第2細孔との関係を模式的に示す、図1のII-II断面図である。
一実施形態に係る発光装置の製造方法を説明する概略断面図である。
一実施形態に係る発光装置の製造方法を説明する概略断面図である。
一実施形態に係る発光装置の製造方法を説明する概略断面図である。
一実施形態に係る発光装置の製造方法を説明する概略断面図である。
一実施形態に係る発光装置の製造方法を説明する概略断面図である。
一実施形態に係る発光装置の第1変形例を示す概略断面図である。
図7における第2無機部材の破線枠部分における部分拡大図である。
一実施形態に係る発光装置の第2変形例を示す概略断面図である。
図9における第2無機部材の破線枠部分における部分拡大図である。
一実施形態に係る発光装置の第3変形例を示す概略断面図である。
一実施形態に係る発光装置の第4変形例を示す概略断面図である。
一実施形態に係る発光装置の第5変形例を示す概略断面図である。
一実施形態に係る発光モジュールを示す概略断面図である。
【発明を実施するための形態】
【0009】
以下、図面を参照して発明を実施するための形態について説明する。なお、以下の説明では、必要に応じて特定の方向や位置を示す用語(例えば、「上」、「下」、及びそれらの用語を含む別の用語)を用いる。しかし、それらの用語の使用は図面を参照した発明の理解を容易にするためであって、それらの用語の意味によって本発明の技術的範囲が制限されるものではない。また、複数の図面に表れる同一符号の部分は同一若しくは同等の部分又は部材を示す。
【0010】
さらに、以下に示す実施形態は、本発明の技術思想を具体化するための発光装置等を例示するものであって、本発明を以下に限定するものではない。また、以下に記載されている構成部品の寸法、材料、形状、その相対的配置等は、特定的な記載がない限り、本発明の範囲をそれのみに限定する趣旨ではなく、例示することを意図したものである。また、一の実施形態において説明する内容は、他の実施形態や変形例にも適用可能である。また、図面が示す部材の大きさや位置関係等は、説明を明確にするため、誇張している場合がある。さらに、図面が過度に複雑になることを避けるために、一部の要素の図示を省略した模式図を用いたり、断面図として切断面のみを示す端面図を用いたりすることがある。
(【0011】以降は省略されています)
この特許をJ-PlatPat(特許庁公式サイト)で参照する
関連特許
日亜化学工業株式会社
発光素子
今日
日亜化学工業株式会社
発光素子
今日
日亜化学工業株式会社
垂直共振器面発光レーザ素子
今日
日亜化学工業株式会社
発光モジュール及びモバイルデバイス
今日
日亜化学工業株式会社
照射装置、発光装置、及び紫外光の照射方法
今日
日亜化学工業株式会社
セラミックス基板及び発光装置、並びに、それらの製造方法
今日
日亜化学工業株式会社
正極活物質及び非水電解質二次電池用正極
2日前
個人
積和演算用集積回路
1日前
サンケン電気株式会社
半導体装置
今日
エイブリック株式会社
縦型ホール素子
24日前
エイブリック株式会社
縦型ホール素子
24日前
旭化成株式会社
発光素子
10日前
ローム株式会社
抵抗チップ
15日前
三菱電機株式会社
半導体装置
9日前
株式会社半導体エネルギー研究所
表示装置
24日前
富士電機株式会社
半導体装置
21日前
日亜化学工業株式会社
発光装置
10日前
ローム株式会社
半導体集積回路
9日前
ローム株式会社
窒化物半導体装置
24日前
株式会社半導体エネルギー研究所
発光デバイス
8日前
ローム株式会社
半導体装置
16日前
富士電機株式会社
半導体装置の製造方法
23日前
ローム株式会社
半導体装置
14日前
ローム株式会社
窒化物半導体装置
15日前
ローム株式会社
半導体装置
今日
日亜化学工業株式会社
発光素子
今日
大日本印刷株式会社
太陽電池
17日前
ローム株式会社
光センサ
22日前
今泉工業株式会社
光発電装置及びその製造方法
14日前
日亜化学工業株式会社
発光装置
2日前
日亜化学工業株式会社
発光素子
今日
日本ゼオン株式会社
構造体
2日前
日亜化学工業株式会社
発光装置
9日前
日亜化学工業株式会社
発光装置の製造方法及び発光装置
9日前
ローム株式会社
半導体装置
28日前
住友電気工業株式会社
炭化珪素半導体装置
11日前
続きを見る
他の特許を見る