TOP
|
特許
|
意匠
|
商標
特許ウォッチ
Twitter
他の特許を見る
10個以上の画像は省略されています。
公開番号
2025175906
公報種別
公開特許公報(A)
公開日
2025-12-03
出願番号
2024095852
出願日
2024-06-13
発明の名称
半導体デバイス
出願人
重慶奕能科技有限公司
代理人
弁理士法人朝日奈特許事務所
主分類
H10D
30/66 20250101AFI20251126BHJP()
要約
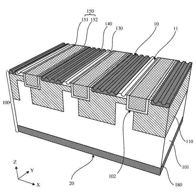
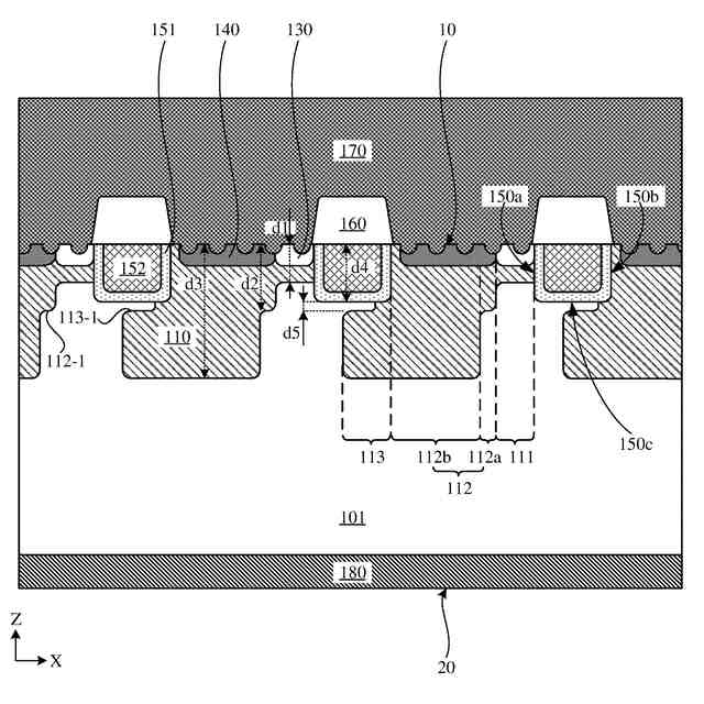
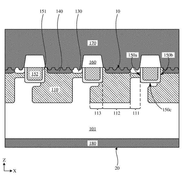
【課題】半導体層の第1表面に複数の凹みを設置することにより、単位面積当たりの導電層とソース領域のコンタクト面積を増大し、ソースコンタクト抵抗を低下させる半導体デバイスを提供する。
【解決手段】半導体デバイスは、半導体層と、ゲート誘電体層151とゲート導体152とを含むトレンチゲート構造と、導電層170と、を含み、半導体層は、対向する第1表面10と第2表面20とを有し、ソース領域130と、ボディ領域110と、ドリフト領域101と、を含む。トレンチゲート構造の少なくとも一部は、半導体層の第1表面のトレンチに位置し、ソース領域は、第1表面から第2表面の方向に向かって延在する。半導体層の第1表面は、複数の凹みを有し、導電層は、第1表面に隣接し、且つ、複数の凹みまで延在する。
【選択図】図3
特許請求の範囲
【請求項1】
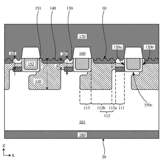
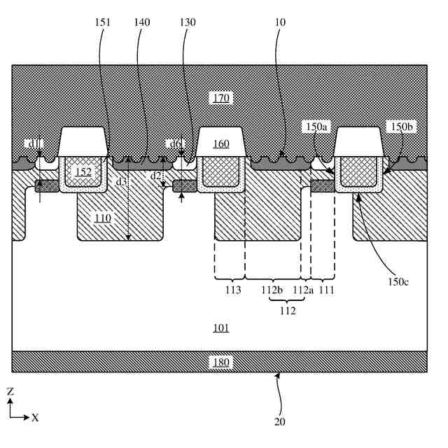
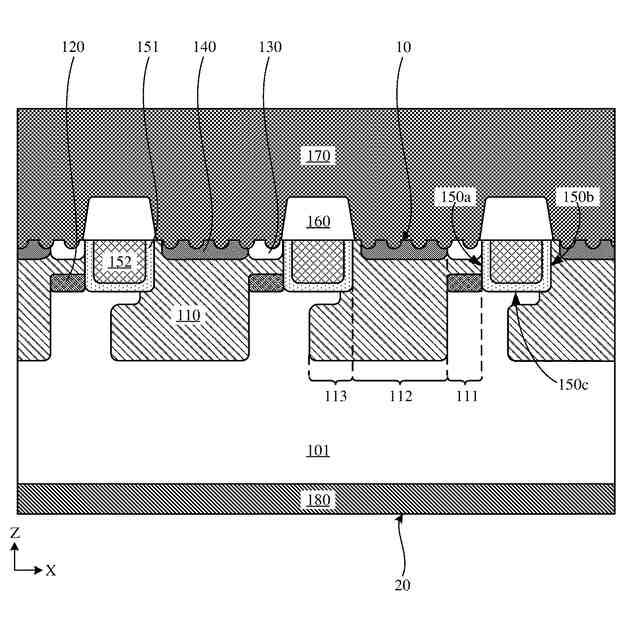
半導体デバイスであって、半導体層と、トレンチゲート構造と、導電層とを含み、前記半導体層は、対向する第1表面と第2表面とを有し、前記トレンチゲート構造の少なくとも一部は、前記半導体層の前記第1表面のトレンチに位置し、
前記半導体層は、
前記第1表面から前記第2表面の方向に向かって延在するソース領域と、
ドリフト領域とボディ領域とであって、少なくとも一部の前記ドリフト領域が前記ボディ領域と前記半導体層の第2表面との間に位置するドリフト領域とボディ領域とを含み、
前記ボディ領域の第1部分は、前記第1表面から前記第2表面に向かう方向に沿って前記ソース領域と前記ドリフト領域との間に位置し、前記ボディ領域の第1部分、前記ソース領域は、いずれも前記トレンチゲート構造の第1側壁に隣接し、
前記第1表面は、複数の凹みを有し、前記導電層は、前記第1表面に隣接し、且つ前記複数の凹みまで延在し、
前記ソース領域と前記ドリフト領域は、第1導電タイプであり、前記ボディ領域は、第2導電タイプであり、前記第1導電タイプと前記第2導電タイプとは、反対である、半導体デバイス。
続きを表示(約 1,600 文字)
【請求項2】
前記凹みは、三日月形、テーパ形、多角形のうちの1つ又は組み合わせを呈する、請求項1に記載の半導体デバイス。
【請求項3】
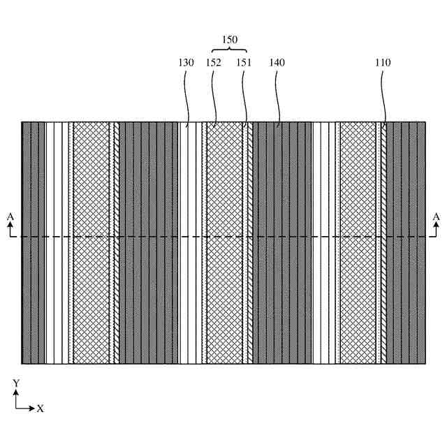
前記凹みは、前記トレンチゲート構造の延在方向に沿って連続的に延在し、又は、
複数の前記凹みは、前記トレンチゲート構造の延在方向に沿って延在し、且つ少なくとも2つの前記凹みは、前記トレンチゲート構造の延在方向に沿って前記第1表面の平面によって分離される、請求項1に記載の半導体デバイス。
【請求項4】
2つの前記トレンチゲート構造の間において、前記凹みは、アレイ状に配列される、請求項3に記載の半導体デバイス。
【請求項5】
前記ボディ領域の第1部分と、第2部分と、第3部分とは、前記トレンチゲート構造の幅方向に沿って順に隣接し、
前記ボディ領域の第1部分と第2部分は、2つの前記トレンチゲート構造の間に位置し、前記第1部分は、前記トレンチゲート構造の第1側壁に隣接し、前記第2部分は、前記トレンチゲート構造の第2側壁に近接し、前記第1側壁と前記第2側壁とは、対向し、
前記第3部分と前記第2部分は、同一の前記トレンチゲート構造に近接し、且つ前記第3部分は、前記トレンチゲート構造の底面と前記第2表面との間に位置し、前記第3部分と前記第1部分とは、前記ドリフト領域によって分離され、
前記第2部分は、前記第2側壁に隣接し、又は、前記第2部分と前記第2側壁とは、前記ドリフト領域によって分離される、請求項1に記載の半導体デバイス。
【請求項6】
前記ボディ領域の第3部分は、前記トレンチゲート構造の底面から前記第2表面の方向に向かって延在し、又は、
前記トレンチゲート構造の少なくとも一部の底面と前記ボディ領域の第3部分とは、前記第1表面から前記第2表面に向かう方向に沿って前記ドリフト領域によって分離される、請求項5に記載の半導体デバイス。
【請求項7】
前記ボディ領域の第2部分は、接続される第1サブ領域と第2サブ領域とを含み、
前記トレンチゲート構造の幅方向に沿って、前記第1サブ領域は、前記ボディ領域の第1部分に隣接し、前記第2サブ領域は、前記ボディ領域の第3部分に隣接し、
前記ボディ領域の第1部分の前記第2表面に向かう方向のエッジから前記第1表面までの距離は、第1距離、前記第1サブ領域の前記第2表面に向かう方向のエッジから前記第1表面までの距離は、第2距離、前記第2サブ領域の前記第2表面に向かう方向のエッジから前記第1表面までの距離は、第3距離であり、
前記第3距離は、前記第2距離よりも大きく、前記第2距離は、前記第1距離よりも大きい、請求項6に記載の半導体デバイス。
【請求項8】
前記トレンチゲート構造の底面から前記第1表面までの距離は、第4距離であり、前記第2距離は、前記第4距離以上である、請求項7に記載の半導体デバイス。
【請求項9】
前記第2表面から前記第1表面に向かう方向に沿って、前記トレンチゲート構造の底面から前記第1表面までの距離は、第4距離であり、前記ボディ領域の第3部分と前記トレンチゲート構造の底面とが前記ドリフト領域によって分離される距離は、第5距離であり、
前記第4距離と前記第5距離の和は、前記第2距離に等しい、請求項7に記載の半導体デバイス。
【請求項10】
前記ボディ領域の第2部分の前記第2表面に向かう方向のエッジと第3部分の前記第2表面に向かう方向のエッジとは、接続され、又は
前記第3部分の前記第2表面に向かう方向のエッジは、前記第2部分の前記第2表面に向かう方向のエッジよりも前記第2表面に近接する、請求項5~9のいずれか1項に記載の半導体デバイス。
(【請求項11】以降は省略されています)
発明の詳細な説明
【技術分野】
【0001】
本開示は、半導体デバイスの技術分野に関し、より具体的には、トレンチゲート構造を有する半導体デバイスに関する。
続きを表示(約 2,000 文字)
【背景技術】
【0002】
垂直トランジスタ構造は、平面トランジスタ構造に比べて、バリア電圧と導通抵抗とを同じ面積でバランスさせるのに有利である。パワートランジスタは、高いパワー密度と高い発熱量を維持するために、高いバリア電圧、低い導通抵抗、及び高い安定性/信頼性を必要とする。パワートランジスタにおけるセル数を拡大して生産性と歩留まりを向上させ、コストを低減すると、セル当たりの面積縮小によるソースコンタクト抵抗が増加し、これにより導通抵抗がより高くなり、且つ自己熱効果による信頼性が低下する。そのため、上記問題を改善するためには、デバイスを改良する必要がある。
【発明の概要】
【発明が解決しようとする課題】
【0003】
上記問題に鑑み、本開示の目的は、導電層とソース領域のコンタクト面積を増加させることにより、ソースコンタクト抵抗を低下する、半導体デバイスを提供することにある。
【課題を解決するための手段】
【0004】
本開示の実施例による半導体デバイスであって、半導体層と、トレンチゲート構造と、導電層とを含み、前記半導体層は、対向する第1表面と第2表面とを有し、前記トレンチゲート構造の少なくとも一部は、前記半導体層の前記第1表面のトレンチに位置し、
前記半導体層は、前記第1表面から前記第2表面の方向に向かって延在するソース領域と、
ドリフト領域とボディ領域とであって、少なくとも一部の前記ドリフト領域が前記ボディ領域と前記半導体層の第2表面との間に位置するドリフト領域とボディ領域とを含み、
前記ボディ領域の第1部分は、前記第1表面から前記第2表面に向かう方向に沿って前記ソース領域と前記ドリフト領域との間に位置し、前記ボディ領域の第1部分、前記ソース領域は、いずれも前記トレンチゲート構造の第1側壁に隣接し、
前記第1表面は、複数の凹みを有し、前記導電層は、前記第1表面に隣接し、且つ前記複数の凹みまで延在し、
前記ソース領域と前記ドリフト領域は、第1導電タイプであり、前記ボディ領域は、第2導電タイプであり、前記第1導電タイプと前記第2導電タイプとは、反対である。
【0005】
選択的には、前記凹みは、三日月形、テーパ形、多角形のうちの1つ又は組み合わせを呈する。
【0006】
選択的には、前記凹みは、前記トレンチゲート構造の延在方向に沿って連続的に延在し、又は、
複数の前記凹みは、前記トレンチゲート構造の延在方向に沿って延在し、且つ少なくとも2つの前記凹みは、前記トレンチゲート構造の延在方向に沿って前記第1表面の平面によって分離される。
【0007】
2つの前記トレンチゲート構造の間において、前記凹みは、アレイ状に配列される。
【0008】
選択的には、前記ボディ領域の第1部分と、第2部分と、第3部分とは、前記トレンチゲート構造の幅方向に沿って順に隣接し、
前記ボディ領域の第1部分と第2部分は、2つの前記トレンチゲート構造の間に位置し、前記第1部分は、前記トレンチゲート構造の第1側壁に隣接し、前記第2部分は、前記トレンチゲート構造の第2側壁に近接し、前記第1側壁と前記第2側壁とは、対向し、
前記第3部分と前記第2部分は、同一の前記トレンチゲート構造に近接し、且つ前記第3部分は、前記トレンチゲート構造の底面と前記第2表面との間に位置し、前記第3部分と前記第1部分とは、前記ドリフト領域によって分離され、
前記第2部分は、前記第2側壁に隣接し、又は、前記第2部分と前記第2側壁とは、前記ドリフト領域によって分離される。
【0009】
選択的には、前記ボディ領域の第3部分は、前記トレンチゲート構造の底面から前記第2表面の方向に向かって延在し、又は、
前記トレンチゲート構造の少なくとも一部の底面と前記ボディ領域の第3部分とは、前記第1表面から前記第2表面に向かう方向に沿って前記ドリフト領域によって分離される。
【0010】
選択的には、前記ボディ領域の第2部分は、接続される第1サブ領域と第2サブ領域とを含み、
前記トレンチゲート構造の幅方向に沿って、前記第1サブ領域は、前記ボディ領域の第1部分に隣接し、前記第2サブ領域は、前記ボディ領域の第3部分に隣接し、
前記ボディ領域の第1部分の前記第2表面に向かう方向のエッジから前記第1表面までの距離は、第1距離、前記第1サブ領域の前記第2表面に向かう方向のエッジから前記第1表面までの距離は、第2距離、前記第2サブ領域の前記第2表面に向かう方向のエッジから前記第1表面までの距離は、第3距離であり、
前記第3距離は、前記第2距離よりも大きく、前記第2距離は、前記第1距離よりも大きい。
(【0011】以降は省略されています)
この特許をJ-PlatPat(特許庁公式サイト)で参照する
関連特許
重慶奕能科技有限公司
半導体デバイス
4日前
重慶奕能科技有限公司
半導体デバイス
4日前
重慶奕能科技有限公司
半導体デバイス
9日前
重慶奕能科技有限公司
半導体デバイス
26日前
重慶奕能科技有限公司
半導体デバイス
26日前
個人
積和演算用集積回路
1か月前
サンケン電気株式会社
半導体装置
1か月前
エイブリック株式会社
縦型ホール素子
1か月前
日機装株式会社
半導体発光装置
25日前
旭化成株式会社
発光素子
1か月前
エイブリック株式会社
縦型ホール素子
1か月前
ローム株式会社
抵抗チップ
1か月前
ローム株式会社
半導体装置
9日前
三菱電機株式会社
半導体装置
4日前
三菱電機株式会社
半導体装置
1か月前
株式会社半導体エネルギー研究所
表示装置
1か月前
株式会社東芝
半導体装置
17日前
株式会社半導体エネルギー研究所
表示装置
9日前
三菱電機株式会社
半導体装置
17日前
富士電機株式会社
半導体装置
1か月前
ローム株式会社
半導体集積回路
1か月前
日亜化学工業株式会社
発光装置
1か月前
株式会社半導体エネルギー研究所
発光デバイス
1か月前
サンケン電気株式会社
半導体装置
17日前
富士電機株式会社
半導体装置の製造方法
1か月前
ローム株式会社
半導体装置
1か月前
ローム株式会社
窒化物半導体装置
1か月前
株式会社半導体エネルギー研究所
発光デバイス
25日前
ローム株式会社
半導体装置
1か月前
ローム株式会社
半導体装置
2日前
ローム株式会社
半導体装置
1か月前
ローム株式会社
窒化物半導体装置
1か月前
大日本印刷株式会社
太陽電池
1か月前
日亜化学工業株式会社
発光素子
1か月前
新電元工業株式会社
半導体素子
2日前
新電元工業株式会社
半導体素子
2日前
続きを見る
他の特許を見る