TOP
|
特許
|
意匠
|
商標
特許ウォッチ
Twitter
他の特許を見る
10個以上の画像は省略されています。
公開番号
2025168622
公報種別
公開特許公報(A)
公開日
2025-11-11
出願番号
2024086364
出願日
2024-05-28
発明の名称
半導体デバイス
出願人
重慶奕能科技有限公司
代理人
弁理士法人朝日奈特許事務所
主分類
H10D
30/66 20250101AFI20251104BHJP()
要約
【課題】チャネルドレイン領域を設置することにより、より良いチャネルの長さの変化制御性を有する、半導体デバイスを提供する。
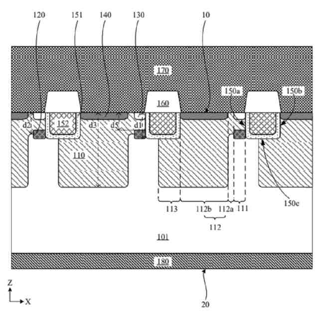
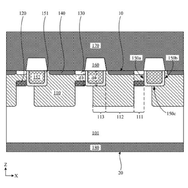
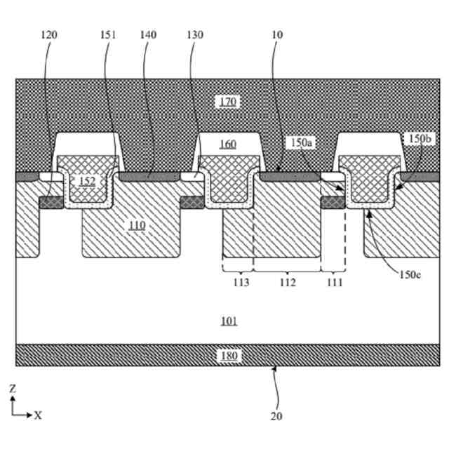
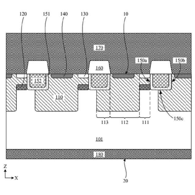
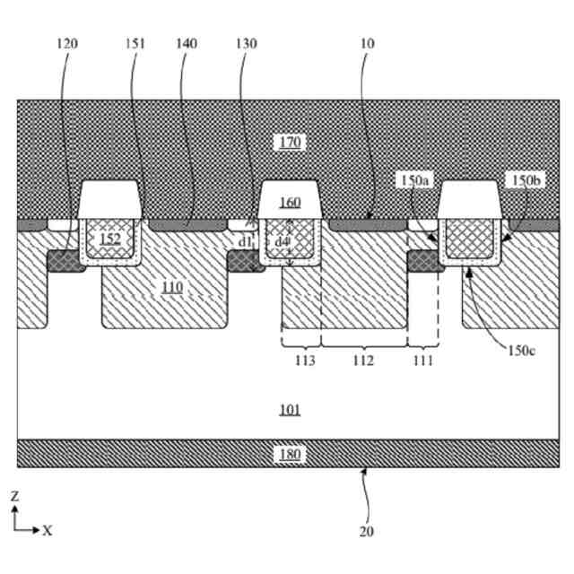
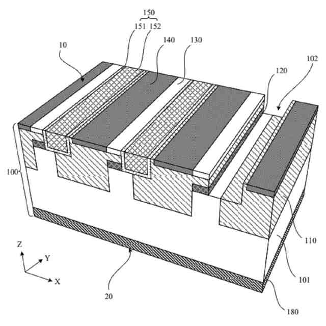
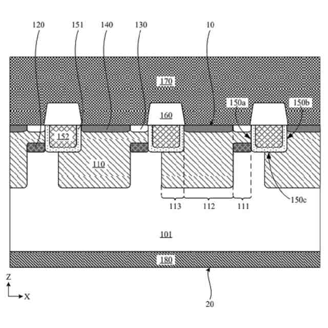
【解決手段】半導体デバイスは、半導体層と、ゲート誘電体層151とゲート導体152を含むトレンチゲート構造とを含み、半導体層は、第1表面から第2表面の方向に向かって延在するソース領域130と、少なくとも一部のドリフト領域がソース領域と半導体層の第2表面との間に位置し、バルク領域の第1部分がソース領域とドリフト領域との間に位置するドリフト領域101及びバルク領域110と、バルク領域の第1部分111とドリフト領域との間に位置し、それによりソース領域とバルク領域の第1部分とチャネルドレイン領域120とが、第1表面から第2表面に向かう方向に沿って順に隣接し、且つ、何れもトレンチゲート構造の第1側壁150aに隣接するチャネルドレイン領域120と、を含む。
【選択図】図3
特許請求の範囲
【請求項1】
半導体層とトレンチゲート構造とを含み、前記半導体層が対向する第1表面と第2表面とを有し、前記トレンチゲート構造の少なくとも一部が前記半導体層の前記第1表面のトレンチに位置する半導体デバイスであって、
前記半導体層は、
前記第1表面から前記第2表面の方向に向かって延在するソース領域と、
ドリフト領域とバルク領域であって、少なくとも一部の前記ドリフト領域が前記バルク領域と前記半導体層の第2表面との間に位置し、前記バルク領域の第1部分が前記ソース領域と前記ドリフト領域との間に位置するドリフト領域とバルク領域と、
チャネルドレイン領域であって、前記バルク領域の第1部分と前記ドリフト領域との間に位置し、それにより前記ソース領域と前記バルク領域の第1部分と前記チャネルドレイン領域とが前記第1表面から前記第2表面に向かう方向に沿って順に隣接し且ついずれも前記トレンチゲート構造の第1側壁に隣接するチャネルドレイン領域とを含み、
前記ソース領域、前記チャネルドレイン領域と前記ドリフト領域は、第1導電タイプ、前記バルク領域は、第2導電タイプであり、前記第1導電タイプと前記第2導電タイプとは、反対である、半導体デバイス。
続きを表示(約 1,600 文字)
【請求項2】
前記チャネルドレイン領域のドープ濃度は、前記ドリフト領域のドープ濃度よりも大きい、請求項1に記載の半導体デバイス。
【請求項3】
前記バルク領域の第1部分と第2部分と第3部分とは、前記トレンチゲート構造の幅方向に沿って順に隣接し、
前記バルク領域の第2部分は、それぞれ前記トレンチゲート構造の第2側壁と前記ドリフト領域に隣接し、
前記バルク領域の第3部分は、前記トレンチゲート構造の底面から前記第2表面の方向に向かって延在し、前記ドリフト領域に隣接し、
前記チャネルドレイン領域と前記バルク領域の第3部分とは、前記ドリフト領域によって分離され、
前記第1側壁は、前記第2側壁と対向する、請求項1に記載の半導体デバイス。
【請求項4】
前記バルク領域の第2部分は、接続される第1サブ領域と第2サブ領域とを含み、
前記第1サブ領域は、前記バルク領域の第1部分に隣接し、前記第2サブ領域は、前記バルク領域の第3部分に隣接し、
前記チャネルドレイン領域の前記第2表面の方向に向かうエッジから前記第1表面までの距離は、第1距離であり、
前記第1サブ領域の前記第2表面の方向に向かうエッジから前記第1表面までの距離は、第2距離であり、
前記第2サブ領域の前記第2表面の方向に向かうエッジから前記第1表面までの距離は、第3距離であり、
前記第3距離は、前記第1距離よりも大きく、前記第1距離は、前記第2距離よりも大きく、それにより前記チャネルドレイン領域と前記第2サブ領域とは、前記トレンチゲート構造の幅方向に沿って前記ドリフト領域によって分離される、請求項3に記載の半導体デバイス。
【請求項5】
前記バルク領域の第2部分と第3部分との前記第2表面の方向に向かうエッジは、接続される、請求項1~4のいずれか1項に記載の半導体デバイス。
【請求項6】
前記チャネルドレイン領域の前記第2表面の方向に向かうエッジから前記第1表面までの距離は、第1距離であり、
前記トレンチゲート構造の底面から前記第1表面までの距離は、第4距離であり、
前記第1距離は、前記第4距離以下である、請求項1~4のいずれか1項に記載の半導体デバイス。
【請求項7】
前記チャネルドレイン領域の前記第2表面の方向に向かうエッジから前記第1表面までの距離は、第1距離であり、
前記トレンチゲート構造の底面から前記第1表面までの距離は、第4距離であり、
前記第1距離は、前記第4距離よりも大きく、且つ前記チャネルドレイン領域は、前記トレンチゲート構造の底面の一部に隣接する、請求項1~4のいずれか1項に記載の半導体デバイス。
【請求項8】
前記半導体層は、ボディコンタクト領域をさらに含み、前記ボディコンタクト領域は、前記第1表面から前記第2表面の方向に向かって延在し、且つ前記バルク領域に隣接し、
前記ボディコンタクト領域は、第2導電タイプである、請求項3又は4に記載の半導体デバイス。
【請求項9】
前記トレンチゲート構造の延在方向に沿って、前記ボディコンタクト領域の一部は、前記第2側壁に隣接し、前記ボディコンタクト領域の別の一部と前記第2側壁との間に隙間を有し、前記ボディコンタクト領域の前記第2側壁に隣接する部分と隙間を有する部分とは、前記トレンチゲート構造の延在方向に沿って交互に設置され、
又は、前記ボディコンタクト領域と前記第2側壁とは、いずれも前記バルク領域によって分離される、請求項8に記載の半導体デバイス。
【請求項10】
前記ボディコンタクト領域と前記ソース領域とは、隣接し又は前記バルク領域によって分離される、請求項8に記載の半導体デバイス。
(【請求項11】以降は省略されています)
発明の詳細な説明
【技術分野】
【0001】
本開示は、半導体デバイス構造の分野に関し、より具体的には、トレンチゲート構造を有する半導体デバイスに関する。
続きを表示(約 2,100 文字)
【背景技術】
【0002】
垂直トランジスタ構造は、平面トランジスタ構造と比較して、同じ面積でブロッキング電圧と導通抵抗との等化に有利である。同一のシステムでパワーデバイスモジュール又は複数のディスクリートデバイスを使用する場合、トランジスタデバイスとデバイスとの間の特性変化も集積システムのロバスト性の重要な考慮要素の1つである。製造過程で、トランジスタは、大量のプロセスステップと異なる製造機器を経なければならない。そのため、トランジスタのデバイス特性もデバイスによって異なり、集積度の増加に伴い、各デバイスの特性をより均一にすることが必要であり、その中で、チャネルの長さの均一性が重要なパラメータの1つである。
【発明の概要】
【発明が解決しようとする課題】
【0003】
上記課題に鑑み、本開示の目的は、半導体デバイスを提供することであり、チャネルドレイン領域を設置することにより、半導体デバイスは、より良いチャネルの長さの変化制御性を有する。
【課題を解決するための手段】
【0004】
半導体層とトレンチゲート構造とを含み、前記半導体層が対向する第1表面と第2表面とを有し、前記トレンチゲート構造の少なくとも一部が前記半導体層の前記第1表面のトレンチに位置する本開示の実施例による半導体デバイスであって、
前記半導体層は、
前記第1表面から前記第2表面の方向に向かって延在するソース領域と、
ドリフト領域とバルク領域であって、少なくとも一部の前記ドリフト領域が前記バルク領域と前記半導体層の第2表面との間に位置し、前記バルク領域の第1部分が前記ソース領域と前記ドリフト領域との間に位置するドリフト領域とバルク領域と、
チャネルドレイン領域であって、前記バルク領域の第1部分と前記ドリフト領域との間に位置し、それにより前記ソース領域と前記バルク領域の第1部分と前記チャネルドレイン領域とが前記第1表面から前記第2表面に向かう方向に沿って順に隣接し且ついずれも前記トレンチゲート構造の第1側壁に隣接するチャネルドレイン領域とを含み、
前記ソース領域、前記チャネルドレイン領域と前記ドリフト領域は、第1導電タイプ、前記バルク領域は、第2導電タイプであり、前記第1導電タイプと前記第2導電タイプとは、反対である。
【0005】
選択的に、前記チャネルドレイン領域のドープ濃度は、前記ドリフト領域のドープ濃度よりも大きい。
【0006】
選択的に、前記バルク領域の第1部分と第2部分と第3部分とは、前記トレンチゲート構造の幅方向に沿って順に隣接し、
前記バルク領域の第2部分は、それぞれ前記トレンチゲート構造の第2側壁と前記ドリフト領域に隣接し、
前記バルク領域の第3部分は、前記トレンチゲート構造の底面から前記第2表面の方向に向かって延在し、前記ドリフト領域に隣接し、
前記チャネルドレイン領域と前記バルク領域の第3部分とは、前記ドリフト領域によって分離され、
前記第1側壁は、前記第2側壁と対向する。
【0007】
選択的に、前記バルク領域の第2部分は、接続される第1サブ領域と第2サブ領域とを含み、
前記第1サブ領域は、前記バルク領域の第1部分に隣接し、前記第2サブ領域は、前記バルク領域の第3部分に隣接し、
前記チャネルドレイン領域の前記第2表面の方向に向かうエッジから前記第1表面までの距離は、第1距離であり、
前記第1サブ領域の前記第2表面の方向に向かうエッジから前記第1表面までの距離は、第2距離であり、
前記第2サブ領域の前記第2表面の方向に向かうエッジから前記第1表面までの距離は、第3距離であり、
前記第3距離は、前記第1距離よりも大きく、前記第1距離は、前記第2距離よりも大きく、それにより前記チャネルドレイン領域と前記第2サブ領域とは、前記トレンチゲート構造の幅方向に沿って前記ドリフト領域によって分離される。
【0008】
選択的に、前記バルク領域の第2部分と第3部分との前記第2表面の方向に向かうエッジは、接続される。
【0009】
選択的に、前記チャネルドレイン領域の前記第2表面の方向に向かうエッジから前記第1表面までの距離は、第1距離であり、
前記トレンチゲート構造の底面から前記第1表面までの距離は、第4距離であり、
前記第1距離は、前記第4距離以下である。
【0010】
選択的に、前記チャネルドレイン領域の前記第2表面の方向に向かうエッジから前記第1表面までの距離は、第1距離であり、
前記トレンチゲート構造の底面から前記第1表面までの距離は、第4距離であり、
前記第1距離は、前記第4距離よりも大きく、且つ前記チャネルドレイン領域は、前記トレンチゲート構造の底面の一部に隣接する。
(【0011】以降は省略されています)
特許ウォッチbot のツイートを見る
この特許をJ-PlatPat(特許庁公式サイト)で参照する
関連特許
個人
積和演算用集積回路
1か月前
サンケン電気株式会社
半導体装置
1か月前
日機装株式会社
半導体発光装置
26日前
旭化成株式会社
発光素子
1か月前
ローム株式会社
半導体装置
10日前
株式会社半導体エネルギー研究所
表示装置
10日前
三菱電機株式会社
半導体装置
5日前
三菱電機株式会社
半導体装置
18日前
三菱電機株式会社
半導体装置
1か月前
株式会社東芝
半導体装置
18日前
日亜化学工業株式会社
発光装置
1か月前
ローム株式会社
半導体集積回路
1か月前
ローム株式会社
半導体装置
1か月前
ローム株式会社
半導体装置
1か月前
サンケン電気株式会社
半導体装置
18日前
株式会社半導体エネルギー研究所
発光デバイス
1か月前
ローム株式会社
半導体装置
3日前
株式会社半導体エネルギー研究所
発光デバイス
26日前
日亜化学工業株式会社
発光素子
1か月前
新電元工業株式会社
半導体素子
3日前
新電元工業株式会社
半導体素子
3日前
新電元工業株式会社
半導体素子
3日前
日亜化学工業株式会社
発光装置
1か月前
日亜化学工業株式会社
発光装置
3日前
今泉工業株式会社
光発電装置及びその製造方法
1か月前
ローム株式会社
半導体装置
18日前
日本ゼオン株式会社
構造体
1か月前
日亜化学工業株式会社
発光装置
1か月前
日亜化学工業株式会社
発光素子
1か月前
住友電気工業株式会社
炭化珪素半導体装置
10日前
住友電気工業株式会社
炭化珪素半導体装置
1か月前
株式会社東芝
半導体装置及びウエーハ
1か月前
ローム株式会社
半導体装置
1か月前
住友電気工業株式会社
炭化珪素半導体装置
1か月前
住友電気工業株式会社
炭化珪素半導体装置
1か月前
株式会社東芝
ウエーハ及び半導体装置
11日前
続きを見る
他の特許を見る