TOP
|
特許
|
意匠
|
商標
特許ウォッチ
Twitter
他の特許を見る
公開番号
2025162421
公報種別
公開特許公報(A)
公開日
2025-10-27
出願番号
2024065713
出願日
2024-04-15
発明の名称
炭化珪素半導体装置
出願人
住友電気工業株式会社
代理人
個人
,
個人
主分類
H10D
30/66 20250101AFI20251020BHJP()
要約
【課題】耐圧を向上させる炭化珪素半導体装置を提供する。
【解決手段】炭化珪素半導体装置100は、第1主面1と第2主面2とを有し、第1主面に垂直な平面視で、活性領域110と活性領域を囲む終端領域120とを有する炭化珪素基板を備え、炭化珪素基板は、第1導電型を有する第1半導体領域11と、第2導電型を有する複数の第2半導体領域14と、活性領域内に設けられ第2導電型を有し第1主面を構成し、平面視で環状の第3半導体領域16とを有し、複数の第2半導体領域は、活性領域および終端領域内で第1主面に平行な第1軸に沿って並び、第2半導体領域の平面視で第3半導体領域と重なる第4半導体領域144は、第3半導体領域に電気的に接続されており、4半導体領域に含まれる第2導電型の第1不純物の実効濃度は、第2半導体領域の平面視で第3半導体領域の内側に位置する第5半導体領域に含まれる第1不純物の実効濃度よりも低い。
【選択図】図4
特許請求の範囲
【請求項1】
第1主面と、前記第1主面とは反対の第2主面とを有し、前記第1主面に垂直な平面視で、活性領域と、前記活性領域を囲む終端領域とを有する炭化珪素基板を備え、
前記炭化珪素基板は、
第1導電型を有する第1半導体領域と、
前記第1半導体領域内に設けられ、第2導電型を有する複数の第2半導体領域と、
前記活性領域内に設けられ、前記第2導電型を有し、前記第1主面を構成し、前記平面視で環状の第3半導体領域と、
を有し、
複数の前記第2半導体領域は、前記活性領域および前記終端領域内で前記第1主面に平行な第1軸に沿って並び、
前記第2半導体領域の平面視で前記第3半導体領域と重なる第4半導体領域は前記第3半導体領域に電気的に接続されており、
前記第4半導体領域に含まれる前記第2導電型の第1不純物の実効濃度は、前記第2半導体領域の平面視で前記第3半導体領域の内側に位置する第5半導体領域に含まれる前記第1不純物の実効濃度よりも低い、炭化珪素半導体装置。
続きを表示(約 960 文字)
【請求項2】
前記第4半導体領域は、
第6半導体領域と、
前記第6半導体領域と前記第2主面との間の第7半導体領域と、
を有し、
前記第7半導体領域に含まれる前記第1不純物の実効濃度は、前記第6半導体領域に含まれる前記第1不純物の実効濃度よりも高い、請求項1に記載の炭化珪素半導体装置。
【請求項3】
前記第7半導体領域における前記第1不純物の実効濃度の最小値は、前記第6半導体領域における前記第1不純物の実効濃度の最大値よりも5×10
15
cm
-3
以上大きい、請求項2に記載の炭化珪素半導体装置。
【請求項4】
前記炭化珪素基板は、前記終端領域内に設けられ、前記第2導電型を有し、前記第1主面を構成し、前記第3半導体領域に連なる環状の第8半導体領域を有し、
前記第2半導体領域の平面視で前記第8半導体領域と重なる第9半導体領域は前記第8半導体領域に電気的に接続されており、
前記第9半導体領域に含まれる前記第1不純物の実効濃度は、前記第5半導体領域に含まれる前記第1不純物の実効濃度よりも低い、請求項1から請求項3のいずれか1項に記載の炭化珪素半導体装置。
【請求項5】
複数の前記第2半導体領域は、前記第1軸に沿って一定のピッチで設けられている、請求項1から請求項3のいずれか1項に記載の炭化珪素半導体装置。
【請求項6】
複数の前記第2半導体領域は、前記第1主面に平行かつ前記第1軸に垂直な第2軸に沿って延びる、請求項1から請求項3のいずれか1項に記載の炭化珪素半導体装置。
【請求項7】
前記第2半導体領域は、前記第2主面に対向する下端面を有し、
前記第1主面と前記下端面との間の距離は、前記第1半導体領域の厚さの1/2以上である、請求項1から請求項3のいずれか1項に記載の炭化珪素半導体装置。
【請求項8】
前記第2半導体領域は、前記第2主面に対向する下端面を有し、
前記第1主面と前記下端面との間の距離は、前記第1半導体領域の厚さの1/2未満である、請求項1から請求項3のいずれか1項に記載の炭化珪素半導体装置。
発明の詳細な説明
【技術分野】
【0001】
本開示は、炭化珪素半導体装置に関する。
続きを表示(約 1,600 文字)
【背景技術】
【0002】
従来、スーパージャンクション構造を備えた半導体装置が開示されている。
【先行技術文献】
【特許文献】
【0003】
特開2003-273355号公報
【発明の概要】
【発明が解決しようとする課題】
【0004】
従来の半導体装置においては、耐圧の更なる向上が困難である。
【0005】
本開示は、耐圧を向上できる炭化珪素半導体装置を提供することを目的とする。
【課題を解決するための手段】
【0006】
本開示の炭化珪素半導体装置は、第1主面と、前記第1主面とは反対の第2主面とを有し、前記第1主面に垂直な平面視で、活性領域と、前記活性領域を囲む終端領域とを有する炭化珪素基板を備え、前記炭化珪素基板は、第1導電型を有する第1半導体領域と、前記第1半導体領域内に設けられ、第2導電型を有する複数の第2半導体領域と、前記活性領域内に設けられ、前記第2導電型を有し、前記第1主面を構成し、前記平面視で環状の第3半導体領域と、を有し、複数の前記第2半導体領域は、前記活性領域および前記終端領域内で前記第1主面に平行な第1軸に沿って並び、前記第2半導体領域の平面視で前記第3半導体領域と重なる第4半導体領域は前記第3半導体領域に電気的に接続されており、前記第4半導体領域に含まれる前記第2導電型の第1不純物の実効濃度は、前記第2半導体領域の平面視で前記第3半導体領域の内側に位置する第5半導体領域に含まれる前記第1不純物の実効濃度よりも低い。
【発明の効果】
【0007】
本開示によれば、耐圧を向上できる。
【図面の簡単な説明】
【0008】
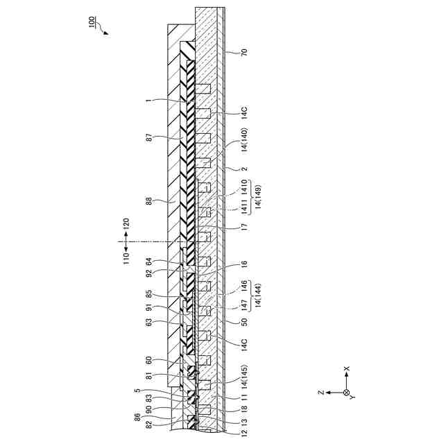
図1は、実施形態に係る炭化珪素半導体装置における炭化珪素基板の概要を示す模式図である。
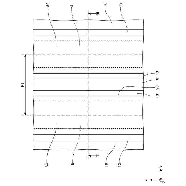
図2は、実施形態に係る炭化珪素半導体装置の活性領域における層間絶縁膜および第1主面の構成を示す図である。
図3は、実施形態に係る炭化珪素半導体装置の活性領域の構成を示す断面図である。
図4は、実施形態に係る炭化珪素半導体装置の活性領域と終端領域との境界の近傍の構成を示す断面図である。
図5は、実施形態に係る炭化珪素半導体装置の製造方法を示す断面図(その1)である。
図6は、実施形態に係る炭化珪素半導体装置の製造方法を示す断面図(その2)である。
図7は、実施形態に係る炭化珪素半導体装置の製造方法を示す断面図(その3)である。
図8は、実施形態に係る炭化珪素半導体装置の製造方法を示す断面図(その4)である。
【発明を実施するための形態】
【0009】
実施するための形態について、以下に説明する。
【0010】
[本開示の実施形態の説明]
最初に本開示の実施態様を列記して説明する。以下の説明では、同一または対応する要素には同一の符号を付し、それらについて同じ説明は繰り返さない。本明細書中の結晶学的記載においては、個別方位を[]、集合方位を<>、個別面を()、集合面を{}でそれぞれ示している。また結晶学上の指数が負であることは、通常、"-"(バー)を数字の上に付すことによって表現されるが、本開示では数字の前に負の符号を付している。また、以下の説明では、XYZ直交座標系を用いるが、当該座標系は、説明のために定めるものであって、炭化珪素半導体装置の姿勢について限定するものではない。また、XY面視を平面視といい、任意の点からみて、+Z方向を上方、上側または上ということがあり、-Z方向を下方、下側または下ということがある。
(【0011】以降は省略されています)
この特許をJ-PlatPat(特許庁公式サイト)で参照する
関連特許
住友電気工業株式会社
ペレット
26日前
住友電気工業株式会社
受光素子
16日前
住友電気工業株式会社
ペレット
26日前
住友電気工業株式会社
光検出装置
18日前
住友電気工業株式会社
充電システム
1か月前
住友電気工業株式会社
半導体受光素子
1か月前
住友電気工業株式会社
炭化珪素半導体装置
27日前
住友電気工業株式会社
炭化珪素半導体装置
27日前
住友電気工業株式会社
炭化珪素半導体装置
27日前
住友電気工業株式会社
炭化珪素半導体装置
27日前
住友電気工業株式会社
受光素子およびその製造方法
26日前
住友電気工業株式会社
窒化物半導体装置の製造方法
3日前
住友電気工業株式会社
集電体及びニッケル亜鉛電池
1か月前
住友電気工業株式会社
コンタクタ治具および検査治具
1か月前
住友電気工業株式会社
アバランシェフォトダイオード
11日前
住友電気工業株式会社
方法、超電導線材、および制御システム
1か月前
住友電気工業株式会社
画像処理装置、画像処理方法及び画像処理プログラム
17日前
住友電気工業株式会社
画像処理装置、画像処理方法及び画像処理プログラム
3日前
住友電気工業株式会社
電力変換システム、制御方法、コンピュータプログラム
3日前
住友電工プリントサーキット株式会社
プリント配線板
25日前
住友電気工業株式会社
光コネクタクリーナおよび光コネクタの端面の清掃方法
26日前
住友電気工業株式会社
絶縁層用樹脂組成物、絶縁電線および絶縁電線の製造方法
17日前
住友電気工業株式会社
樹脂組成物、電線、樹脂組成物の製造方法、および電線の製造方法
1か月前
株式会社オートネットワーク技術研究所
電装品
16日前
株式会社オートネットワーク技術研究所
電装品
16日前
株式会社SCREENホールディングス
成形方法、および、成形品
1か月前
株式会社オートネットワーク技術研究所
雌端子
25日前
株式会社オートネットワーク技術研究所
コネクタ
26日前
株式会社オートネットワーク技術研究所
コネクタ
26日前
住友電気工業株式会社
マルチコア光ファイバ
3日前
株式会社オートネットワーク技術研究所
固定部材
17日前
株式会社オートネットワーク技術研究所
コネクタ
3日前
住友電気工業株式会社
高電子移動度トランジスタおよび高電子移動度トランジスタの製造方法
3日前
株式会社オートネットワーク技術研究所
接続構造体
1か月前
株式会社オートネットワーク技術研究所
コネクタ装置
1か月前
株式会社オートネットワーク技術研究所
コネクタ装置
1か月前
続きを見る
他の特許を見る