TOP
|
特許
|
意匠
|
商標
特許ウォッチ
Twitter
他の特許を見る
10個以上の画像は省略されています。
公開番号
2025162879
公報種別
公開特許公報(A)
公開日
2025-10-28
出願番号
2024066366
出願日
2024-04-16
発明の名称
コネクタ
出願人
株式会社オートネットワーク技術研究所
,
住友電装株式会社
,
住友電気工業株式会社
代理人
弁理士法人笠井中根国際特許事務所
,
個人
,
個人
主分類
H01R
13/04 20060101AFI20251021BHJP(基本的電気素子)
要約
【課題】機器側に特別な構造を設けることなく、電線側端子の機器側端子へのボルト締結時の作業者の感電のリスクを低減することができる、コネクタを開示する。
【解決手段】コネクタ10が、端子付き電線28とハウジング22とインナハウジング24と締結ボルト18とを備え、電線側端子12は機器側端子16にボルト締結される電線側締結部32を有し、ハウジング22は、第1開口部108と締結用工具を挿し入れ可能な第2開口部106とを有し、締結ボルト18は、電線側締結部32の第2面50上に載置される絶縁被覆92に覆われたボルト頭部88を有し、インナハウジング24は、第2面50を覆う第1覆蓋壁150と、第1覆蓋壁150を貫通する第3開口部152と、を有し、第1覆蓋壁150によって電線側締結部32の第2面50の第2開口部106からの露出が阻止され、第3開口部152によってボルト頭部88が第2開口部106側に露出している。
【選択図】図4
特許請求の範囲
【請求項1】
電線の端末に電線側端子が接続された端子付き電線と、
前記電線側端子が収容されたハウジングと、
前記ハウジングの内部に収容されたインナハウジングと、
前記ハウジングの内部に収容された締結ボルトと、を備え、
前記電線側端子は、前記締結ボルトが挿通される電線側ボルト挿通孔が設けられており、且つ機器側端子にボルト締結される電線側締結部を有し、
前記ハウジングは、前記機器側端子が重ね合わされる前記電線側締結部の第1面および前記締結ボルトのねじ部が露出する第1開口部と、前記電線側締結部の前記第1面と反対側の第2面に対向して配置され、前記締結ボルトの締結用工具を挿し入れ可能な第2開口部と、を有し、
前記締結ボルトは、前記ねじ部が前記電線側ボルト挿通孔に挿通された状態で前記電線側締結部の前記第2面上に載置される絶縁被覆に覆われたボルト頭部を有し、
前記インナハウジングは、前記電線側締結部の前記第2面を前記ハウジングの前記第2開口部側から覆う第1覆蓋壁と、前記第1覆蓋壁を貫通する第3開口部と、を有し、
前記インナハウジングの前記第1覆蓋壁によって、前記電線側締結部の前記第2面の前記第2開口部からの露出が阻止され、
前記インナハウジングの前記第3開口部によって、前記ボルト頭部の一部が前記第2開口部側に露出している、コネクタ。
続きを表示(約 1,000 文字)
【請求項2】
前記端子付き電線は、アルミニウムまたはアルミニウム合金を含んでなる前記電線の端末に前記電線側端子が接続されてなる端子付きアルミ電線であり、
前記電線側端子は、前記電線側締結部を有して銅または銅合金を含んでなる第1端子と、前記第1端子に連接されて前記電線の端末に接続されるアルミニウムまたはアルミニウム合金を含んでなる第2端子と、を含み、
前記第1端子の第1接触面が、前記第2端子の第2接触面に重ね合わされた状態で、前記第1端子と前記第2端子が相互にボルト締結されている、請求項1に記載のコネクタ。
【請求項3】
前記第1接触面には、複数の錐状突起が形成されている、請求項2に記載のコネクタ。
【請求項4】
前記締結ボルトの前記ボルト頭部を覆う前記絶縁被覆は、前記締結用工具が組み付けられる中央部と、前記中央部の外周側に広がるフランジ部と、を有し、
前記フランジ部は、前記電線側ボルト挿通孔の径寸法よりも大きい外径寸法を有し、前記フランジ部が、前記電線側ボルト挿通孔の周縁に係合することで、前記締結ボルトの前記ボルト頭部が前記電線側締結部の前記第2面上に載置され、
前記フランジ部は、前記インナハウジングの前記第3開口部の径寸法よりも大きい外径寸法を有し、前記フランジ部が前記第3開口部の周縁に係合することで、前記締結ボルトの前記第1覆蓋壁からの離脱が阻止されている、請求項1から請求項3のいずれか1項に記載のコネクタ。
【請求項5】
前記インナハウジングは、前記ハウジングおよび前記電線側端子の少なくとも一方に係合する係合部を有し、
前記インナハウジングは、前記係合部が前記ハウジングおよび前記電線側端子の少なくとも一方に係合した状態で、前記第1端子と前記第2端子のボルト締結領域を前記ハウジングの前記第2開口部側から覆う第2覆蓋壁を有している、請求項2または請求項3に記載のコネクタ。
【請求項6】
前記ハウジングは、前記第2開口部を覆って組み付けられるサービスカバーを含み、
前記サービスカバーは、前記第2開口部を覆う蓋部と、前記蓋部から前記締結ボルト側に突出する異常検知突起を有し、
前記異常検知突起は、前記電線側端子と前記機器側端子のボルト締結が未完了の場合に、前記締結ボルトに干渉して前記蓋部の前記第2開口部への当接を阻止する、請求項1または請求項2に記載のコネクタ。
発明の詳細な説明
【技術分野】
【0001】
本開示は、コネクタに関するものである。
続きを表示(約 2,900 文字)
【背景技術】
【0002】
特許文献1には、電線の端末に接続された電線側端子と、電線側端子を収容するハウジングとを備えたコネクタが開示されている。このコネクタは、車載機器に設けられた機器側端子に対して、ハウジングの開口部を通じたボルト締結によって電気的に接続されるようになっている。ハウジングの開口部からは、機器側端子にボルト締結された電線側端子や締結ボルトが露出しており感電のリスクがあるため、ハウジングの開口部はサービスカバーによって覆われている。
【0003】
車両の製造時やメンテナンス時において、ハウジングの開口部からサービスカバーが外されている際には、活電部となる機器側端子にボルト締結された電線側端子や締結ボルトに作業者が接触して感電するリスクがある。それゆえ、特許文献1では、ハウジングの内部にインターロック端子を備えたインターロック構造を採用し、サービスカバーを外した際にはインターロック端子が同時に抜けることにより、電線側端子と機器側端子との間の通電が阻止されて、感電が防止されるようになっている。
【先行技術文献】
【特許文献】
【0004】
特開2023-31719号公報
【発明の概要】
【発明が解決しようとする課題】
【0005】
特許文献1のコネクタを用いれば、サービスカバーを外した際に、作業者が感電するリスクを低減できるものの、インターロック構造をコネクタ側のみでなく、機器側にも設ける必要があった。
【0006】
そこで、機器側に特別な構造を設けることなく、電線側端子の機器側端子へのボルト締結時の作業者の感電のリスクを低減することができる、コネクタを開示する。
【課題を解決するための手段】
【0007】
本開示のコネクタは、電線の端末に電線側端子が接続された端子付き電線と、前記電線側端子が収容されたハウジングと、前記ハウジングの内部に収容されたインナハウジングと、前記ハウジングの内部に収容された締結ボルトと、を備え、前記電線側端子は、前記締結ボルトが挿通される電線側ボルト挿通孔が設けられており、且つ機器側端子にボルト締結される電線側締結部を有し、前記ハウジングは、前記機器側端子が重ね合わされる前記電線側締結部の第1面および前記締結ボルトのねじ部が露出する第1開口部と、前記電線側締結部の前記第1面と反対側の第2面に対向して配置され、前記締結ボルトの締結用工具を挿し入れ可能な第2開口部と、を有し、前記締結ボルトは、前記ねじ部が前記電線側ボルト挿通孔に挿通された状態で前記電線側締結部の前記第2面上に載置される絶縁被覆に覆われたボルト頭部を有し、前記インナハウジングは、前記電線側締結部の前記第2面を前記ハウジングの前記第2開口部側から覆う第1覆蓋壁と、前記第1覆蓋壁を貫通する第3開口部と、を有し、前記インナハウジングの前記第1覆蓋壁によって、前記電線側締結部の前記第2面の前記第2開口部からの露出が阻止され、前記インナハウジングの前記第3開口部によって、前記ボルト頭部の一部が前記第2開口部側に露出している、ものである。
【発明の効果】
【0008】
本開示のコネクタによれば、機器側に特別な構造を設けることなく、電線側端子の機器側端子へのボルト締結時の作業者の感電のリスクを低減することができる。
【図面の簡単な説明】
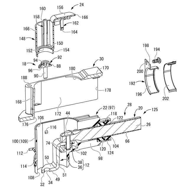
【0009】
図1は、実施形態1に係るコネクタを機器側端子との接続状態で示す斜視図である。
図2は、図1に示されたコネクタにおける平面図である。
図3は、図1に示されたコネクタを拡大して示す正面図である。
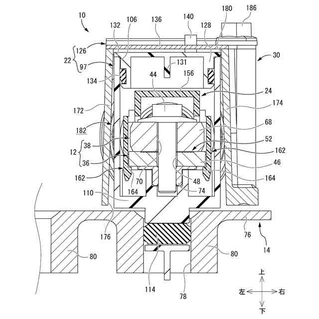
図4は、図2におけるIV-IV断面図である。
図5は、図2におけるV-V断面を拡大して示す縦断面図である。
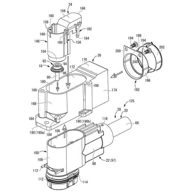
図6は、図1に示されたコネクタを構成するコネクタ本体を示す斜視図である。
図7は、図6に示されたコネクタ本体における縦断面斜視図であって、図2のIV-IV断面に相当する切断面における断面図である。
図8は、図6に示されたコネクタ本体における分解斜視図である。
図9は、図8に示されたコネクタ本体の分解状態における縦断面斜視図であって、図7に対応する図である。
図10は、図9に示されたコネクタ本体をさらに分解した状態を示す縦断面斜視図である。
図11は、図6に示されたコネクタ本体における電線側端子を機器側端子と接続して第2開口部をサービスカバーで覆う状態を示す縦断面斜視図であって、図7に対応する図である。
図12は、図11において電線側端子と機器側端子のボルト締結が未完了の状態でサービスカバーを組み付けた状態を示す縦断面図であって、図4に対応する図である。
図13は、図1に示されたコネクタを構成する第1端子を示す斜視図である。
図14は、図1に示されたコネクタを構成する第1端子と第2端子を第1接触面と第2接触面との重ね合わせ状態で示す縦断面図であって、要部を拡大して示す図である。
図15は、図14に示された第1端子および第2端子において熱膨張や熱収縮に伴う各端子の変位をモデル的に説明するための説明図である。
【発明を実施するための形態】
【0010】
<本開示の実施形態の説明>
最初に、本開示の実施態様を列記して説明する。
本開示のコネクタは、
(1)電線の端末に電線側端子が接続された端子付き電線と、前記電線側端子が収容されたハウジングと、前記ハウジングの内部に収容されたインナハウジングと、前記ハウジングの内部に収容された締結ボルトと、を備え、前記電線側端子は、前記締結ボルトが挿通される電線側ボルト挿通孔が設けられており、且つ機器側端子にボルト締結される電線側締結部を有し、前記ハウジングは、前記機器側端子が重ね合わされる前記電線側締結部の第1面および前記締結ボルトのねじ部が露出する第1開口部と、前記電線側締結部の前記第1面と反対側の第2面に対向して配置され、前記締結ボルトの締結用工具を挿し入れ可能な第2開口部と、を有し、前記締結ボルトは、前記ねじ部が前記電線側ボルト挿通孔に挿通された状態で前記電線側締結部の前記第2面上に載置される絶縁被覆に覆われたボルト頭部を有し、前記インナハウジングは、前記電線側締結部の前記第2面を前記ハウジングの前記第2開口部側から覆う第1覆蓋壁と、前記第1覆蓋壁を貫通する第3開口部と、を有し、前記インナハウジングの前記第1覆蓋壁によって、前記電線側締結部の前記第2面の前記第2開口部からの露出が阻止され、前記インナハウジングの前記第3開口部によって、前記ボルト頭部の一部が前記第2開口部側に露出している、ものである。
(【0011】以降は省略されています)
この特許をJ-PlatPat(特許庁公式サイト)で参照する
関連特許
東ソー株式会社
絶縁電線
1か月前
APB株式会社
蓄電セル
28日前
個人
フレキシブル電気化学素子
1か月前
日新イオン機器株式会社
イオン源
1か月前
株式会社ユーシン
操作装置
1か月前
ローム株式会社
半導体装置
29日前
株式会社東芝
端子台
22日前
マクセル株式会社
電源装置
22日前
株式会社GSユアサ
蓄電装置
1日前
富士電機株式会社
電磁接触器
1日前
三菱電機株式会社
回路遮断器
9日前
オムロン株式会社
電磁継電器
1か月前
株式会社GSユアサ
蓄電装置
23日前
株式会社GSユアサ
蓄電装置
23日前
株式会社ホロン
冷陰極電子源
1か月前
太陽誘電株式会社
コイル部品
1か月前
株式会社GSユアサ
蓄電装置
15日前
株式会社GSユアサ
蓄電設備
1か月前
株式会社GSユアサ
蓄電設備
1か月前
トヨタ自動車株式会社
バッテリ
1か月前
トヨタ自動車株式会社
冷却構造
1か月前
サクサ株式会社
電池の固定構造
1か月前
トヨタ自動車株式会社
蓄電装置
1か月前
トヨタ自動車株式会社
バッテリ
28日前
日本特殊陶業株式会社
保持装置
14日前
日東電工株式会社
積層体
1か月前
北道電設株式会社
配電具カバー
28日前
ノリタケ株式会社
熱伝導シート
1か月前
日新イオン機器株式会社
基板処理装置
25日前
日本特殊陶業株式会社
保持装置
1か月前
トヨタ自動車株式会社
蓄電装置
23日前
日本無線株式会社
レーダアンテナ
16日前
日本製紙株式会社
導電性フィルム
1か月前
トヨタ自動車株式会社
密閉型電池
24日前
株式会社トクヤマ
シリコンエッチング液
1か月前
株式会社トクヤマ
シリコンエッチング液
1か月前
続きを見る
他の特許を見る