TOP
|
特許
|
意匠
|
商標
特許ウォッチ
Twitter
他の特許を見る
公開番号
2025152160
公報種別
公開特許公報(A)
公開日
2025-10-09
出願番号
2024053930
出願日
2024-03-28
発明の名称
充電システム
出願人
住友電気工業株式会社
代理人
弁理士法人サンクレスト国際特許事務所
主分類
H02J
7/00 20060101AFI20251002BHJP(電力の発電,変換,配電)
要約
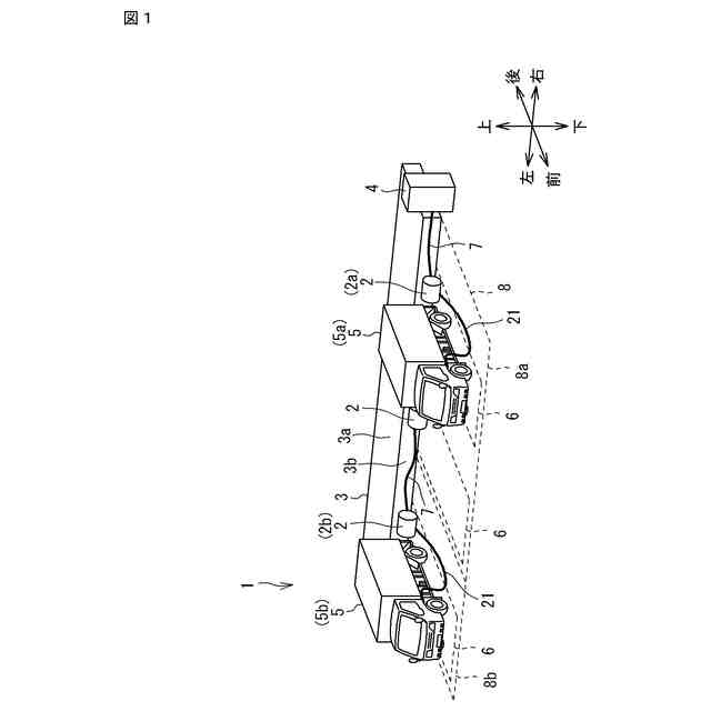
【課題】電動貨物自動車の集配時においても当該電動貨物自動車の充電を可能とする充電システムを提供する。
【解決手段】充電システムは、トラックバースに隣接するプラットフォーム下の領域にそれぞれ設置され、充電ケーブルを巻き取る複数の充電ケーブル巻取装置と、前記複数の充電ケーブル巻取装置が接続され、前記充電ケーブルを介して前記トラックバースに停車中の電動貨物自動車の蓄電池を選択的に充電する充電装置とを含む。
【選択図】図1
特許請求の範囲
【請求項1】
トラックバースに隣接するプラットフォーム下の領域にそれぞれ設置され、充電ケーブルを巻き取る複数の充電ケーブル巻取装置と、
前記複数の充電ケーブル巻取装置が接続され、前記充電ケーブルを介して前記トラックバースに停車中の電動貨物自動車の蓄電池を選択的に充電する充電装置とを含む、充電システム。
続きを表示(約 1,400 文字)
【請求項2】
前記複数の充電ケーブル巻取装置は、第1の充電ケーブル巻取装置および第2の充電ケーブル巻取装置を含み、
前記第1の充電ケーブル巻取装置は、第1のトラックバースに隣接するプラットフォーム下の領域に設置され、
前記第2の充電ケーブル巻取装置は、第2のトラックバースに隣接するプラットフォーム下の領域に設置され、
前記第1の充電ケーブル巻取装置の前記充電ケーブルは、前記第1のトラックバースに停車中の第1の電動貨物自動車に接続され、
前記第2の充電ケーブル巻取装置の前記充電ケーブルは、前記第2のトラックバースに停車中の第2の電動貨物自動車に接続され、
前記充電装置は、前記第1の電動貨物自動車および前記第2の電動貨物自動車のいずれかの蓄電池を充電する、請求項1に記載の充電システム。
【請求項3】
前記第1の充電ケーブル巻取装置は、前記第1のトラックバースにおける前記プラットフォームに隣接する領域に設置され、
前記第2の充電ケーブル巻取装置は、前記第2のトラックバースにおける前記プラットフォームに隣接する領域に設置される、請求項2に記載の充電システム。
【請求項4】
前記第1の充電ケーブル巻取装置および前記第2の充電ケーブル巻取装置の少なくともいずれかは、前記プラットフォームの床面の下に設けられた空間に設置される、請求項2に記載の充電システム。
【請求項5】
前記充電装置は、
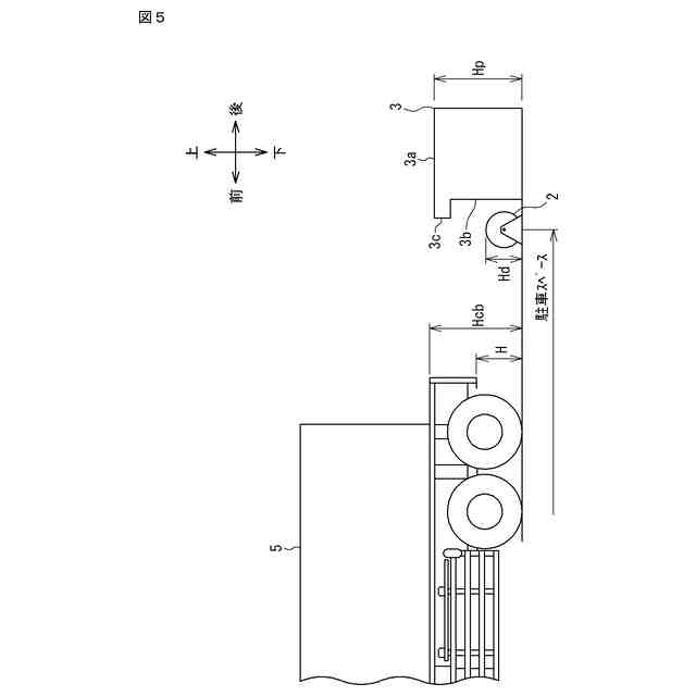
交流電力を直流電力に変換する電力変換装置と、
前記複数の充電ケーブル巻取装置のうち前記電力変換装置が変換した直流電力を供給する前記充電ケーブル巻取装置を選択する切替装置とを含む、請求項1から請求項4のいずれか1項に記載の充電システム。
【請求項6】
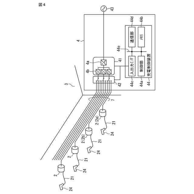
前記充電ケーブル巻取装置は、
前記充電ケーブルを巻き取るための巻胴と、
前記巻胴を回転自由に支持する支持部材と、を備え、
前記充電ケーブルの直径φが20mm以上40mm以下であり、前記充電ケーブルの許容曲げ半径Rが前記直径φの4倍以上10倍以下である、請求項1から請求項4のいずれか1項に記載の充電システム。
【請求項7】
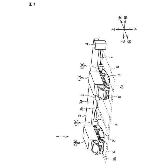
地面から前記電動貨物自動車の後輪の後方の荷台下に設けられた構成部材のうち最も前記地面に近い構成部材までの高さをHとした場合に、
前記巻胴の直径dは、下記式(1)の範囲である、請求項6に記載の充電システム。
2R≦d≦H-2φ・・・(1)
【請求項8】
前記充電ケーブル巻取装置は、前記巻胴の両側端部に設けられる一対の側板を更に備え、
前記側板の直径Dは、下記式(2)の範囲である、請求項7に記載の充電システム。
d+2φ≦D≦H・・・(2)
【請求項9】
前記充電装置は、前記トラックバースに停車する前記電動貨物自動車の走行の妨げとならない場所に設置される、請求項1から請求項4のいずれか1項に記載の充電システム。
【請求項10】
前記充電装置は、所定の順序にしたがって、充電のための電力供給を行う前記充電ケーブル巻取装置を切り替える、請求項1から請求項4に記載の充電システム。
発明の詳細な説明
【技術分野】
【0001】
本開示は、充電システムに関する。
続きを表示(約 1,100 文字)
【背景技術】
【0002】
近年、電気モーターによって駆動される電動貨物自動車(EV(Electric Vehicle)トラックとも呼ばれる。)が普及しつつある。電動貨物自動車は自家用車に比べて大きいため、電動貨物自動車を充電するための充電ケーブルは、自家用車用の充電ケーブルに比べて長くなることがある。充電ケーブルが長くなると、充電ケーブルの収納作業が煩雑となる。
【0003】
特許文献1は、電動車両を充電する充電ケーブルを収納する際に利用するリール装置を開示する。このリール装置は、充電ケーブルに連結されたワイヤーロープを巻き取る巻取ドラムと、巻取ドラムと連動して回転し、充電ケーブルを移動させるプーリとを含む。リール装置は、電動車両よりも上方の位置である天井等に設置される。
【0004】
また従来、充電ケーブルを巻き取って収納する巻取装置が知られている(非特許文献1)。この巻取装置も電動車両よりも上方の位置に設置される。
【0005】
このようなリール装置および巻取装置によれば、充電ケーブルの収納作業が容易となる。
【先行技術文献】
【特許文献】
【0006】
特開2017-51056号公報
【非特許文献】
【0007】
業務用大型特殊設計リール(OKS),[online],[令和5年1月7日検索],インターネット<https://www.hataya.jp/products/oksreel/post10090/>
【発明の概要】
【発明が解決しようとする課題】
【0008】
電動貨物自動車を含む電動車両の充電は、長時間の駐車が可能な専用の充電場所にて行われる。上記したリール装置および巻取装置は、このような専用の充電場所において、当該充電場所の高所に設置される。しかし、電動貨物自動車は荷物または貨物の集配のために利用されるため、専用の充電場所にて充電するための十分な時間がとれないことがある。
【0009】
本開示は、かかる従来の問題点に鑑み、電動貨物自動車の集配時においても当該電動貨物自動車の充電を可能とする充電システムを提供することを目的とする。
【課題を解決するための手段】
【0010】
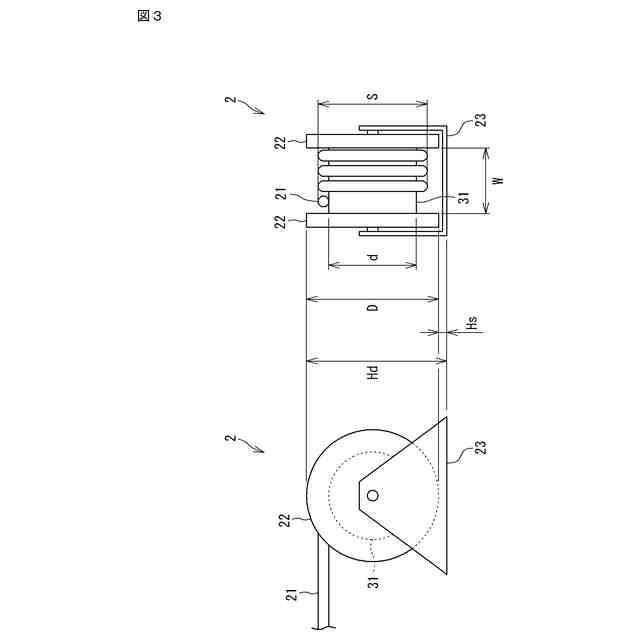
本開示の一態様に係る充電システムは、トラックバースに隣接するプラットフォーム下の領域にそれぞれ設置され、充電ケーブルを巻き取る複数の充電ケーブル巻取装置と、前記複数の充電ケーブル巻取装置が接続され、前記充電ケーブルを介して前記トラックバースに停車中の電動貨物自動車の蓄電池を選択的に充電する充電装置とを含む。
【発明の効果】
(【0011】以降は省略されています)
この特許をJ-PlatPat(特許庁公式サイト)で参照する
関連特許
住友電気工業株式会社
受光素子
1か月前
住友電気工業株式会社
ペレット
1か月前
住友電気工業株式会社
ペレット
1か月前
住友電気工業株式会社
光検出装置
1か月前
住友電気工業株式会社
半導体装置
3日前
住友電気工業株式会社
歪補償装置
4日前
住友電気工業株式会社
半導体受光素子
1か月前
住友電気工業株式会社
炭化珪素半導体装置
1か月前
住友電気工業株式会社
炭化珪素半導体装置
1か月前
住友電気工業株式会社
炭化珪素半導体装置
1か月前
住友電気工業株式会社
炭化珪素半導体装置
9日前
住友電気工業株式会社
炭化珪素半導体装置
1か月前
住友電気工業株式会社
光分岐ケーブルセット
4日前
住友電気工業株式会社
光コネクタおよび接続構造
9日前
住友電気工業株式会社
窒化物半導体装置の製造方法
17日前
住友電気工業株式会社
受光素子およびその製造方法
1か月前
住友電気工業株式会社
集電体及びニッケル亜鉛電池
1か月前
住友電気工業株式会社
窒化物半導体基板の製造方法
4日前
住友電気工業株式会社
アバランシェフォトダイオード
25日前
住友電気工業株式会社
学習装置、学習方法及び学習プログラム
4日前
住友電気工業株式会社
タンク、およびレドックスフロー電池システム
10日前
住友電気工業株式会社
半導体装置の製造方法および半導体装置の検査方法
9日前
住友電気工業株式会社
半導体装置の製造方法および半導体装置の検査方法
9日前
住友電気工業株式会社
半導体装置の製造方法および半導体装置の検査方法
9日前
住友電気工業株式会社
画像処理装置、画像処理方法及び画像処理プログラム
1か月前
住友電気工業株式会社
画像処理装置、画像処理方法及び画像処理プログラム
17日前
住友電気工業株式会社
窒化物半導体装置および窒化物半導体装置の製造方法
9日前
住友電工プリントサーキット株式会社
プリント配線板
1か月前
住友電気工業株式会社
電力変換システム、制御方法、コンピュータプログラム
17日前
住友電気工業株式会社
光コネクタクリーナおよび光コネクタの端面の清掃方法
1か月前
住友電気工業株式会社
回転電機
4日前
住友電気工業株式会社
絶縁層用樹脂組成物、絶縁電線および絶縁電線の製造方法
1か月前
住友電気工業株式会社
宅側装置、光通信システム、及びサブキャリアの選択方法
10日前
住友電気工業株式会社
プリント配線板用露光装置およびプリント配線板の製造方法
9日前
株式会社オートネットワーク技術研究所
電装品
1か月前
株式会社オートネットワーク技術研究所
電装品
1か月前
続きを見る
他の特許を見る