TOP
|
特許
|
意匠
|
商標
特許ウォッチ
Twitter
他の特許を見る
公開番号
2025167899
公報種別
公開特許公報(A)
公開日
2025-11-07
出願番号
2024072902
出願日
2024-04-26
発明の名称
受光素子
出願人
住友電気工業株式会社
代理人
弁理士法人片山特許事務所
主分類
H10F
30/20 20250101AFI20251030BHJP()
要約
【課題】電界を緩和することが可能な受光素子を提供する。
【解決手段】順番に積層された第1半導体層、光吸収層、第2半導体層および第3半導体層と、絶縁膜と、前記第1半導体層に電気的に接続された第1電極と、前記第3半導体層に電気的に接続された第2電極と、前記第1電極に電気的に接続された第3電極と、を具備し、前記第1半導体層は第1の導電型を有し、前記第3半導体層は第2の導電型を有し、第1メサを形成し、前記第2電極は前記第1メサの上に位置し、前記第1半導体層、前記光吸収層および前記第2半導体層は前記第1メサと重なる位置および前記第1メサの外に延伸し、前記絶縁膜は前記第1メサおよび前記第2半導体層を覆い、前記第3電極は、前記絶縁膜のうち前記第2半導体層を覆う部分に設けられ、前記第1メサを囲む受光素子。
【選択図】 図1
特許請求の範囲
【請求項1】
順番に積層された第1半導体層、光吸収層、第2半導体層および第3半導体層と、
絶縁膜と、
前記第1半導体層に電気的に接続された第1電極と、
前記第3半導体層に電気的に接続された第2電極と、
前記第1電極に電気的に接続された第3電極と、を具備し、
前記第1半導体層は第1の導電型を有し、
前記第3半導体層は第2の導電型を有し、第1メサを形成し、
前記第2電極は前記第1メサの上に位置し、
前記第1半導体層、前記光吸収層および前記第2半導体層は前記第1メサと重なる位置および前記第1メサの外に延伸し、
前記絶縁膜は前記第1メサおよび前記第2半導体層を覆い、
前記第3電極は、前記絶縁膜のうち前記第2半導体層を覆う部分に設けられ、前記第1メサを囲む受光素子。
続きを表示(約 720 文字)
【請求項2】
前記第2半導体層はi型であり、
前記第1半導体層はn型であり、
前記第3半導体層はp型である請求項1に記載の受光素子。
【請求項3】
複数の前記第1メサを有し、
前記第3電極は、前記複数の第1メサの間に設けられ、前記複数の第1メサのそれぞれを囲む請求項1または請求項2に記載の受光素子。
【請求項4】
前記絶縁膜は、前記第1メサの側面、および前記第2半導体層の上面を覆い、
前記第3電極は、前記絶縁膜のうち前記第1メサの側面を覆う部分から離間し、前記絶縁膜のうち前記第2半導体層の上面を覆う部分に設けられている請求項1または請求項2に記載の受光素子。
【請求項5】
前記受光素子は第1部分と第2部分とを有し、
前記第1部分と前記第2部分との間に凹部が設けられ、
前記第1部分および前記第2部分において、前記第1半導体層、前記光吸収層、前記第2半導体層、および前記第3半導体層が積層され、
前記第1部分に前記第1メサおよび前記第3電極が設けられ、
前記凹部において前記第1半導体層が露出し、
前記第1電極は前記凹部において前記第1半導体層に接続され、
前記第1電極のうち前記凹部に位置する部分と前記第3電極とに接続された配線を具備する請求項1または請求項2に記載の受光素子。
【請求項6】
前記第3半導体層は、前記第2部分に第2メサを形成し、
前記絶縁膜は前記第2メサを覆い、
前記第1電極は前記第2メサから前記凹部の内部まで設けられている請求項5に記載の受光素子。
発明の詳細な説明
【技術分野】
【0001】
本開示は受光素子に関するものである。
続きを表示(約 2,300 文字)
【背景技術】
【0002】
光を受光して電気信号を出力する受光素子が知られている(例えば特許文献1)。
【先行技術文献】
【特許文献】
【0003】
特開2020-47639号公報
【発明の概要】
【発明が解決しようとする課題】
【0004】
受光素子はメサを有する。メサの周辺で電界が集中する恐れがある。そこで、電界を緩和することが可能な受光素子を提供することを目的とする。
【課題を解決するための手段】
【0005】
本開示に係る受光素子は、順番に積層された第1半導体層、光吸収層、第2半導体層および第3半導体層と、絶縁膜と、前記第1半導体層に電気的に接続された第1電極と、前記第3半導体層に電気的に接続された第2電極と、前記第1電極に電気的に接続された第3電極と、を具備し、前記第1半導体層は第1の導電型を有し、前記第3半導体層は第2の導電型を有し、第1メサを形成し、前記第2電極は前記第1メサの上に位置し、前記第1半導体層、前記光吸収層および前記第2半導体層は前記第1メサと重なる位置および前記第1メサの外に延伸し、前記絶縁膜は前記第1メサおよび前記第2半導体層を覆い、前記第3電極は、前記絶縁膜のうち前記第2半導体層を覆う部分に設けられ、前記第1メサを囲む。
【発明の効果】
【0006】
本開示によれば電界を緩和することが可能な受光素子を提供することが可能である。
【図面の簡単な説明】
【0007】
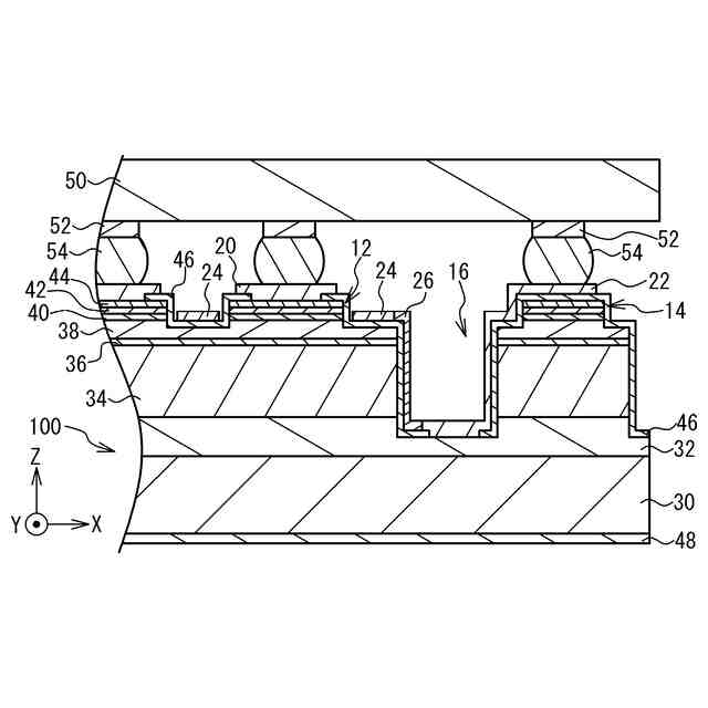
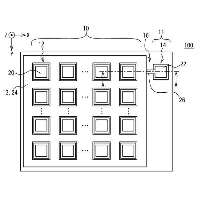
図1は実施形態に係る受光素子を例示する平面図である。
図2は受光素子を例示する断面図である。
図3は受光素子の使用例を示す図である。
図4は受光素子と端子との接続を示す模式図である。
【発明を実施するための形態】
【0008】
[本開示の実施形態の説明]
最初に本開示の実施形態の内容を列記して説明する。
【0009】
本開示の一形態は、(1)順番に積層された第1半導体層、光吸収層、第2半導体層および第3半導体層と、絶縁膜と、前記第1半導体層に電気的に接続された第1電極と、前記第3半導体層に電気的に接続された第2電極と、前記第1電極に電気的に接続された第3電極と、を具備し、前記第1半導体層は第1の導電型を有し、前記第3半導体層は第2の導電型を有し、第1メサを形成し、前記第2電極は前記第1メサの上に位置し、前記第1半導体層、前記光吸収層および前記第2半導体層は前記第1メサと重なる位置および前記第1メサの外に延伸し、前記絶縁膜は前記第1メサおよび前記第2半導体層を覆い、前記第3電極は、前記絶縁膜のうち前記第2半導体層を覆う部分に設けられ、前記第1メサを囲む受光素子である。第3電極が第2電極に接続され、第2電極と同電位を有する。第2半導体層に反転層が形成される。第1メサの周囲において電界を緩和することができる。
(2)上記(1)において、前記第2半導体層はi型であり、前記第1半導体層はn型であり、前記第3半導体層はp型でもよい。第2半導体層に反転層が形成される。第1メサの周囲において電界を緩和することができる。
(3)上記(1)または(2)において、複数の前記第1メサを有し、前記第3電極は、前記複数の第1メサの間に設けられ、前記複数の第1メサのそれぞれを囲んでもよい。複数の第1メサの周囲において電界を緩和することができる。
(4)上記(1)から(3)のいずれかにおいて、前記絶縁膜は、前記第1メサの側面、および前記第2半導体層の上面を覆い、前記第3電極は、前記絶縁膜のうち前記第1メサの側面を覆う部分から離間し、前記絶縁膜のうち前記第2半導体層の上面を覆う部分に設けられてもよい。第2半導体層に反転層が形成される。第1メサの周囲において電界を緩和することができる。第3電極の電位が第3半導体層に影響しにくい。
(5)上記(1)から(4)のいずれかにおいて、前記受光素子は第1部分と第2部分とを有し、前記第1部分と前記第2部分との間に凹部が設けられ、前記第1部分および前記第2部分において、前記第1半導体層、前記光吸収層、前記第2半導体層、および前記第3半導体層が積層され、前記第1部分に前記第1メサおよび前記第3電極が設けられ、前記凹部において前記第1半導体層が露出し、前記第1電極は前記凹部において前記第1半導体層に接続され、前記第1電極のうち前記凹部に位置する部分と前記第3電極とに接続された配線を具備してもよい。配線で第3電極を第2電極に接続することで、第3電極が第2電極と同電位になる。
(6)上記(5)において、前記第3半導体層は、前記第2部分に第2メサを形成し、前記絶縁膜は前記第2メサを覆い、前記第1電極は前記第2メサから前記凹部の内部まで設けられてもよい。第1電極と第2電極とが同じ高さに位置する。第1電極および第2電極を外部機器に接続することができる。
【0010】
[本開示の実施形態の詳細]
本開示の実施形態に係る受光素子の具体例を、以下に図面を参照しつつ説明する。なお、本開示はこれらの例示に限定されるものではなく、特許請求の範囲によって示され、特許請求の範囲と均等の意味および範囲内でのすべての変更が含まれることが意図される。
(【0011】以降は省略されています)
この特許をJ-PlatPat(特許庁公式サイト)で参照する
関連特許
住友電気工業株式会社
炭化珪素半導体装置
2日前
住友電気工業株式会社
光コネクタおよび接続構造
2日前
住友電気工業株式会社
タンク、およびレドックスフロー電池システム
3日前
住友電気工業株式会社
半導体装置の製造方法および半導体装置の検査方法
2日前
住友電気工業株式会社
半導体装置の製造方法および半導体装置の検査方法
2日前
住友電気工業株式会社
半導体装置の製造方法および半導体装置の検査方法
2日前
住友電気工業株式会社
窒化物半導体装置および窒化物半導体装置の製造方法
2日前
住友電気工業株式会社
宅側装置、光通信システム、及びサブキャリアの選択方法
3日前
住友電気工業株式会社
プリント配線板用露光装置およびプリント配線板の製造方法
2日前
株式会社オートネットワーク技術研究所
コネクタ
2日前
住友電気工業株式会社
マルチコア光ファイバ
10日前
株式会社オートネットワーク技術研究所
端子金具
2日前
株式会社オートネットワーク技術研究所
端子金具
2日前
株式会社オートネットワーク技術研究所
端子金具
2日前
株式会社オートネットワーク技術研究所
端子金具
2日前
株式会社オートネットワーク技術研究所
電気接続箱
4日前
住友電気工業株式会社
導電部材、燃料電池および電解装置
4日前
株式会社オートネットワーク技術研究所
ヒューズモジュール、及びヒューズシステム
2日前
株式会社オートネットワーク技術研究所
ヒューズモジュール、及びヒューズシステム
2日前
住友電気工業株式会社
情報提供装置、情報提供方法、及びコンピュータプログラム
4日前
株式会社オートネットワーク技術研究所
コネクタ及びコネクタ構成体
4日前
個人
半導体装置
1か月前
個人
積和演算用集積回路
24日前
サンケン電気株式会社
半導体装置
23日前
旭化成株式会社
発光素子
1か月前
エイブリック株式会社
縦型ホール素子
1か月前
エイブリック株式会社
縦型ホール素子
1か月前
日機装株式会社
半導体発光装置
18日前
ローム株式会社
抵抗チップ
1か月前
ローム株式会社
半導体装置
2日前
富士通株式会社
半導体装置
1か月前
株式会社半導体エネルギー研究所
表示装置
1か月前
三菱電機株式会社
半導体装置
1か月前
株式会社半導体エネルギー研究所
表示装置
2日前
三菱電機株式会社
半導体装置
10日前
株式会社東芝
半導体装置
10日前
続きを見る
他の特許を見る