TOP
|
特許
|
意匠
|
商標
特許ウォッチ
Twitter
他の特許を見る
10個以上の画像は省略されています。
公開番号
2025168736
公報種別
公開特許公報(A)
公開日
2025-11-12
出願番号
2024073446
出願日
2024-04-30
発明の名称
アバランシェフォトダイオード
出願人
住友電気工業株式会社
代理人
弁理士法人片山特許事務所
主分類
H10F
30/225 20250101AFI20251105BHJP()
要約
【課題】電界の集中を緩和し、かつ寄生容量を低減することが可能なアバランシェフォトダイオードを提供する。
【解決手段】受光領域を有する第1メサと、前記第1メサに設けられた第1電極と、前記第1メサに接続された第2メサと、前記第2メサに設けられ、前記第1電極と電気的に接続されたパッドと、を具備し、前記第1メサと前記第2メサとが接続される部分である接続部分の平面形状は、内側に凸の曲線であるアバランシェフォトダイオード。
【選択図】 図1B
特許請求の範囲
【請求項1】
受光領域を有する第1メサと、
前記第1メサに設けられた第1電極と、
前記第1メサに接続された第2メサと、
前記第2メサに設けられ、前記第1電極と電気的に接続されたパッドと、を具備し、
前記第1メサと前記第2メサとが接続される部分である接続部分の平面形状は、内側に凸の曲線であるアバランシェフォトダイオード。
続きを表示(約 1,000 文字)
【請求項2】
前記接続部分の平面形状は、前記第1メサの端部および前記第2メサの端部に接する円弧を含む請求項1に記載のアバランシェフォトダイオード。
【請求項3】
前記第1メサの平面形状および前記第2メサの平面形状は円を含み、
前記接続部分の円弧の直径は、前記第1メサの直径以下かつ前記第2メサの直径以下である請求項2に記載のアバランシェフォトダイオード。
【請求項4】
前記接続部分の円弧の直径は10μm以上であり、前記第1メサの直径以下かつ前記第2メサの直径以下である請求項3に記載のアバランシェフォトダイオード。
【請求項5】
平面視したとき前記第1メサと前記第2メサとは8の字形状を形成する請求項1または請求項2に記載のアバランシェフォトダイオード。
【請求項6】
前記第1電極はリング形状であり、
前記第1電極の内側に前記受光領域が位置し、
前記パッドは前記第1電極の外に位置する請求項1または請求項2に記載のアバランシェフォトダイオード。
【請求項7】
前記第1電極はリング形状であり、
前記第1電極の内側に前記受光領域が位置し、
前記パッドは前記第1電極の前記リング形状の内側に突出する請求項1または請求項2に記載のアバランシェフォトダイオード。
【請求項8】
前記第2メサは前記第1メサから離れる方向に延伸する延伸部を有し、
前記接続部分は、前記第1メサと前記延伸部とを接続する請求項1または請求項2に記載のアバランシェフォトダイオード。
【請求項9】
前記第1電極は前記接続部分に沿った曲線形状を有する請求項1または請求項2に記載のアバランシェフォトダイオード。
【請求項10】
第1導電型を有する第1半導体層と、
第2導電型を有する第2半導体層と、
前記第1半導体層と前記第2半導体層との間に設けられた光吸収層および増倍層と、
前記第1半導体層に電気的に接続された第2電極と、を具備し、
前記第1メサおよび前記第2メサは前記第2半導体層、前記光吸収層および前記増倍層を含み、
前記第1電極は前記第2半導体層に電気的に接続されている請求項1または請求項2に記載のアバランシェフォトダイオード。
発明の詳細な説明
【技術分野】
【0001】
本開示はアバランシェフォトダイオードに関するものである。
続きを表示(約 2,900 文字)
【背景技術】
【0002】
光信号を検出する受光素子としてアバランシェフォトダイオードが知られている。受光素子のメサに電極を設ける。電極には、ワイヤボンディング用のパッドを接続する(特許文献1および特許文献2)。
【先行技術文献】
【特許文献】
【0003】
特開2011-108852号公報
特開2005-328036号公報
【発明の概要】
【発明が解決しようとする課題】
【0004】
電極とメサとを接続する配線を、メサに沿って設けると、メサの段差によって配線が断線する恐れがある。そこで、パッドもメサに設けることで、電極と同じ高さに配置する。しかし、半導体層にエッジが発生する。エッジに電界が集中する恐れがある。またメサが大型になることで、寄生容量が増加する。そこで、電界の集中を緩和し、かつ寄生容量を低減することが可能なアバランシェフォトダイオードを提供することを目的とする。
【課題を解決するための手段】
【0005】
本開示に係るアバランシェフォトダイオードは、受光領域を有する第1メサと、前記第1メサに設けられた第1電極と、前記第1メサに接続された第2メサと、前記第2メサに設けられ、前記第1電極と電気的に接続されたパッドと、を具備し、前記第1メサと前記第2メサとが接続される部分である接続部分の平面形状は、内側に凸の曲線である。
【発明の効果】
【0006】
本開示によれば、電界の集中を緩和し、かつ寄生容量を低減することが可能なアバランシェフォトダイオードを提供することが可能である。
【図面の簡単な説明】
【0007】
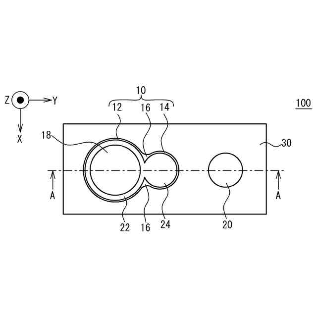
図1Aは第1実施形態に係るアバランシェフォトダイオードを例示する平面図である。
図1Bは第1実施形態に係るアバランシェフォトダイオードのメサを例示する平面図である。
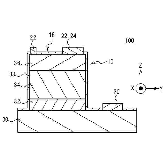
図2はアバランシェフォトダイオードを例示する断面図である。
図3Aはアバランシェフォトダイオードの製造方法を例示する断面図である。
図3Bはアバランシェフォトダイオードの製造方法を例示する断面図である。
図3Cはアバランシェフォトダイオードの製造方法を例示する断面図である。
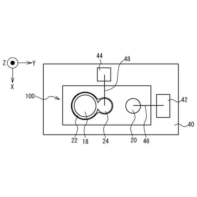
図4はアバランシェフォトダイオードの実装の例を示す平面図である。
図5Aは比較例1に係るアバランシェフォトダイオードのメサを例示する平面図である。
図5Bは比較例2に係るアバランシェフォトダイオードのメサを例示する平面図である。
図6は第2実施形態に係るアバランシェフォトダイオードのメサを例示する平面図である。
図7は第3実施形態に係るアバランシェフォトダイオードのメサを例示する平面図である。
図8は第4実施形態に係るアバランシェフォトダイオードのメサを例示する平面図である。
図9は第5実施形態に係るアバランシェフォトダイオードのメサを例示する平面図である。
【発明を実施するための形態】
【0008】
[本開示の実施形態の説明]
最初に本開示の実施形態の内容を列記して説明する。
【0009】
本開示の一形態は、(1)受光領域を有する第1メサと、前記第1メサに設けられた第1電極と、前記第1メサに接続された第2メサと、前記第2メサに設けられ、前記第1電極と電気的に接続されたパッドと、を具備し、前記第1メサと前記第2メサとが接続される部分である接続部分の平面形状は、内側に凸の曲線であるアバランシェフォトダイオードである。接続部分が曲線であるため、電界の集中を緩和することができる。第1メサ、第2メサおよび接続部分それぞれの面積の合計が小さくなることで、寄生容量を低減することができる。
(2)上記(1)において、前記接続部分の平面形状は、前記第1メサの端部および前記第2メサの端部に接する円弧を含んでもよい。電界の集中を緩和し、かつ寄生容量を低減することができる。
(3)上記(2)において、前記第1メサの平面形状および前記第2メサの平面形状は円を含み、前記接続部分の円弧の直径は、前記第1メサの直径以下かつ前記第2メサの直径以下でもよい。電界の集中を緩和し、かつ寄生容量を低減することができる。
(4)上記(3)において、前記接続部分の円弧の直径は10μm以上であり、前記第1メサの直径以下かつ前記第2メサの直径以下でもよい。電界の集中を緩和し、かつ寄生容量を低減することができる。
(5)上記(1)から(4)のいずれかにおいて、平面視したとき前記第1メサと前記第2メサとは8の字形状を形成してもよい。電界の集中を緩和し、かつ寄生容量を低減することができる。
(6)上記(1)から(5)のいずれかにおいて、前記第1電極はリング形状であり、前記第1電極の内側に前記受光領域が位置し、前記パッドは前記第1電極の外に位置してもよい。受光領域が広くなることで、受光できる光の量が多くなり、感度が向上する。
(7)上記(1)から(5)のいずれかにおいて、前記第1電極はリング形状であり、前記第1電極の内側に前記受光領域が位置し、前記パッドは前記第1電極の前記リング形状の内側に突出してもよい。パッドに対するワイヤボンディングを安定して行うことができる。
(8)上記(1)から(4)のいずれかにおいて、前記第2メサは前記第1メサから離れる方向に延伸する延伸部を有し、前記接続部分は、前記第1メサと前記延伸部とを接続してもよい。電界の集中を緩和し、かつ寄生容量を低減することができる。
(9)上記(1)から(8)のいずれかにおいて、前記第1電極は前記接続部分に沿った曲線形状を有してもよい。電気抵抗が小さくなる。ワイヤボンディングを安定して行うことができる。
(10)上記(1)から(9)のいずれかにおいて、第1導電型を有する第1半導体層と、第2導電型を有する第2半導体層と、前記第1半導体層と前記第2半導体層との間に設けられた光吸収層および増倍層と、前記第1半導体層に電気的に接続された第2電極と、を具備し、前記第1メサおよび前記第2メサは前記第2半導体層、前記光吸収層および前記増倍層を含み、前記第1電極は前記第2半導体層に電気的に接続されてもよい。第1半導体層と第2半導体層との間に生じる寄生容量を低減することができる。
【0010】
[本開示の実施形態の詳細]
本開示の実施形態に係るアバランシェフォトダイオードの具体例を、以下に図面を参照しつつ説明する。なお、本開示はこれらの例示に限定されるものではなく、特許請求の範囲によって示され、特許請求の範囲と均等の意味および範囲内でのすべての変更が含まれることが意図される。
(【0011】以降は省略されています)
この特許をJ-PlatPat(特許庁公式サイト)で参照する
関連特許
住友電気工業株式会社
半導体装置
4日前
住友電気工業株式会社
歪補償装置
5日前
住友電気工業株式会社
炭化珪素半導体装置
10日前
住友電気工業株式会社
光分岐ケーブルセット
5日前
住友電気工業株式会社
光コネクタおよび接続構造
10日前
住友電気工業株式会社
窒化物半導体基板の製造方法
5日前
住友電気工業株式会社
学習装置、学習方法及び学習プログラム
5日前
住友電気工業株式会社
半導体装置の製造方法および半導体装置の検査方法
10日前
住友電気工業株式会社
半導体装置の製造方法および半導体装置の検査方法
10日前
住友電気工業株式会社
半導体装置の製造方法および半導体装置の検査方法
10日前
住友電気工業株式会社
窒化物半導体装置および窒化物半導体装置の製造方法
10日前
住友電気工業株式会社
宅側装置、光通信システム、及びサブキャリアの選択方法
11日前
住友電気工業株式会社
回転電機
5日前
住友電気工業株式会社
プリント配線板用露光装置およびプリント配線板の製造方法
10日前
住友電気工業株式会社
連結治具、光ケーブル連結システム、および、光ケーブルの牽引方法
5日前
株式会社オートネットワーク技術研究所
コネクタ
10日前
株式会社オートネットワーク技術研究所
圧接端子
3日前
株式会社オートネットワーク技術研究所
コネクタ
3日前
株式会社オートネットワーク技術研究所
コネクタ
3日前
株式会社オートネットワーク技術研究所
端子金具
10日前
株式会社オートネットワーク技術研究所
端子金具
10日前
株式会社オートネットワーク技術研究所
端子金具
10日前
株式会社オートネットワーク技術研究所
端子金具
10日前
住友電気工業株式会社
画像データ伝送装置及び画像解析装置
3日前
株式会社オートネットワーク技術研究所
圧接端子金具及びコネクタ
3日前
住友電気工業株式会社
中継装置、中継方法および中継プログラム
5日前
株式会社オートネットワーク技術研究所
モータ及びモータの製造方法
4日前
株式会社オートネットワーク技術研究所
ヒューズモジュール、及びヒューズシステム
10日前
株式会社オートネットワーク技術研究所
ヒューズモジュール、及びヒューズシステム
10日前
株式会社オートネットワーク技術研究所
制御装置、巻線切替システム、制御方法、及び制御プログラム
4日前
株式会社オートネットワーク技術研究所
ワイヤハーネス
3日前
株式会社オートネットワーク技術研究所
車載システム、車載装置、データ復元プログラムおよびデータ分散プログラム
5日前
個人
積和演算用集積回路
1か月前
サンケン電気株式会社
半導体装置
1か月前
日機装株式会社
半導体発光装置
26日前
旭化成株式会社
発光素子
1か月前
続きを見る
他の特許を見る