TOP
|
特許
|
意匠
|
商標
特許ウォッチ
Twitter
他の特許を見る
公開番号
2025178377
公報種別
公開特許公報(A)
公開日
2025-12-05
出願番号
2025161186,2022061817
出願日
2025-09-29,2022-04-01
発明の名称
ワイヤハーネス
出願人
株式会社オートネットワーク技術研究所
,
住友電装株式会社
,
住友電気工業株式会社
代理人
個人
,
個人
主分類
H02G
3/04 20060101AFI20251128BHJP(電力の発電,変換,配電)
要約
【課題】電磁波の放射を更に抑制可能としたワイヤハーネスを提供すること。
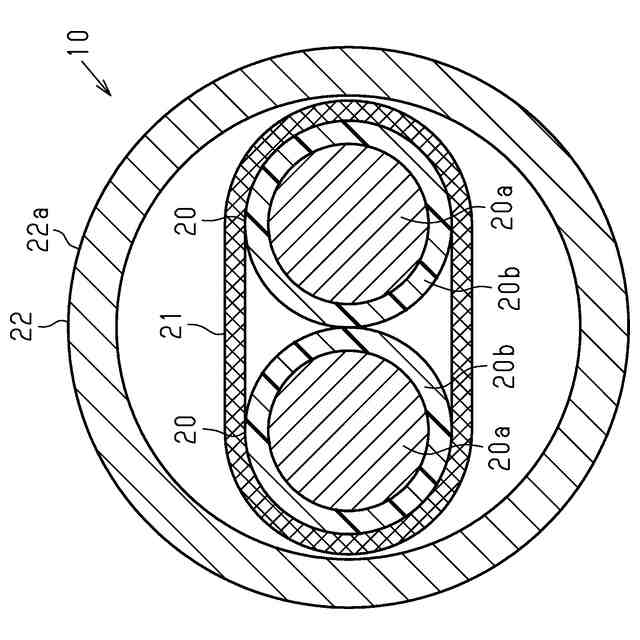
【解決手段】ワイヤハーネス(11)は、電線(20)と、電線の延在方向に沿って電線の外周を覆う金属編組部材(21)と、電線、及び金属編組部材の両方が貫通する金属パイプ(22)とを備える。
【選択図】図2
特許請求の範囲
【請求項1】
電線と、
前記電線の延在方向に沿って前記電線の外周を覆う金属編組部材と、
前記電線、及び前記金属編組部材の両方が貫通する金属パイプと、を備え、
前記金属編組部材における前記電線の延在方向の端部は、前記金属パイプにおける前記電線の延在方向の端部で折り返されて前記金属パイプの外周面に接続される折り返し部を有し、
前記金属パイプの外周面は、高圧電線用であることを示す塗装が施された塗装部と、金属が露出して前記折り返し部が接続される非塗装部と、を有する、
ワイヤハーネス。
続きを表示(約 990 文字)
【請求項2】
前記金属編組部材における前記電線の延在方向の長さは、前記金属パイプにおける前記電線の延在方向の長さよりも長い、
請求項1に記載のワイヤハーネス。
【請求項3】
前記金属編組部材及び前記金属パイプの少なくとも一方は、鉄系の金属材料にて構成されている、
請求項1に記載のワイヤハーネス。
【請求項4】
前記金属編組部材及び前記金属パイプは、互いに異なる金属材料にて構成されている、
請求項1に記載のワイヤハーネス。
【請求項5】
前記金属編組部材は、銅系またはアルミニウム系の金属材料にて構成され、
前記金属パイプは、鉄系の金属材料にて構成されている、
請求項1に記載のワイヤハーネス。
【請求項6】
前記金属編組部材は、第1金属編組部材であり、
前記電線の延在方向に沿って前記第1金属編組部材とは異なる領域の前記電線の外周を覆う第2金属編組部材と、
前記電線、及び前記第2金属編組部材の両方が貫通する外装部材と、を備える、
請求項1に記載のワイヤハーネス。
【請求項7】
前記第1金属編組部材と前記第2金属編組部材とを接続しつつ固定する固定部材を備える、
請求項6に記載のワイヤハーネス。
【請求項8】
前記第1金属編組部材における前記電線の延在方向の長さは、前記金属パイプにおける前記電線の延在方向の長さよりも長く、
前記第1金属編組部材における前記電線の延在方向の端部は、前記金属パイプにおける前記電線の延在方向の端部で折り返されて前記金属パイプの外周面に接続される折り返し部を有し、
前記第2金属編組部材における前記電線の延在方向の端部は、前記折り返し部を覆う被覆部を有し、
前記固定部材は、前記金属パイプを土台にしつつ当該金属パイプと前記折り返し部と前記被覆部とを囲うように設けられて、かしめ固定されるかしめ部材である、
請求項7に記載のワイヤハーネス。
【請求項9】
前記金属パイプにおいて前記折り返し部が接触される部位、前記折り返し部、前記被覆部、及び前記かしめ部材をまとめて覆う防水部材を備える、
請求項8に記載のワイヤハーネス。
発明の詳細な説明
【技術分野】
【0001】
本開示は、ワイヤハーネスに関するものである。
続きを表示(約 1,300 文字)
【背景技術】
【0002】
従来、ワイヤハーネスとしては、電線と、該電線の延在方向に沿った第1範囲で電線の外周を覆う金属編組部材と、該金属編組部材の端部に連結されつつ電線の延在方向に沿った第2範囲で電線の外周を覆う金属パイプとを備えたものがある(例えば、特許文献1参照)。このようなワイヤハーネスでは、金属パイプによって電線の経路が規制されるとともに、金属編組部材によって電線の屈曲性が確保される。さらに、このようなワイヤハーネスでは、電線の延在方向に沿って連結される金属編組部材と金属パイプとの協働によって、電線の延在方向に長い範囲で電磁波の放射が抑えられる。
【先行技術文献】
【特許文献】
【0003】
特開2006-310516号公報
【発明の概要】
【発明が解決しようとする課題】
【0004】
近年、車両軽量化の観点から例えばボディを鉄製からカーボン製へ変更する試みがある。この場合、ボディで電磁波を吸収することが困難になるため、ワイヤハーネス単体で電磁波の放射を更に抑制することが求められる。
【0005】
本開示は、上記課題を解決するためになされたものであって、その目的は、電磁波の放射を更に抑制可能としたワイヤハーネスを提供することにある。
【課題を解決するための手段】
【0006】
本開示のワイヤハーネスは、電線と、前記電線の延在方向に沿って前記電線の外周を覆う金属編組部材と、前記電線、及び前記金属編組部材の両方が貫通する金属パイプと、を備える。
【発明の効果】
【0007】
本開示のワイヤハーネスによれば、電磁波の放射を更に抑制できる。
【図面の簡単な説明】
【0008】
図1は、一実施形態における車両の概略構成図である。
図2は、一実施形態におけるワイヤハーネスの一部平面図である。
図3は、図2における3-3線に沿った断面図である。
図4は、一実施形態におけるワイヤハーネスの製造過程の一部平面図である。
図5は、一実施形態におけるワイヤハーネスの製造過程の一部平面図である。
図6は、一実施形態におけるワイヤハーネスの製造過程の一部平面図である。
【発明を実施するための形態】
【0009】
[本開示の実施形態の説明]
最初に本開示の実施態様を列記して説明する。
本開示のワイヤハーネスは、
[1]電線と、前記電線の延在方向に沿って前記電線の外周を覆う金属編組部材と、前記電線、及び前記金属編組部材の両方が貫通する金属パイプと、を備える。
【0010】
同構成によれば、電線は、金属編組部材と金属パイプとによって二重で覆われることになる。よって、電線が金属編組部材のみで覆われた場合や金属パイプのみで覆われた場合に比べて、電磁波の放射を更に抑制できる。
(【0011】以降は省略されています)
この特許をJ-PlatPat(特許庁公式サイト)で参照する
関連特許
個人
電気を重力で発電装置
1か月前
個人
高圧電気機器の開閉器
17日前
キヤノン電子株式会社
モータ
29日前
キヤノン電子株式会社
モータ
1か月前
コーセル株式会社
電源装置
1か月前
日星電気株式会社
ケーブル組立体
1か月前
株式会社アイドゥス企画
減反モータ
17日前
トヨタ自動車株式会社
モータ
29日前
株式会社デンソー
端子台
10日前
株式会社デンソー
回転電機
1日前
個人
二次電池繰返パルス放電器用印刷基板
1か月前
株式会社ダイヘン
送配電装置
1日前
本田技研工業株式会社
回転電機
3日前
ローム株式会社
半導体集積回路
8日前
株式会社不二越
空冷式油圧装置
1日前
富士電機株式会社
電力変換装置
1日前
富士電機株式会社
電力変換装置
1日前
株式会社デンソー
電力変換装置
1か月前
矢崎総業株式会社
電源回路
16日前
矢崎総業株式会社
給電装置
9日前
株式会社日立製作所
回転電機
8日前
トヨタ自動車株式会社
固定子の加熱装置
1か月前
株式会社TMEIC
制御装置
9日前
日産自動車株式会社
ロータシャフト
24日前
大和ハウス工業株式会社
敷設用機器
9日前
株式会社イノコンバンク
無線給電システム
1日前
日産自動車株式会社
ロータシャフト
24日前
ローム株式会社
モータドライバ回路
24日前
トヨタ自動車株式会社
ステータの製造装置
1か月前
山洋電気株式会社
モータ
1か月前
個人
非対称鏡像力を有する4層PWB電荷搬送体
24日前
株式会社TMEIC
電力変換装置
9日前
個人
電線盗難防止方法及び電線盗難防止装置
1か月前
サンデン株式会社
モータ
2日前
サンデン株式会社
モータ
2日前
株式会社マキタ
電動作業機
1か月前
続きを見る
他の特許を見る