TOP
|
特許
|
意匠
|
商標
特許ウォッチ
Twitter
他の特許を見る
公開番号
2025176975
公報種別
公開特許公報(A)
公開日
2025-12-05
出願番号
2024083414
出願日
2024-05-22
発明の名称
圧接端子金具及びコネクタ
出願人
株式会社オートネットワーク技術研究所
,
住友電装株式会社
,
住友電気工業株式会社
代理人
弁理士法人グランダム特許事務所
主分類
H01R
4/2445 20180101AFI20251128BHJP(基本的電気素子)
要約
【課題】圧接された電線の離脱を防止する。
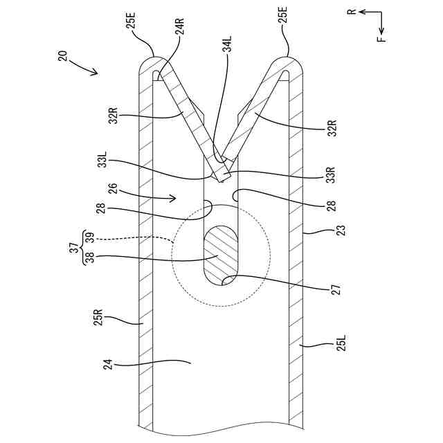
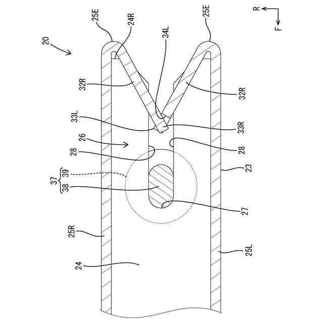
【解決手段】圧接端子金具20は、角筒部23と、角筒部23に形成された圧接部26と、を備え、圧接部26は、角筒部23を構成する保持板部24に形成され、保持板部24の後端縁24Rから前方へ延びた圧接スロット27と、保持板部24のうち圧接スロット27の前後方向に延びる開口縁部を構成する圧接刃28と、圧接スロット27内における電線37の圧接位置よりも後方に配置されたストッパ32L,32Rと、を有する。
【選択図】図4
特許請求の範囲
【請求項1】
角筒部と、
前記角筒部に形成された圧接部と、を備え、
前記圧接部は、
前記角筒部を構成する保持板部に形成され、前記保持板部の後端縁から前方へ延びた圧接スロットと、
前記保持板部のうち前記圧接スロットの前後方向に延びる開口縁部を構成する圧接刃と、
前記圧接スロット内における電線の圧接位置よりも後方に配置されたストッパと、を有する圧接端子金具。
続きを表示(約 870 文字)
【請求項2】
前記ストッパが前記角筒部に一体に形成されている請求項1に記載の圧接端子金具。
【請求項3】
前記角筒部は、前記保持板部に対して直角に連なる側板部を有し、
前記ストッパは、前記側板部の後端縁から前記角筒部内へ延出した形態であり、前記側板部の前記後端縁を支点として揺動可能である請求項2に記載の圧接端子金具。
【請求項4】
一対の前記ストッパが、前記一対の側板部から延出し、前記電線の軸線と平行に視た軸線方向視においてV字形をなすように配置されている請求項3に記載の圧接端子金具。
【請求項5】
前記一対のストッパの延出端部同士が、前記軸線方向視において交差している請求項4に記載の圧接端子金具。
【請求項6】
一対の前記圧接刃の後端部には、前記軸線方向視において前記圧接スロットの溝幅を後方に向かって拡げるように傾斜した切断部が形成され、
前記一対のストッパの後端部が、前記切断部よりも後方に位置している請求項4又は請求項5に記載の圧接端子金具。
【請求項7】
前記角筒部を構成する平板部のうち前記圧接刃が形成されていない側板部は、二枚重ねの板状部によって構成され、
前記ストッパは、前記二枚重ねの板状部のうち内側の前記板状部から延出した延出部によって構成されている請求項1又は請求項2に記載の圧接端子金具。
【請求項8】
前記延出部は、前記内側の板状部の後端縁から屈曲した形態で前記角筒部内へ延出しており、
前記内側の板状部の後端縁からの前記延出端部の延出寸法は、前記延出部が前記内側の板状部に対して面一状をなす展開状態において、前記延出部の後端が前記角筒部の後端よりも後方に位置する寸法に設定されている請求項7に記載の圧接端子金具。
【請求項9】
請求項1又は請求項2に記載の前記圧接端子金具と、
前記圧接端子金具を収容するハウジングとを備えているコネクタ。
発明の詳細な説明
【技術分野】
【0001】
本開示は、圧接端子金具及びコネクタに関するものである。
続きを表示(約 1,200 文字)
【背景技術】
【0002】
特許文献1には、板状をなす一対の圧接刃の間に圧接スロットが形成された圧接端子が開示されている。圧接スロット内に電線を圧入すると、電線の被覆が圧接刃によって切断され、電線の導体芯線が圧接刃に接続される。
【先行技術文献】
【特許文献】
【0003】
特開2020-187895号公報
【発明の概要】
【発明が解決しようとする課題】
【0004】
圧接スロットのうち電線が圧入される領域は、圧接方向の全長に亘って一定の幅のスリットである。そのため、電線に外力が作用したときに、電線が圧接スロットから離脱することが懸念される。
【0005】
本開示の圧接端子金具は、上記のような事情に基づいて完成されたものであって、圧接された電線の離脱を防止することを目的とする。
【課題を解決するための手段】
【0006】
第1の開示の圧接端子金具は、
角筒部と、
前記角筒部に形成された圧接部と、を備え、
前記圧接部は、
前記角筒部を構成する保持板部に形成され、前記保持板部の後端縁から前方へ延びた圧接スロットと、
前記保持板部のうち前記圧接スロットの前後方向の開口縁部を構成する圧接刃と、
前記圧接スロット内における電線の圧接位置よりも後方に配置されたストッパと、を有する。
【0007】
第2の開示のコネクタは、
第1の開示の前記圧接端子金具と、
前記圧接端子金具を収容するハウジングとを備えている。
【発明の効果】
【0008】
第1及び第2の開示によれば、圧接された電線の離脱を防止することができる。
【図面の簡単な説明】
【0009】
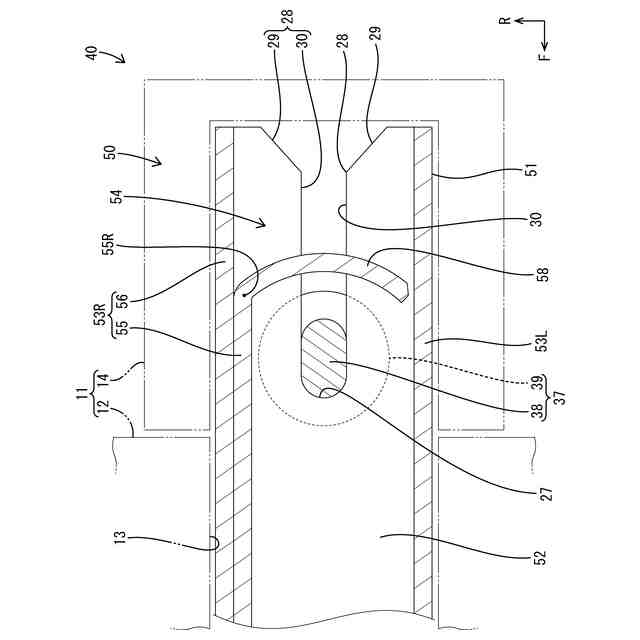
図1は、実施例1の圧接端子金具に電線を圧接した状態をあらわす斜視図である。
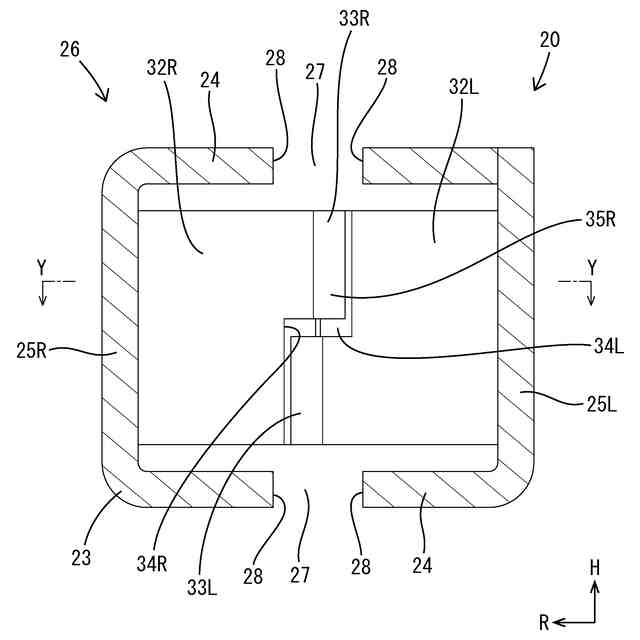
図2は、ハウジングを断面とした上で、圧接端子金具の圧接部の形状をあらわしたコネクタの平面図である。
図3は、圧接部の形状をあらわす図2のX-X線断面図である。
図4は、圧接端子金具に電線を圧接した状態をあらわす図3のY-Y線相当断面図である。
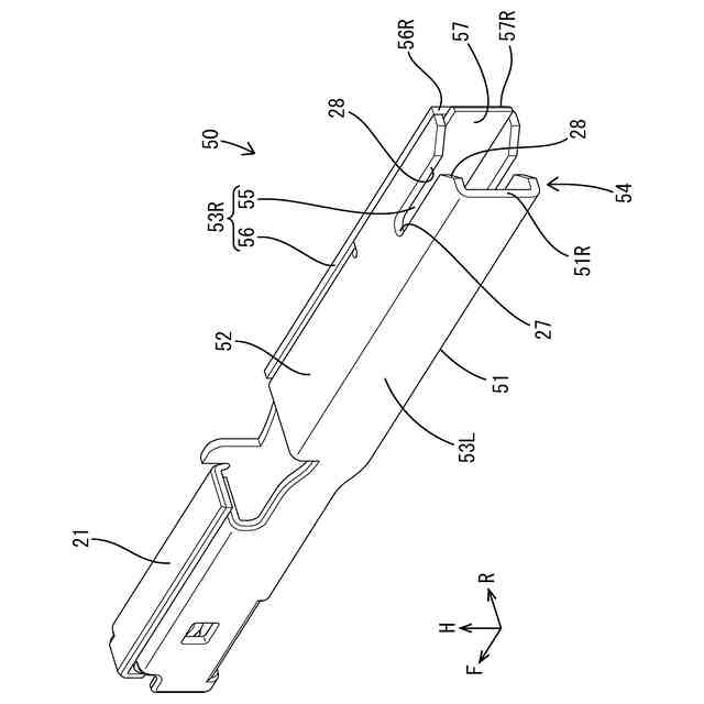
図5は、実施例2の圧接端子金具の斜視図である。
図6は、ストッパを形成する前の状態の圧接端子金具の斜視図である。
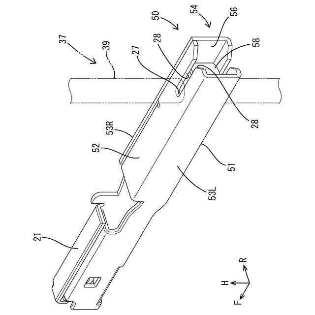
図7は、ハウジングを断面とした上で、圧接端子金具に電線を圧接した状態をあらわした図3のY-Y線相当断面図である。
【発明を実施するための形態】
【0010】
[本開示の実施形態の説明]
最初に本開示の実施形態を列記して説明する。下記の複数の実施形態を、矛盾を生じない範囲で任意に組み合わせたものも、発明を実施するための形態に含まれる。
(【0011】以降は省略されています)
この特許をJ-PlatPat(特許庁公式サイト)で参照する
関連特許
APB株式会社
蓄電セル
1か月前
東ソー株式会社
絶縁電線
1か月前
日機装株式会社
加圧装置
1日前
日新イオン機器株式会社
イオン源
1日前
株式会社東芝
端子台
1か月前
マクセル株式会社
電源装置
1か月前
ローム株式会社
半導体装置
1か月前
株式会社GSユアサ
蓄電装置
1か月前
株式会社GSユアサ
蓄電装置
1か月前
三菱電機株式会社
回路遮断器
24日前
株式会社GSユアサ
蓄電装置
1か月前
富士電機株式会社
電磁接触器
16日前
株式会社GSユアサ
蓄電装置
16日前
トヨタ自動車株式会社
蓄電装置
8日前
個人
電源ボックス及び電子機器
1日前
北道電設株式会社
配電具カバー
1か月前
日新イオン機器株式会社
基板処理装置
1か月前
株式会社東芝
電子源
1日前
トヨタ自動車株式会社
バッテリ
1か月前
大電株式会社
電線又はケーブル
8日前
トヨタ自動車株式会社
蓄電装置
1か月前
株式会社トクミ
ケーブル
2日前
日本特殊陶業株式会社
保持装置
29日前
日本特殊陶業株式会社
保持装置
1か月前
ホシデン株式会社
複合コネクタ
10日前
トヨタ自動車株式会社
冷却構造
1か月前
ローム株式会社
半導体モジュール
17日前
日本無線株式会社
レーダアンテナ
1か月前
甲神電機株式会社
変流器及び零相変流器
1か月前
ヒロセ電機株式会社
電気コネクタ
16日前
矢崎総業株式会社
コネクタ
16日前
株式会社デンソー
電子装置
1か月前
住友電装株式会社
コネクタ
1か月前
株式会社レゾナック
冷却器
24日前
日亜化学工業株式会社
半導体レーザ素子
1か月前
トヨタ自動車株式会社
密閉型電池
1か月前
続きを見る
他の特許を見る