TOP
|
特許
|
意匠
|
商標
特許ウォッチ
Twitter
他の特許を見る
10個以上の画像は省略されています。
公開番号
2025176779
公報種別
公開特許公報(A)
公開日
2025-12-05
出願番号
2024083086
出願日
2024-05-22
発明の名称
コネクタ
出願人
株式会社オートネットワーク技術研究所
,
住友電装株式会社
,
住友電気工業株式会社
代理人
弁理士法人暁合同特許事務所
主分類
H01R
4/2433 20180101AFI20251128BHJP(基本的電気素子)
要約
【課題】電線カバーをハウジングに装着することで電線を圧接端子に圧接する。
【解決手段】本開示のコネクタ10は、電線Wが圧接される圧接端子30と、圧接端子30が後方から挿入されるハウジング20と、ハウジング20の後端部に装着される電線カバー40と、を備え、電線カバー40は、ハウジング20に対して後方から装着されることで電線Wを前方に押し込んで圧接端子30に圧接させる押圧部44Aを有する。まず、ハウジング20に対して圧接端子30を後方から挿入する。次に、圧接端子30の後方に電線Wをセットし、電線カバー40をハウジング20に対して後方から装着する。このとき、電線カバー40の押圧部44Aが電線Wを前方に押し込み、圧接端子30に圧接する。したがって、電線カバー40をハウジング20に装着することで電線Wを圧接端子30に圧接することができる。
【選択図】図3
特許請求の範囲
【請求項1】
電線が圧接される圧接端子と、
前記圧接端子が後方から挿入されるハウジングと、
前記ハウジングの後端部に装着される電線カバーと、を備え、
前記電線カバーは、前記ハウジングに対して後方から装着されることで前記電線を前方に押し込んで前記圧接端子に圧接させる押圧部を有する、コネクタ。
続きを表示(約 98 文字)
【請求項2】
前記電線カバーは、前記電線が圧接される際に前記押圧部によって押される被押圧部とは異なる部分を押圧して前記電線を仮保持する仮保持部を有する、請求項1に記載のコネクタ。
発明の詳細な説明
【技術分野】
【0001】
本開示は、コネクタに関する。
続きを表示(約 1,700 文字)
【背景技術】
【0002】
電線カバーが装着されたコネクタとして、特開2023-10275号公報(下記特許文献1)に記載のコネクタが知られている。コネクタは、合成樹脂製のハウジングと、電線の端末に接続された状態でハウジング内に保持された複数の雌端子と、を備えている。電線カバーは、ハウジングから後方に引き出された複数の電線を覆うようにしてハウジングの後端部に装着されている。
【先行技術文献】
【特許文献】
【0003】
特開2023-10275号公報
【発明の概要】
【発明が解決しようとする課題】
【0004】
ところで、ハウジングの後方に電線を引き出すスペースを十分に確保できない等の事情により、ハウジングの後端部から電線を下方に引き出したい場合には、雌端子の代わりに圧接端子を使用することが考えられる。その場合、電線を圧接端子に圧接した後に、その圧接端子をハウジング内に挿入することになるが、電線を軸とした圧接端子の軸回り方向の位置は圧接時に決まってしまうため、圧接端子をハウジング内に挿入しづらくなることがあり得る。このため、ハウジング内に圧接端子を挿入した後に、その圧接端子に対して電線を圧接することが望ましい。
【課題を解決するための手段】
【0005】
本開示のコネクタは、電線が圧接される圧接端子と、前記圧接端子が後方から挿入されるハウジングと、前記ハウジングの後端部に装着される電線カバーと、を備え、前記電線カバーは、前記ハウジングに対して後方から装着されることで前記電線を前方に押し込んで前記圧接端子に圧接させる押圧部を有する、コネクタである。
【発明の効果】
【0006】
本開示によれば、電線カバーをハウジングに装着することで電線を圧接端子に圧接することができる。
【図面の簡単な説明】
【0007】
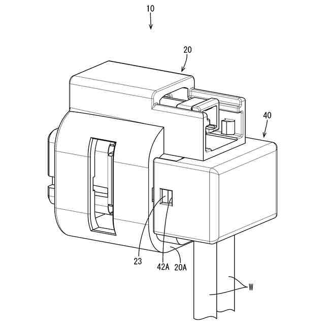
図1は、コネクタの左後方斜視図である。
図2は、コネクタの右後方斜視図である。
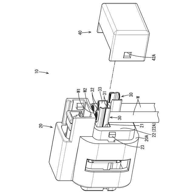
図3は、コネクタの分解斜視図である。
図4は、電線カバーの斜視図である。
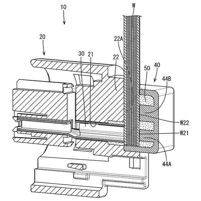
図5は、電線カバーに樹脂が充填されたコネクタを上から見た図である。
図6は、図5のA-A断面図である。
図7は、図5のB-B断面図である。
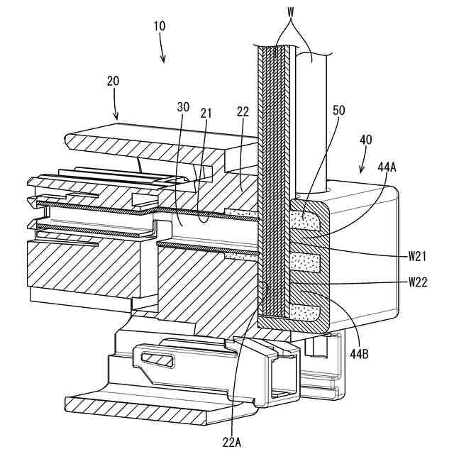
図8は、電線カバーに樹脂が充填されたコネクタを横から見た図である。
図9は、図8のC-C断面図である。
図10は、図8のD-D断面図である。
【発明を実施するための形態】
【0008】
[本開示の実施形態の説明]
最初に本開示の実施形態を列挙して説明する。
[1]本開示のコネクタは、電線が圧接される圧接端子と、前記圧接端子が後方から挿入されるハウジングと、前記ハウジングの後端部に装着される電線カバーと、を備え、前記電線カバーは、前記ハウジングに対して後方から装着されることで前記電線を前方に押し込んで前記圧接端子に圧接させる押圧部を有する。
【0009】
コネクタの組み立ては以下のように行う。まず、ハウジングに対して圧接端子を後方から挿入する。次に、圧接端子の後方に電線をセットし、電線カバーをハウジングに対して後方から装着する。このとき、電線カバーの押圧部が電線を前方に押し込み、圧接端子に圧接する。したがって、電線カバーをハウジングに装着することで電線を圧接端子に圧接することができる。
【0010】
[2][1]に記載のコネクタにおいて、前記電線カバーは、前記電線が圧接される際に前記押圧部によって押される被押圧部とは異なる部分を押圧して前記電線を仮保持する仮保持部を有することが好ましい。
電線カバーがハウジングの後端部に装着されると、電線が押圧部によって圧接されるとともに仮保持部によって仮保持される。したがって、例えば電線カバーに樹脂を充填する際に電線が動かないように仮保持することができる。
(【0011】以降は省略されています)
この特許をJ-PlatPat(特許庁公式サイト)で参照する
関連特許
APB株式会社
蓄電セル
1か月前
東ソー株式会社
絶縁電線
1か月前
日機装株式会社
加圧装置
1日前
ローム株式会社
半導体装置
1か月前
マクセル株式会社
電源装置
1か月前
日新イオン機器株式会社
イオン源
1日前
株式会社東芝
端子台
1か月前
日新イオン機器株式会社
イオン源
1か月前
株式会社GSユアサ
蓄電装置
16日前
富士電機株式会社
電磁接触器
16日前
三菱電機株式会社
回路遮断器
24日前
株式会社GSユアサ
蓄電装置
1か月前
株式会社GSユアサ
蓄電装置
1か月前
株式会社GSユアサ
蓄電装置
1か月前
株式会社ホロン
冷陰極電子源
1か月前
ホシデン株式会社
複合コネクタ
10日前
大電株式会社
電線又はケーブル
8日前
トヨタ自動車株式会社
蓄電装置
1か月前
トヨタ自動車株式会社
蓄電装置
8日前
トヨタ自動車株式会社
バッテリ
1か月前
トヨタ自動車株式会社
冷却構造
1か月前
株式会社トクミ
ケーブル
2日前
株式会社東芝
電子源
1日前
日新イオン機器株式会社
基板処理装置
1か月前
日本特殊陶業株式会社
保持装置
1か月前
個人
電源ボックス及び電子機器
1日前
北道電設株式会社
配電具カバー
1か月前
日本特殊陶業株式会社
保持装置
29日前
日本無線株式会社
レーダアンテナ
1か月前
トヨタ自動車株式会社
電池パック
1か月前
住友電装株式会社
コネクタ
1か月前
ヒロセ電機株式会社
電気コネクタ
16日前
矢崎総業株式会社
コネクタ
16日前
株式会社トクヤマ
シリコンエッチング液
1か月前
株式会社トクヤマ
シリコンエッチング液
1か月前
甲神電機株式会社
変流器及び零相変流器
1か月前
続きを見る
他の特許を見る