TOP
|
特許
|
意匠
|
商標
特許ウォッチ
Twitter
他の特許を見る
公開番号
2025174449
公報種別
公開特許公報(A)
公開日
2025-11-28
出願番号
2024080836
出願日
2024-05-17
発明の名称
端子金具
出願人
株式会社オートネットワーク技術研究所
,
住友電装株式会社
,
住友電気工業株式会社
代理人
弁理士法人グランダム特許事務所
主分類
H01R
4/2466 20180101AFI20251120BHJP(基本的電気素子)
要約
【課題】先メッキ加工された金属材料を用いつつ、メッキが剥がれないようにしながら圧接刃の内向きの張り出し寸法を大きくとることができる技術を提供する。
【解決手段】端子金具10は、相手側端子Pと接続される端子接続部10Aと、端子接続部10Aの後端に連なり後向きに延びて電線30と接続される電線接続部10Bと、を備えている。電線接続部10Bは、前後方向に延びる底壁10Eと、底壁10Eにおける前後方向に延びる左側縁及び右側縁の各々から底壁10Eの板厚方向の一方向に突出する一対の第1側壁10Fと、各第1側壁10Fから前向き及び後向きに片持ち状に延びつつ左右方向内向きに張り出す左右一対の圧接刃10Gと、を有している。
【選択図】図4
特許請求の範囲
【請求項1】
相手側端子と接続される端子接続部と、
前記端子接続部の後端に連なり後向きに延びて被覆電線と接続される電線接続部と、
を備え、
前記電線接続部は、
前後方向に延びる底壁と、
前記底壁における前後方向に延びる左側縁及び右側縁の各々から前記底壁の板厚方向の一方向に突出する一対の第1側壁と、
各前記第1側壁から前向き又は後向きのうちの少なくとも一方向に片持ち状に延びつつ左右方向内向きに張り出す一対の圧接刃と、
を有している、端子金具。
続きを表示(約 330 文字)
【請求項2】
前記電線接続部は、前記底壁における前後方向に延びる前記左側縁及び前記右側縁の各々から前記底壁の板厚方向の一方向に突出する一対の第2側壁と、
各前記第2側壁から前向き又は後向きのうちの少なくとも一方向に片持ち状に延びつつ、各前記圧接刃に対して左右方向外側から接触可能に対向する一対の補助片と、
を更に有している、請求項1に記載の端子金具。
【請求項3】
各前記圧接刃の前後方向の中央部は、前後方向の両端部よりも左右方向内向きに配置されてV字状をなしており、
各前記補助片の突出端部は、各前記圧接刃の前後方向中央部に左右方向外側から嵌り込むように配置されている、請求項1又は請求項2に記載の端子金具。
発明の詳細な説明
【技術分野】
【0001】
本開示は、端子金具に関する。
続きを表示(約 1,900 文字)
【背景技術】
【0002】
特許文献1には、対向する圧接刃によって電線の被覆を切開する圧接端子が開示されている。
【先行技術文献】
【特許文献】
【0003】
特開2002-313448号公報
【発明の概要】
【発明が解決しようとする課題】
【0004】
端子金具において電線の芯線と接触する面には、メッキが施されていることが好ましい。例えば、予めメッキが施された(すなわち、先メッキ加工された)金属材料を用いて特許文献1のような圧接刃を形成する場合、圧接刃の前後端が側壁に連なっているため、圧接刃の張り出し寸法を大きくすると、圧接刃が前後方向に引き伸ばされてしまい表面に施されたメッキが剥がれてしまう懸念がある。このため、特許文献1の構成の場合、圧接刃の張り出し寸法をあまり大きくすることができない。なお、プレス加工が終了した後に端子金具にメッキを施す(すなわち、後メッキ加工)ことによってメッキ剥がれの問題を解消することも可能であるが、手間がかかり好ましくない。
【0005】
本開示の端子金具は、上記のような事情に基づいて完成されたものであって、先メッキ加工された金属材料を用いつつ、メッキが剥がれないようにしながら圧接刃の内向きの張り出し寸法を大きくとることができる技術の提供を目的とする。
【課題を解決するための手段】
【0006】
本開示の端子金具は、
相手側端子と接続される端子接続部と、
前記端子接続部の後端に連なり後向きに延びて被覆電線と接続される電線接続部と、
を備え、
前記電線接続部は、
前後方向に延びる底壁と、
前記底壁における前後方向に延びる左側縁及び右側縁の各々から前記底壁の板厚方向の一方向に突出する一対の第1側壁と、
各前記第1側壁から前向き又は後向きのうちの少なくとも一方向に片持ち状に延びつつ左右方向内向きに張り出す一対の圧接刃と、
を有している。
【発明の効果】
【0007】
本開示によれば、先メッキ加工された金属材料を用いつつ、メッキが剥がれないようにしながら圧接刃の内向きの張り出し寸法を大きくとることができる。
【図面の簡単な説明】
【0008】
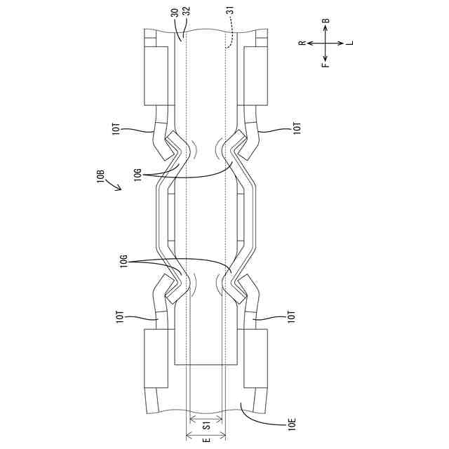
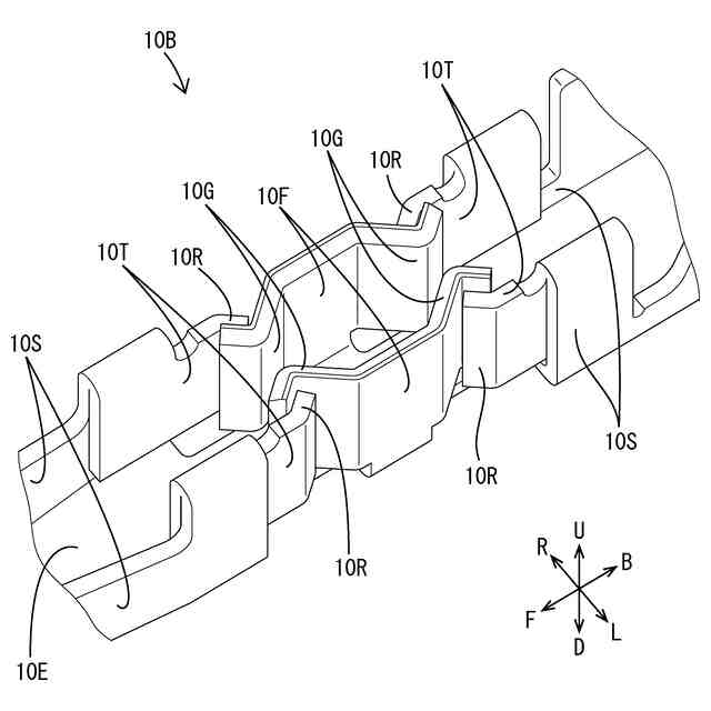
図1は、実施形態1の端子金具を示す斜視図である。
図2は、実施形態1における電線を接続した端子金具を示す平面図である。
図3は、実施形態1における電線接続部、及びその周辺を拡大して示す要部拡大斜視図である。
図4は、実施形態1における電線接続部、及びその周辺を拡大して示す要部拡大平面図である。
図5は、電線を接続した実施形態1の端子金具における、電線接続部、及びその周辺を拡大して示す要部拡大平面図である。
図6は、実施形態2の端子金具を示す斜視図である。
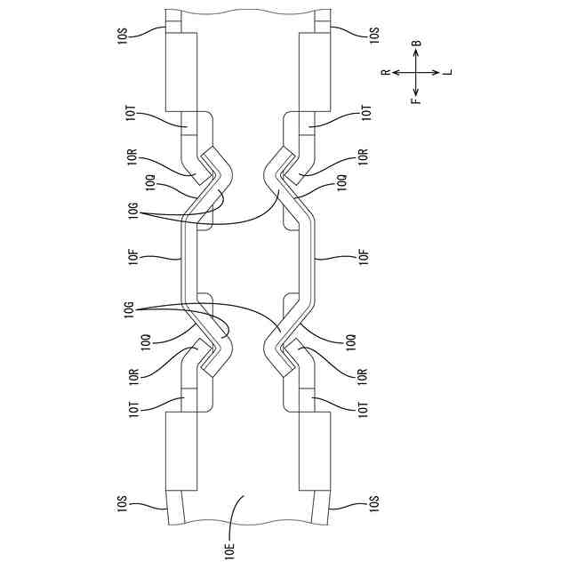
図7は、実施形態2における電線接続部、及びその周辺を拡大して示す要部拡大平面図である。
【発明を実施するための形態】
【0009】
[本開示の実施形態の説明]
最初に本開示の実施態様を列記して説明する。
(1)相手側端子と接続される端子接続部と、
前記端子接続部の後端に連なり後向きに延びて被覆電線と接続される電線接続部と、
を備え、
前記電線接続部は、
前後方向に延びる底壁と、
前記底壁における前後方向に延びる左側縁及び右側縁の各々から前記底壁の板厚方向の一方向に突出する一対の第1側壁と、
各前記第1側壁から前向き又は後向きのうちの少なくとも一方向に片持ち状に延びつつ左右方向内向きに張り出す一対の圧接刃と、
を有している、端子金具。
【0010】
(1)の端子金具における一対の圧接刃は、前向き又は後向きのうちの少なくとも一方向に片持ち状に延びた形態なので、圧接刃の左右方向内向きへの張り出し寸法を大きくしても、金属材料が前後方向に引き伸ばされてしまう懸念がない。このため、メッキが剥がれる心配をすることなく圧接刃の左右方向内向きの張り出し寸法を大きくとることが可能となる。ここでいう、延びた形態とは、引き伸ばされた状態ではなく、一方向に長い形態であることを意味し、以下、同様の意味でこの語を用いる。
(【0011】以降は省略されています)
この特許をJ-PlatPat(特許庁公式サイト)で参照する
関連特許
他の特許を見る