TOP
|
特許
|
意匠
|
商標
特許ウォッチ
Twitter
他の特許を見る
10個以上の画像は省略されています。
公開番号
2025176197
公報種別
公開特許公報(A)
公開日
2025-12-03
出願番号
2025156549,2024115087
出願日
2025-09-19,2020-09-08
発明の名称
回転電機
出願人
住友電気工業株式会社
,
住友電工焼結合金株式会社
代理人
個人
,
個人
主分類
H02K
16/04 20060101AFI20251126BHJP(電力の発電,変換,配電)
要約
【課題】生産性に優れ、かつエネルギー損失が少ない回転電機を提供する。
【解決手段】第一ステータと第二ステータとロータとが、ロータの回転軸の軸方向に並ぶアキシャルギャップ型の回転電機である。第一ステータは、第一コイルが配置される圧粉磁心で構成された第一コアを備える。第二ステータは、第二コイルが配置される圧粉磁心で構成された第二コアを備える。第一コアは、円環状の第一ヨークと、複数の第一ティースとを備える。第二コアは、円環状の第二ヨークと、複数の第二ティースとを備える。第一コアにおける最も高さが高いティースと第二コアにおける最も高さが低いティースとが向かい合うように配置されている。
【選択図】図7
特許請求の範囲
【請求項1】
第一ステータと第二ステータとロータとが、前記ロータの回転軸の軸方向に並ぶアキシャルギャップ型の回転電機であって、
前記第一ステータは、第一コイルと、前記第一コイルが配置される圧粉磁心で構成された第一コアとを備え、
前記第二ステータは、第二コイルと、前記第二コイルが配置される圧粉磁心で構成された第二コアとを備え、
前記第一コアは、
第一ヨーク面を有する円環状の第一ヨークと、
前記第一ヨーク面から突出する複数の第一ティースと、を備え、
前記第二コアは、
前記第一ヨーク面に対向する第二ヨーク面を有する円環状の第二ヨークと、
前記第二ヨーク面から突出する複数の第二ティースと、を備え、
前記第一ステータと前記第二ステータとは、前記第一ティースと前記第二ティースとが向かい合うように配置されており、
前記第一コアと前記第二コアとは、同一形状であり、
前記第一ヨークに、前記第一ヨークの軸方向から見て、前記第一ヨークの軸心を通る第一基準直線を仮想し、前記第二ヨークに、前記第二ヨークの軸方向から見て、前記第二ヨークの軸心を通る第二基準直線を仮想した場合、
前記第一基準直線は、前記第一コアにおける前記第一基準直線を挟んで線対称の位置にある一方のティースと他方のティースとの突出高さが揃うように仮想された直線であり、
前記第二基準直線は、前記第二コアにおける前記第二基準直線を挟んで線対称の位置にある一方のティースと他方のティースとの突出高さが揃うように仮想された直線であり、
前記ロータの前記回転軸の軸方向から見て、前記第一基準直線と前記第二基準直線とが一致しており、
前記第一コアにおける最も高さが高いティースと前記第二コアにおける最も高さが低いティースとが向かい合うように配置されている、
回転電機。
続きを表示(約 1,600 文字)
【請求項2】
前記第一基準直線に関して互いに対称な位置にある複数の前記第一ティースにおける前記第一ヨーク面から複数の前記第一ティースの端面までの突出高さ差分が0.15mm以下であり、
前記第二基準直線に関して互いに対称な位置にある複数の前記第二ティースにおける前記第二ヨーク面から複数の前記第二ティースの端面までの突出高さの差分が0.15mm以下である、請求項1に記載の回転電機。
【請求項3】
前記回転軸の軸方向に対向する位置にある前記第一ティースと前記第二ティースとで構成されるティース対を複数備え、
複数の前記ティース対それぞれにおける前記第一ティースの端面の面積重心から前記第二ティースの端面の面積重心に至る距離をティース間距離とし、最大の前記ティース間距離と最小の前記ティース間距離との差が0.08mm以下である、請求項1または請求項2に記載の回転電機。
【請求項4】
前記第一コアにおける複数の前記第一ティースにおける前記第一ヨーク面の反対面から前記第一ティースの端面までの全体高さのバラツキが0.05mm以上0.15mm以下であり、
前記第二コアにおける複数の前記第二ティースにおける前記第二ヨーク面の反対面から前記第二ティースの端面までの全体高さのバラツキが0.05mm以上0.15mm以下である、請求項1から請求項3のいずれか1項に記載の回転電機。
【請求項5】
前記第一ヨークの厚さのバラツキが0.03mm以上0.10mm以下であり、
前記第二ヨークの厚さのバラツキが0.03mm以上0.10mm以下である、請求項1から請求項4のいずれか1項に記載の回転電機。
【請求項6】
複数の前記第一ティースの突出高さのバラツキが0.03mm以上0.10mm以下であり、
複数の前記第二ティースの突出高さのバラツキが0.03mm以上0.10mm以下である、請求項1から請求項5のいずれか1項に記載の回転電機。
【請求項7】
前記ロータは、前記第一ティースの端面に対向する第一ロータ面と、前記第二ティースの端面に対向する第二ロータ面とを備え、
複数の前記第一ティースにおける前記第一ヨーク面の反対面から前記第一ティースの端面までの全体高さのバラツキが、複数の前記第一ティースと前記第一ロータ面との距離の平均値の20%以下であり、
複数の前記第二ティースにおける前記第二ヨーク面の反対面から前記第二ティースの端面までの全体高さのバラツキが、複数の前記第二ティースと前記第二ロータ面との距離の平均値の20%以下である、請求項1から請求項6のいずれか1項に記載の回転電機。
【請求項8】
前記ロータは、前記第一ティースの端面に対向する第一ロータ面と、前記第二ティースの端面に対向する第二ロータ面とを備え、
前記第一ヨークの厚さのバラツキが、前記第一ヨーク面と前記第一ロータ面との距離の平均値の2%以下であり、
前記第二ヨークの厚さのバラツキが、前記第二ヨーク面と前記第二ロータ面との距離の平均値の2%以下である、請求項1から請求項7のいずれか1項に記載の回転電機。
【請求項9】
通電時に、前記第一コアと前記ロータと前記第二コアとを透過する環状磁路が形成され、
複数の前記第一ティースにおける前記第一ヨーク面の反対面から前記第一ティースの端面までの全体高さのバラツキが、前記環状磁路の磁路長の1%以下であり、
複数の前記第二ティースにおける前記第二ヨーク面の反対面から前記第二ティースの端面までの全体高さのバラツキが、前記環状磁路の磁路長の1%以下である、請求項1から請求項8のいずれか1項に記載の回転電機。
発明の詳細な説明
【技術分野】
【0001】
本開示は、回転電機に関する。本出願は、2019年10月17日出願の日本出願2019-190556号に基づく優先権を主張し、前記日本出願に記載された全ての記載内容を援用するものである。
続きを表示(約 2,700 文字)
【背景技術】
【0002】
アキシャルギャップ型の回転電機(電動機・発電機)として、特許文献1の図13には、ロータを一対のステータで挟み込んだダブルステータタイプの回転電機が開示されている。ステータは、コイルが配置されるコアを備える。コアは、円盤状のヨークと、ヨークの一面側から突出する複数のティースとを備える。ティースの外周にはコイルが配置される。特許文献1では、ヨークに孔を設け、その孔に柱状のティースを嵌め込むことでステータのコアを構成している。一方、ロータは、複数の永久磁石を有する。
【0003】
一対のステータを備えるアキシャルギャップ型の回転電機では、ロータの回転軸の軸方向に、一方のステータ、ロータ、他方のステータの順に並べる。その際、一方のステータのティースと、他方のステータのティースとが向かい合うように両ステータを配置する。
【先行技術文献】
【特許文献】
【0004】
国際公開第2007/114079号
【発明の概要】
【0005】
本開示の回転電機は第一ステータと第二ステータとロータとが、前記ロータの回転軸の軸方向に並ぶアキシャルギャップ型の回転電機であって、
前記第一ステータは、第一コイルと、前記第一コイルが配置される圧粉磁心で構成された第一コアを備え、
前記第二ステータは、第二コイルと、前記第二コイルが配置される圧粉磁心で構成された第二コアを備え、
前記第一コアは、
第一ヨーク面を有する円環状の第一ヨークと、
前記第一ヨーク面から前記ロータ方向に突出し、前記第一ヨークと一体に構成された複数の第一ティースと、
前記第一ヨークの周方向の基準となる位置を示す第一マークとを備え、
前記第二コアは、
前記第一ヨーク面に対向する第二ヨーク面を有する円環状の第二ヨークと、
前記第二ヨーク面から前記ロータ方向に突出し、前記第二ヨークと一体に構成された複数の第二ティースと、
前記第二ヨークの周方向の基準となる位置を示す第二マークとを備え、
前記回転軸の軸方向に見て、前記第一マークと前記第二マークとが前記回転軸に関して互いに対称な位置に配置されている。
【図面の簡単な説明】
【0006】
図1は、実施形態1のアキシャルギャップ型の回転電機の部分縦断面図である。
図2は、第一ステータの第一コアの斜視図である。
図3は、第一ステータの第一コアの上面図である。
図4は、第二ステータの第二コアの上面図である。
図5は、第一ティースを作製する金型と給粉機の位置関係を示す模式図である。
図6は、図5のVI-VI断面図である。
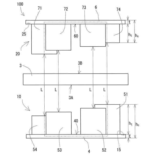
図7は、第一ティースと第二ティースとロータとの配置関係の模式図である。
図8は、試験例に記載される試料No.1のトルクリプルを示すグラフである。
図9は、試験例に記載される試料No.1のコギングトルクを示すグラフである。
図10は、試験例に記載される試料No.2のトルクリプルを示すグラフである。
図11は、試験例に記載される試料No.2のコギングトルクを示すグラフである。
【発明を実施するための形態】
【0007】
特許文献1では、ヨークとティースとを別個に作製し、それらを組み合わせてステータのコアを作製している。この構成では、ヨークとティースとを組み合わせる手間がかかるため、回転電機の生産性が芳しくない。
【0008】
また、特許文献1の構成では、ヨークからのティースの突出高さがバラツキ易い。ティースの突出高さにバラツキがあると、トルクリプルの増大などによって電磁気的なエネルギー損失が増大する。また、ロータの回転軸が変動し易くなるので、シャフトと軸受との間の摩擦の増大などによって機械的なエネルギー損失が増大する。
【0009】
[本開示の実施形態の説明]
本発明者らは、ヨークと複数のティースとを備えるコアを圧紛磁心によって構成することを検討した。圧粉磁心によって構成されるコアを作製する場合、給粉機を用いて金型内に磁性粉末を充填し、加圧成形する。一般的な給粉機は、金型上を直線的に往復して金型内に給粉する。ここで、本発明者らは、金型における給粉開始側の箇所の方が、給粉機の折り返し側の箇所よりも磁性粉末が多く充填され易い傾向にあるという知見を得た。また、本発明者らは、上面視した金型の中心を通って給粉機の往復方向に沿った直線を給粉軸線としたとき、給粉軸線に関して互いに対称な位置にある箇所における磁性粉末の充填量は同程度となり易いという知見を得た。つまり、圧紛磁心のコアでは、コアに備わる複数のティースのうち、給粉開始側から給粉機の折り返し側に向って、ティースの高さが徐々に低くなり易い。また、給粉軸線に関して互いに対称な位置にあるティースの突出高さはほぼ同じとなる。これらの知見に基づいて、本発明者らは実施形態に係る回転電機を完成させた。
以下、本開示の実施態様を列記して説明する。
【0010】
<1>実施形態に係る回転電機は、
第一ステータと第二ステータとロータとが、前記ロータの回転軸の軸方向に並ぶアキシャルギャップ型の回転電機であって、
前記第一ステータは、第一コイルと、前記第一コイルが配置される圧粉磁心で構成された第一コアを備え、
前記第二ステータは、第二コイルと、前記第二コイルが配置される圧粉磁心で構成された第二コアを備え、
前記第一コアは、
第一ヨーク面を有する円環状の第一ヨークと、
前記第一ヨーク面から前記ロータ方向に突出し、前記第一ヨークと一体に構成された複数の第一ティースと、
前記第一ヨークの周方向の基準となる位置を示す第一マークとを備え、
前記第二コアは、
前記第一ヨーク面に対向する第二ヨーク面を有する円環状の第二ヨークと、
前記第二ヨーク面から前記ロータ方向に突出し、前記第二ヨークと一体に構成された複数の第二ティースと、
前記第二ヨークの周方向の基準となる位置を示す第二マークとを備え、
前記回転軸の軸方向に見て、前記第一マークと前記第二マークとが前記回転軸に関して互いに対称な位置に配置されている。
(【0011】以降は省略されています)
この特許をJ-PlatPat(特許庁公式サイト)で参照する
関連特許
住友電気工業株式会社
半導体装置
1日前
住友電気工業株式会社
歪補償装置
2日前
住友電気工業株式会社
炭化珪素半導体装置
7日前
住友電気工業株式会社
光分岐ケーブルセット
2日前
住友電気工業株式会社
光コネクタおよび接続構造
7日前
住友電気工業株式会社
窒化物半導体基板の製造方法
2日前
住友電気工業株式会社
学習装置、学習方法及び学習プログラム
2日前
住友電気工業株式会社
タンク、およびレドックスフロー電池システム
8日前
住友電気工業株式会社
半導体装置の製造方法および半導体装置の検査方法
7日前
住友電気工業株式会社
半導体装置の製造方法および半導体装置の検査方法
7日前
住友電気工業株式会社
半導体装置の製造方法および半導体装置の検査方法
7日前
住友電気工業株式会社
窒化物半導体装置および窒化物半導体装置の製造方法
7日前
住友電気工業株式会社
回転電機
2日前
住友電気工業株式会社
宅側装置、光通信システム、及びサブキャリアの選択方法
8日前
住友電気工業株式会社
プリント配線板用露光装置およびプリント配線板の製造方法
7日前
住友電気工業株式会社
連結治具、光ケーブル連結システム、および、光ケーブルの牽引方法
2日前
株式会社オートネットワーク技術研究所
コネクタ
7日前
株式会社オートネットワーク技術研究所
端子金具
7日前
株式会社オートネットワーク技術研究所
端子金具
7日前
株式会社オートネットワーク技術研究所
端子金具
7日前
株式会社オートネットワーク技術研究所
端子金具
7日前
株式会社オートネットワーク技術研究所
圧接端子
今日
株式会社オートネットワーク技術研究所
コネクタ
今日
株式会社オートネットワーク技術研究所
コネクタ
今日
住友電気工業株式会社
画像データ伝送装置及び画像解析装置
今日
株式会社オートネットワーク技術研究所
圧接端子金具及びコネクタ
今日
住友電気工業株式会社
中継装置、中継方法および中継プログラム
2日前
株式会社オートネットワーク技術研究所
モータ及びモータの製造方法
1日前
株式会社オートネットワーク技術研究所
ヒューズモジュール、及びヒューズシステム
7日前
株式会社オートネットワーク技術研究所
ヒューズモジュール、及びヒューズシステム
7日前
住友電気工業株式会社
情報提供装置、情報提供方法、及びコンピュータプログラム
9日前
株式会社オートネットワーク技術研究所
制御装置、巻線切替システム、制御方法、及び制御プログラム
1日前
株式会社オートネットワーク技術研究所
ワイヤハーネス
今日
株式会社オートネットワーク技術研究所
車載システム、車載装置、データ復元プログラムおよびデータ分散プログラム
2日前
株式会社オートネットワーク技術研究所
コネクタ及びコネクタ構成体
9日前
個人
電気を重力で発電装置
29日前
続きを見る
他の特許を見る