TOP
|
特許
|
意匠
|
商標
特許ウォッチ
Twitter
他の特許を見る
10個以上の画像は省略されています。
公開番号
2025173758
公報種別
公開特許公報(A)
公開日
2025-11-28
出願番号
2024079500
出願日
2024-05-15
発明の名称
半導体装置の製造方法および半導体装置の検査方法
出願人
住友電気工業株式会社
代理人
個人
,
個人
主分類
H10D
30/01 20250101AFI20251120BHJP()
要約
【課題】アバランシェ耐量が高いチップの製造方法および半導体装置の検査方法を提供する。
【解決手段】半導体装置は、第1主面を有する半導体基板と、半導体基板の面内に形成された複数のチップ領域とを有し、複数のチップ領域の夫々に電界効果トランジスタが形成されている。半導体装置の製造方法おいて、チップ領域を検査する工程は、チップ領域毎に電界効果トランジスタの降伏電圧を取得する工程と、第1主面に平行な第1軸に沿って並ぶチップ領域の位置に対する降伏電圧の依存性を第1高次関数で近似する工程と、第1高次関数を前記位置で1回微分して第1導関数を算出する工程と、第1軸に沿って並ぶチップ領域の良否を第1導関数に基づいて判定する工程と、を有する。第1導関数に基づいて判定する工程は、第1導関数の値が第1判定値よりも大きい位置のチップ領域が不良であると判定する。
【選択図】図8
特許請求の範囲
【請求項1】
電界効果トランジスタを含む半導体装置の製造方法であって、
前記半導体装置は、第1主面を有する半導体基板と、前記半導体基板の面内に形成された複数のチップ領域とを有し、
複数の前記チップ領域のそれぞれに前記電界効果トランジスタが形成されており、
前記チップ領域ごとに前記電界効果トランジスタの降伏電圧を取得する工程と、
前記第1主面に平行な第1軸に沿って並ぶ前記チップ領域の位置に対する前記降伏電圧の依存性を第1高次関数で近似する工程と、
前記第1高次関数を前記位置で1回微分して第1導関数を算出する工程と、
前記第1軸に沿って並ぶ前記チップ領域の良否を前記第1導関数に基づいて判定する工程と、
を有し、
前記第1導関数に基づいて判定する工程は、前記第1導関数の値が第1判定値よりも大きい位置の前記チップ領域が不良であると判定することを含む、
半導体装置の製造方法。
続きを表示(約 1,300 文字)
【請求項2】
前記第1判定値は、前記第1軸に沿って並ぶ複数の前記チップ領域ごとに算出される前記第1導関数の値の平均値に基づいて定められる、
請求項1に記載の半導体装置の製造方法。
【請求項3】
前記第1導関数に基づいて判定する工程は、前記平均値に対する前記第1導関数の値の割合が5%より大きい位置の前記チップ領域が不良であると判定することを含む、
請求項2に記載の半導体装置の製造方法。
【請求項4】
前記第1主面に平行かつ前記第1軸に垂直な第2軸における位置が異なる前記チップ領域ごとに、前記第1高次関数で近似する工程と、前記第1導関数を算出する工程と、前記第1導関数に基づいて判定する工程とを行う、
請求項1から請求項3のいずれか1項に記載の半導体装置の製造方法。
【請求項5】
前記第1主面に平行かつ前記第1軸に垂直な第2軸に沿って並ぶ前記チップ領域の位置に対する前記降伏電圧の依存性を第2高次関数で近似する工程と、
前記第2高次関数を前記位置で1回微分して第2導関数を算出する工程と、
前記チップ領域の良否を前記第2導関数に基づいて判定する工程と、
を有し、
前記第2導関数に基づいて判定する工程は、前記第2導関数の値が第2判定値よりも大きい位置の前記チップ領域が不良であると判定することを含む、
請求項1から請求項3のいずれか1項に記載の半導体装置の製造方法。
【請求項6】
前記第1軸における位置が異なる前記チップ領域ごとに、前記第2高次関数で近似する工程と、前記第2導関数を算出する工程と、前記判定する工程とを行う、
請求項5に記載の半導体装置の製造方法。
【請求項7】
前記降伏電圧は、前記電界効果トランジスタのドレイン電流が1mAとなるときのドレインソース間電圧である、
請求項1から請求項3のいずれか1項に記載の半導体装置の製造方法。
【請求項8】
前記第1軸は、前記半導体基板に設けられたオリエンテーションフラットに平行である、
請求項1から請求項3のいずれか1項に記載の半導体装置の製造方法。
【請求項9】
電界効果トランジスタを含む半導体装置の検査方法であって、
前記半導体装置は、第1主面を有する半導体基板と、前記半導体基板の面内に形成された複数のチップ領域とを有し、
複数の前記チップ領域のそれぞれに前記電界効果トランジスタが形成されており、
前記チップ領域ごとに前記電界効果トランジスタの降伏電圧を取得する工程と、
前記第1主面に平行な第1軸に沿って並ぶ前記チップ領域の位置に対する前記降伏電圧の依存性を第1高次関数で近似する工程と、
前記第1高次関数を前記位置で1回微分して第1導関数を算出する工程と、
前記第1軸に沿って並ぶ前記チップ領域の良否を前記第1導関数に基づいて判定する工程と、
を有し、
前記第1導関数に基づいて判定する工程は、前記第1導関数の値が第1判定値よりも大きい位置の前記チップ領域が不良であると判定することを含む、
半導体装置の検査方法。
発明の詳細な説明
【技術分野】
【0001】
本開示は、半導体装置の製造方法および半導体装置の検査方法に関する。
続きを表示(約 1,400 文字)
【背景技術】
【0002】
スーパージャンクション構造を備えた半導体装置が開示されている。
【先行技術文献】
【特許文献】
【0003】
特開2019-165065号公報
【発明の概要】
【発明が解決しようとする課題】
【0004】
半導体基板の面内に複数のチップ領域が形成される場合、チップ領域ごとにアバランシェ耐量がばらつく場合がある。
【0005】
本開示は、アバランシェ耐量が高いチップを製造できる半導体装置の製造方法および半導体装置の検査方法を提供することを目的とする。
【課題を解決するための手段】
【0006】
本開示の半導体装置の製造方法は、電界効果トランジスタを含む半導体装置の製造方法であって、前記半導体装置は、第1主面を有する半導体基板と、前記半導体基板の面内に形成された複数のチップ領域とを有し、複数の前記チップ領域のそれぞれに前記電界効果トランジスタが形成されており、前記チップ領域ごとに前記電界効果トランジスタの降伏電圧を取得する工程と、前記第1主面に平行な第1軸に沿って並ぶ前記チップ領域の位置に対する前記降伏電圧の依存性を第1高次関数で近似する工程と、前記第1高次関数を前記位置で1回微分して第1導関数を算出する工程と、前記第1軸に沿って並ぶ前記チップ領域の良否を前記第1導関数に基づいて判定する工程と、を有し、前記第1導関数に基づいて判定する工程は、前記第1導関数の値が第1判定値よりも大きい位置の前記チップ領域が不良であると判定することを含む。
【発明の効果】
【0007】
本開示によれば、アバランシェ耐量が高いチップを製造できる。
【図面の簡単な説明】
【0008】
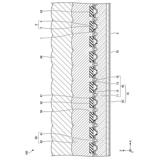
図1は、実施形態に係る半導体装置を示す図である。
図2は、実施形態に係る半導体装置のチップ領域を示す図である。
図3は、実施形態に係る半導体装置のチップ領域を示す断面図である。
図4は、実施形態に係る半導体装置の製造方法を示すフロー図である。
図5は、チップ領域を形成する工程を示す断面図(その1)である。
図6は、チップ領域を形成する工程を示す断面図(その2)である。
図7は、チップ領域を形成する工程を示す断面図(その3)である。
図8は、チップ領域を検査する工程を示すフロー図である。
図9は、降伏電圧のばらつきの分布を示す図である。
【発明を実施するための形態】
【0009】
実施するための形態について、以下に説明する。
【0010】
[本開示の実施形態の説明]
最初に本開示の実施態様を列記して説明する。以下の説明では、同一または対応する要素には同一の符号を付し、それらについて同じ説明は繰り返さない。以下の説明では、XYZ直交座標系を用いるが、当該座標系は、説明のために定めるものであって、炭化珪素半導体装置の姿勢について限定するものではない。XY面視を平面視と称し、任意の点からみて、+Z方向を上方、上側または上と称することがあり、-Z方向を下方、下側または下と称することがある。
(【0011】以降は省略されています)
この特許をJ-PlatPat(特許庁公式サイト)で参照する
関連特許
個人
積和演算用集積回路
23日前
サンケン電気株式会社
半導体装置
22日前
日機装株式会社
半導体発光装置
17日前
旭化成株式会社
発光素子
1か月前
エイブリック株式会社
縦型ホール素子
1か月前
エイブリック株式会社
縦型ホール素子
1か月前
ローム株式会社
半導体装置
1日前
ローム株式会社
抵抗チップ
1か月前
富士電機株式会社
半導体装置
1か月前
株式会社半導体エネルギー研究所
表示装置
1日前
株式会社東芝
半導体装置
9日前
三菱電機株式会社
半導体装置
9日前
三菱電機株式会社
半導体装置
1か月前
株式会社半導体エネルギー研究所
表示装置
1か月前
ローム株式会社
半導体集積回路
1か月前
日亜化学工業株式会社
発光装置
1か月前
日亜化学工業株式会社
発光装置
1か月前
ローム株式会社
半導体装置
1か月前
サンケン電気株式会社
半導体装置
9日前
ローム株式会社
窒化物半導体装置
1か月前
富士電機株式会社
半導体装置の製造方法
1か月前
株式会社半導体エネルギー研究所
発光デバイス
1か月前
株式会社半導体エネルギー研究所
発光デバイス
17日前
ローム株式会社
窒化物半導体装置
1か月前
ローム株式会社
半導体装置
1か月前
ローム株式会社
半導体装置
22日前
大日本印刷株式会社
太陽電池
1か月前
株式会社カネカ
太陽電池モジュール
1か月前
日亜化学工業株式会社
発光素子
22日前
株式会社MARUWA
発光装置及び照明器具
1か月前
日本電気株式会社
超伝導量子回路装置
1か月前
サンケン電気株式会社
発光装置
1か月前
ローム株式会社
光センサ
1か月前
日亜化学工業株式会社
発光装置
1か月前
ローム株式会社
半導体装置
9日前
ローム株式会社
RAM
1か月前
続きを見る
他の特許を見る