TOP
|
特許
|
意匠
|
商標
特許ウォッチ
Twitter
他の特許を見る
10個以上の画像は省略されています。
公開番号
2025176627
公報種別
公開特許公報(A)
公開日
2025-12-04
出願番号
2024082907
出願日
2024-05-21
発明の名称
モータ及びモータの製造方法
出願人
株式会社オートネットワーク技術研究所
,
住友電装株式会社
,
住友電気工業株式会社
代理人
弁理士法人サンクレスト国際特許事務所
主分類
H02K
3/493 20060101AFI20251127BHJP(電力の発電,変換,配電)
要約
【課題】ステータの磁性特性を損なうことなく、モータの製造効率を向上させる。
【解決手段】モータは、環状のヨークと、前記ヨークの中心へ向かう中心方向へ前記ヨークから突出する複数のティースとを含むステータコアと、前記複数のティースのそれぞれに巻回される複数のコイルと、連結楔体と、を備え、前記連結楔体は、前記複数のコイルそれぞれの前記中心方向の端部において、隣り合うコイルの間に配置される複数の磁性楔と、前記複数の磁性楔を環状に連結する連結部と、を含む。
【選択図】図6
特許請求の範囲
【請求項1】
環状のヨークと、前記ヨークの中心へ向かう中心方向へ前記ヨークから突出する複数のティースとを含むステータコアと、
前記複数のティースのそれぞれに巻回される複数のコイルと、
連結楔体と、
を備え、
前記連結楔体は、
前記複数のコイルそれぞれの前記中心方向の端部において、隣り合うコイルの間に配置される複数の磁性楔と、
前記複数の磁性楔を環状に連結する連結部と、
を含む、
モータ。
続きを表示(約 1,000 文字)
【請求項2】
前記連結部は、円環状に構成され、
前記複数の磁性楔は、前記連結部の中心軸に沿って延びる軸方向に前記連結部から突出する、
請求項1に記載のモータ。
【請求項3】
前記連結楔体は、磁性材料によって一体形成されている、
請求項2に記載のモータ。
【請求項4】
前記ティースの先端は、前記ティースに巻回された前記コイルの前記中心方向の端面から前記中心方向に突出し、
前記磁性楔は、隣り合う前記ティースの前記先端の間に配置される、
請求項1に記載のモータ。
【請求項5】
前記連結部は、環状に配置された前記複数のコイルの軸方向の端部に対し、前記中心方向の反対方向に対向して配置される、
請求項4に記載のモータ。
【請求項6】
前記連結部は、前記複数のティースの先端と、前記複数のコイルの前記中心方向の端面とによって形成された環状凹部に配置されている、
請求項5に記載のモータ。
【請求項7】
前記ティースは、前記ヨークから前記中心方向に延びる凸多面体である、
請求項1から請求項6のいずれか1項に記載のモータ。
【請求項8】
前記ティースは、前記中心方向に直交する断面積が一定の形状、又は、前記中心方向に向かって、前記中心方向に直交する断面積が減少する形状を有する、
請求項7に記載のモータ。
【請求項9】
ステータコアの環状のヨークから前記ヨークの中心へ向かう中心方向へ突出する複数のティースのそれぞれにコイルが配置された組立体を形成するステップと、
形成された前記組立体に、複数の磁性楔と、前記複数の磁性楔を環状に連結する連結部とを含む連結楔体を配置するステップと、
を含み、
前記連結楔体を配置するステップにおいて、前記複数のコイルそれぞれの前記中心方向の端部において、隣り合うコイルの間に前記磁性楔を配置する、
モータの製造方法。
【請求項10】
前記連結楔体を配置するステップにおいて、隣り合う2つの前記ティースの前記先端の間に形成された、軸方向に延びる溝に、円環状の前記連結部の端面から延びる前記磁性楔を挿入することにより、前記隣り合う2つのコイルの間に前記磁性楔を配置する、
請求項9に記載のモータの製造方法。
(【請求項11】以降は省略されています)
発明の詳細な説明
【技術分野】
【0001】
本開示は、モータ及びモータの製造方法に関する。
続きを表示(約 1,700 文字)
【背景技術】
【0002】
特許文献1には、コイル部材のコイルサイド領域におけるロータ側の端面に隣接して磁性材料からなる鍔部材を配置し、コイル部材及び鍔部材をモールド部材によって封止したカセットコイルが開示されている。特許文献1に開示されたカセットコイルがステータコアのティース部に嵌合されることにより、ステータが組み立てられる。ステータのコイル部材に電流を流したとき、コイル電流によって生じた磁流は鍔部及びティース部に流れる。
【先行技術文献】
【特許文献】
【0003】
特開2009-254171号公報
【発明の概要】
【発明が解決しようとする課題】
【0004】
特許文献1に開示されたカセットコイルは、1つのコイル部材につき2つの鍔部材を必要とする。カセットコイルを製造するためには、コイル部材のコイルサイド領域におけるロータ側の端面に鍔部材を配置し、コイル部材をモールドする必要がある。
【課題を解決するための手段】
【0005】
本開示の一態様に係るモータは、環状のヨークと、前記ヨークの中心へ向かう中心方向へ前記ヨークから突出する複数のティースとを含むステータコアと、前記複数のティースのそれぞれに巻回される複数のコイルと、連結楔体と、を備え、前記連結楔体は、前記複数のコイルそれぞれの前記中心方向の端部において、隣り合うコイルの間に配置される複数の磁性楔と、前記複数の磁性楔を環状に連結する連結部と、を含む。
【発明の効果】
【0006】
本開示によれば、ステータの磁性特性を損なうことなく、モータの製造効率を向上させることができる。
【図面の簡単な説明】
【0007】
図1は、第1実施形態に係るモータの構成の一例を示す断面図である。
図2は、図1の部分拡大図である。
図3は、第1実施形態に係るステータコアの構成の一例を示す斜視図である。
図4は、第1実施形態に係るコイルの一例を示す斜視図である。
図5は、第1実施形態に係る連結楔体の一例を示す斜視図である。
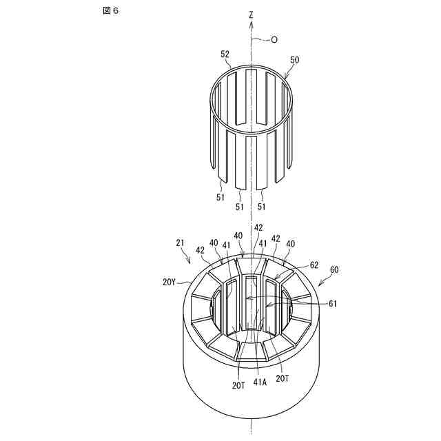
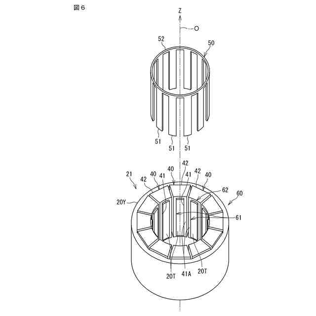
図6は、第1実施形態に係るステータコアの構成の一例を示す分解斜視図である。
図7は、第1実施形態に係るステータの組立方法の一例を示すフローチャートである。
図8は、第1実施形態に係るステータの組立方法の一例を説明するための図である。
図9は、第2実施形態に係るステータコアの構成の一例を示す斜視図である。
図10は、第2実施形態に係るステータの組立方法の一例を示すフローチャートである。
図11は、第2実施形態に係るステータの組立方法の一例を説明するための図である。
【発明を実施するための形態】
【0008】
<本開示の実施形態の概要>
以下、本開示の実施形態の概要を列記して説明する。
【0009】
(1) 本実施形態に係るモータは、環状のヨークと、前記ヨークの中心へ向かう中心方向へ前記ヨークから突出する複数のティースとを含むステータコアと、前記複数のティースのそれぞれに巻回される複数のコイルと、連結楔体と、を備え、前記連結楔体は、前記複数のコイルそれぞれの前記中心方向の端部において、隣り合うコイルの間に配置される複数の磁性楔と、前記複数の磁性楔を環状に連結する連結部と、を含む。コイル電流によって生じた磁流が磁性楔及びティースに流れるため、ステータの磁性特性が損なわれることが防止される。複数の磁性楔が連結された連結楔体を、ティースにコイルが配置されたステータコアに取り付けることで、複数の磁性楔を隣り合うコイルの間に配置することができ、モータの製造効率を向上させることができる。
【0010】
(2) 上記(1)において、前記連結部は、円環状に構成され、前記複数の磁性楔は、前記連結部の中心軸に沿って延びる軸方向に前記連結部から突出してもよい。これにより、連結楔体を単純な構成とすることができる。
(【0011】以降は省略されています)
この特許をJ-PlatPat(特許庁公式サイト)で参照する
関連特許
個人
高圧電気機器の開閉器
15日前
個人
電気を重力で発電装置
28日前
キヤノン電子株式会社
モータ
1か月前
キヤノン電子株式会社
モータ
27日前
日星電気株式会社
ケーブル組立体
1か月前
コーセル株式会社
電源装置
1か月前
トヨタ自動車株式会社
モータ
27日前
株式会社アイドゥス企画
減反モータ
15日前
株式会社デンソー
端子台
8日前
個人
二次電池繰返パルス放電器用印刷基板
1か月前
本田技研工業株式会社
回転電機
1日前
ローム株式会社
半導体集積回路
6日前
株式会社デンソー
電力変換装置
1か月前
トヨタ自動車株式会社
固定子の加熱装置
1か月前
矢崎総業株式会社
電源回路
14日前
矢崎総業株式会社
給電装置
7日前
株式会社日立製作所
回転電機
6日前
株式会社TMEIC
制御装置
7日前
日産自動車株式会社
ロータシャフト
22日前
大和ハウス工業株式会社
敷設用機器
7日前
個人
非対称鏡像力を有する4層PWB電荷搬送体
22日前
山洋電気株式会社
モータ
1か月前
トヨタ自動車株式会社
ステータの製造装置
28日前
日産自動車株式会社
ロータシャフト
22日前
ローム株式会社
モータドライバ回路
22日前
トヨタ自動車株式会社
可変界磁ロータ
1か月前
株式会社土井製作所
ケーブル保護管路
6日前
株式会社TMEIC
電力変換装置
7日前
京商株式会社
模型用非接触電力供給システム
15日前
トヨタ紡織株式会社
ロータの製造装置
1か月前
個人
電線盗難防止方法及び電線盗難防止装置
1か月前
サンデン株式会社
モータ
今日
サンデン株式会社
モータ
今日
株式会社マキタ
電動作業機
1か月前
株式会社アイシン
電力変換装置
27日前
株式会社明治ゴム化成
ワイヤレス給電用部品
1か月前
続きを見る
他の特許を見る