TOP
|
特許
|
意匠
|
商標
特許ウォッチ
Twitter
他の特許を見る
10個以上の画像は省略されています。
公開番号
2025176139
公報種別
公開特許公報(A)
公開日
2025-12-03
出願番号
2025152186,2024536787
出願日
2025-09-12,2023-04-27
発明の名称
中継装置、中継方法および中継プログラム
出願人
住友電気工業株式会社
,
住友電装株式会社
,
株式会社オートネットワーク技術研究所
代理人
弁理士法人ワンディ-IPパ-トナ-ズ
主分類
H04L
12/28 20060101AFI20251126BHJP(電気通信技術)
要約
【課題】車載ネットワークにおける複数の機能部の間においてフレームの中継処理を行う中継装置でのトレースを効率的に行う中継装置、中継方法及び中継プログラムを提供する。
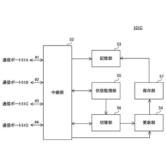
【解決手段】車載ネットワークにおける複数の機能部(例えば車載ECU)の間においてフレームの中継処理を行う中継装置101Cであって、複数の通信ポートと、フレームに含まれる宛先MACアドレスと通信ポートとの対応関係を示す対応情報を記憶する記憶部と、車載ネットワークの状態を監視する状態監視部と、対応情報の更新処理を行う更新部と、更新処理を停止する停止状態と更新処理を実行する実行状態とを切り替える切替部と、切替部によって実行状態から停止状態へ切り替えられた場合、実行状態において更新処理が行われた対応情報を、停止状態において中継処理に用いる対応情報として記憶部に保存する保存部と、を備える。
【選択図】図2
特許請求の範囲
【請求項1】
車載ネットワークにおける複数の機能部の間においてフレームの中継処理を行う中継装置であって、
複数の通信ポートと、
前記中継処理に用いる対応情報であって、前記フレームに含まれる宛先MACアドレスと前記通信ポートとの対応関係を示す前記対応情報を記憶する記憶部と、
前記車載ネットワークの状態を監視する状態監視部と、
前記対応情報の更新処理を行う更新部と、
前記更新処理を停止する停止状態と前記更新処理を実行する実行状態とを切り替える切替部であって、前記状態監視部によって前記車載ネットワークの状態の変化が検出された場合、前記停止状態から前記実行状態へ切り替える前記切替部と、
前記切替部によって前記実行状態から前記停止状態へ切り替えられた場合、前記実行状態において前記更新処理が行われた前記対応情報を、前記停止状態において前記中継処理に用いる前記対応情報として前記記憶部に保存する保存部とを備える、中継装置。
続きを表示(約 1,100 文字)
【請求項2】
前記変化は、前記車載ネットワークへの前記機能部の追加である、請求項1に記載の中継装置。
【請求項3】
前記切替部は、前記実行状態へ切り替えてから所定時間経過すると前記停止状態へ切り替える、請求項1または請求項2に記載の中継装置。
【請求項4】
前記状態監視部は、前記機能部による前記変化を検出し、
前記更新部は、前記変化の要因となった前記機能部から送信される所定のフレームに基づいて前記更新処理を行う、請求項1から請求項3のいずれか1項に記載の中継装置。
【請求項5】
車載ネットワークにおける複数の機能部の間においてフレームの中継処理を行い、複数の通信ポートと、前記中継処理に用いる対応情報であって、前記フレームに含まれる宛先MACアドレスと前記通信ポートとの対応関係を示す前記対応情報を記憶する記憶部とを備える中継装置、における中継方法であって、
前記車載ネットワークの状態を監視するステップと、
前記車載ネットワークの状態の変化を検出した場合、前記対応情報の更新処理を停止する停止状態から前記更新処理を実行する実行状態へ切り替えるステップと、
前記実行状態において前記更新処理を行うステップと、
前記実行状態から前記停止状態へ切り替えた場合、前記実行状態において前記更新処理を行った前記対応情報を前記停止状態において前記中継処理に用いる対応情報として前記記憶部に保存するステップとを含む、中継方法。
【請求項6】
車載ネットワークにおける複数の機能部の間においてフレームの中継処理を行い、複数の通信ポートと、前記中継処理に用いる対応情報であって、前記フレームに含まれる宛先MACアドレスと前記通信ポートとの対応関係を示す前記対応情報を記憶する記憶部とを備える中継装置、において用いられる中継プログラムであって、
コンピュータを、
前記車載ネットワークの状態を監視する状態監視部と、
前記対応情報の更新処理を行う更新部と、
前記更新処理を停止する停止状態と前記更新処理を実行する実行状態とを切り替える切替部であって、前記状態監視部によって前記車載ネットワークの状態の変化が検出された場合、前記停止状態から前記実行状態へ切り替える前記切替部と、
前記切替部によって前記実行状態から前記停止状態へ切り替えられた場合、前記実行状態において前記更新処理が行われた前記対応情報を、前記停止状態において前記中継処理に用いる前記対応情報として前記記憶部に保存する保存部、
として機能させるための、中継プログラム。
発明の詳細な説明
【技術分野】
【0001】
本開示は、中継装置、中継方法および中継プログラムに関する。
この出願は、2022年7月27日に出願された日本出願特願2022-119354号を基礎とする優先権を主張し、その開示のすべてをここに取り込む。
続きを表示(約 2,500 文字)
【背景技術】
【0002】
User’s Manaual of IGS-801M 4.11.4 Dynamic Learned,2016年3月,PLANET Networking&Communication,[令和4年6月6日検索],インターネット,<URL:http://www.planet.com.tw/storage/products/25685/EM-IGS-801M_v2.1.pdf>(非特許文献1)、およびS1700 Managed Series Ethernet Switches V100R007C00 Web User Manual,2012年10月25日,[online],HUAWEI,[令和4年6月6日検索],インターネット,<URL:https://www.manualslib.com/manual/966836/Huawei-S1700-Series.html?page=60#manual>(非特許文献2)には、MAC(Media Access Control)アドレステーブルを更新し、更新したMACアドレステーブルを用いてフレームを中継する中継装置が開示されている。
【先行技術文献】
【非特許文献】
【0003】
User’s Manaual of IGS-801M 4.11.4 Dynamic Learned,[online],2016年3月改訂,PLANET Networking&Communication,[令和4年6月6日検索],インターネット,<URL:http://www.planet.com.tw/storage/products/25685/EM-IGS-801M_v2.1.pdf>
S1700 Managed Series Ethernet Switches V100R007C00 Web User Manual,2012年10月25日,[online],HUAWEI,[令和4年6月6日検索],インターネット,<URL:https://www.manualslib.com/manual/966836/Huawei-S1700-Series.html?page=60#manual>
【発明の概要】
【0004】
本開示の中継装置は、車載ネットワークにおける複数の機能部の間においてフレームの中継処理を行う中継装置であって、複数の通信ポートと、前記中継処理に用いる対応情報であって、前記フレームに含まれる宛先MACアドレスと前記通信ポートとの対応関係を示す前記対応情報を記憶する記憶部と、前記車載ネットワークの状態を監視する状態監視部と、前記対応情報の更新処理を行う更新部と、前記更新処理を停止する停止状態と前記更新処理を実行する実行状態とを切り替える切替部であって、前記状態監視部によって前記車載ネットワークの状態の変化が検出された場合、前記停止状態から前記実行状態へ切り替える前記切替部と、前記切替部によって前記実行状態から前記停止状態へ切り替えられた場合、前記実行状態において前記更新処理が行われた前記対応情報を、前記停止状態において前記中継処理に用いる前記対応情報として前記記憶部に保存する保存部とを備える。
【0005】
本開示の一態様は、このような特徴的な処理部を備える中継装置として実現され得るだけでなく、中継装置の一部または全部を実現する半導体集積回路として実現され得たり、中継装置を含むシステムとして実現され得る。
【図面の簡単な説明】
【0006】
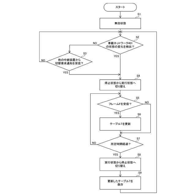
図1は、本開示の実施の形態に係る車載通信システムの構成の一例を示す図である。
図2は、本開示の実施の形態に係る中継装置の構成の一例を示す図である。
図3は、本開示の実施の形態に係る車載通信システムにおいて伝送されるフレームの一例を示す図である。
図4は、本開示の実施の形態に係る車載通信システムにおける各中継装置が保持するテーブルの一例を示す図である。
図5は、本開示の実施の形態に係る車載通信システムにおいて、テーブル更新処理が行われる際のフレーム中継の一例を示す図である。
図6は、本開示の実施の形態に係る車載通信システムの実行状態におけるテーブルの一例を示す図である。
図7は、本開示の実施の形態に係る車載通信システムの停止状態への切り替え後におけるテーブルの一例を示す図である。
図8は、本開示の実施の形態に係る車載通信システムにおける中継装置がテーブル更新処理を実行する際の動作手順を定めたフローチャートを示す図である。
図9は、本開示の実施の形態に係る車載通信システムにおける中継処理のシーケンスを示す図である。
【発明を実施するための形態】
【0007】
従来、イーサネット(登録商標)において、宛先MACアドレスと通信ポートとの対応関係を示すMACアドレステーブルを更新する技術が知られている。
【0008】
[本開示が解決しようとする課題]
中継装置では、一定期間通信がなかったMACアドレステーブルの内容がリセットされるため、ある通信ポートにおいて受信したユニキャストフレームが当該通信ポート以外のすべての通信ポートから出力されるフラッディングが発生する場合がある。特に車載ネットワークではリソースが限られているため、中継装置におけるフラッディングの影響が大きくなる。
【0009】
本開示は、上述の課題を解決するためになされたもので、その目的は、車載ネットワークにおける通信負荷を軽減可能な中継装置、中継方法および中継プログラムを提供することである。
【0010】
[本開示の効果]
本開示によれば、車載ネットワークにおける通信負荷を軽減することができる。
(【0011】以降は省略されています)
この特許をJ-PlatPat(特許庁公式サイト)で参照する
関連特許
住友電気工業株式会社
半導体装置
今日
住友電気工業株式会社
歪補償装置
1日前
住友電気工業株式会社
炭化珪素半導体装置
6日前
住友電気工業株式会社
光分岐ケーブルセット
1日前
住友電気工業株式会社
光コネクタおよび接続構造
6日前
住友電気工業株式会社
窒化物半導体基板の製造方法
1日前
住友電気工業株式会社
学習装置、学習方法及び学習プログラム
1日前
住友電気工業株式会社
タンク、およびレドックスフロー電池システム
7日前
住友電気工業株式会社
半導体装置の製造方法および半導体装置の検査方法
6日前
住友電気工業株式会社
半導体装置の製造方法および半導体装置の検査方法
6日前
住友電気工業株式会社
半導体装置の製造方法および半導体装置の検査方法
6日前
住友電気工業株式会社
窒化物半導体装置および窒化物半導体装置の製造方法
6日前
住友電気工業株式会社
宅側装置、光通信システム、及びサブキャリアの選択方法
7日前
住友電気工業株式会社
回転電機
1日前
住友電気工業株式会社
プリント配線板用露光装置およびプリント配線板の製造方法
6日前
住友電気工業株式会社
連結治具、光ケーブル連結システム、および、光ケーブルの牽引方法
1日前
株式会社オートネットワーク技術研究所
端子金具
6日前
株式会社オートネットワーク技術研究所
コネクタ
6日前
株式会社オートネットワーク技術研究所
端子金具
6日前
株式会社オートネットワーク技術研究所
端子金具
6日前
株式会社オートネットワーク技術研究所
端子金具
6日前
株式会社オートネットワーク技術研究所
モータ及びモータの製造方法
今日
住友電気工業株式会社
中継装置、中継方法および中継プログラム
1日前
株式会社オートネットワーク技術研究所
ヒューズモジュール、及びヒューズシステム
6日前
株式会社オートネットワーク技術研究所
ヒューズモジュール、及びヒューズシステム
6日前
株式会社オートネットワーク技術研究所
制御装置、巻線切替システム、制御方法、及び制御プログラム
今日
株式会社オートネットワーク技術研究所
車載システム、車載装置、データ復元プログラムおよびデータ分散プログラム
1日前
株式会社オートネットワーク技術研究所
コネクタ及びコネクタ構成体
8日前
個人
イヤーピース
27日前
個人
イヤーマフ
1か月前
個人
監視カメラシステム
1か月前
キーコム株式会社
光伝送線路
1か月前
個人
スイッチシステム
1か月前
WHISMR合同会社
収音装置
2か月前
サクサ株式会社
中継装置
1か月前
サクサ株式会社
中継装置
1か月前
続きを見る
他の特許を見る