TOP
|
特許
|
意匠
|
商標
特許ウォッチ
Twitter
他の特許を見る
10個以上の画像は省略されています。
公開番号
2025175735
公報種別
公開特許公報(A)
公開日
2025-12-03
出願番号
2024081959
出願日
2024-05-20
発明の名称
連結治具、光ケーブル連結システム、および、光ケーブルの牽引方法
出願人
住友電気工業株式会社
,
住友電工オプティフロンティア株式会社
代理人
弁理士法人信栄事務所
主分類
G02B
6/46 20060101AFI20251126BHJP(光学)
要約
【課題】光ケーブルの敷設作業性を向上させる連結治具、光ケーブル連結システム、および、光ケーブルの牽引方法を提供する。
【解決手段】複数の光ケーブルが並列された状態で装着され、光ケーブルを連結する連結治具である。連結治具は、光ケーブルの外被を把持可能な把持部を複数備える。把持部はそれぞれ、光ケーブルの外被を把持した状態において、把持部において光ケーブルの軸線に沿う第一端部から第二端部へ向かう方向であり光ケーブルの軸線に平行な第一方向に延びるように形成されている。複数の把持部は、並列した複数の光ケーブルを把持するように並んで連結されている。
【選択図】図4
特許請求の範囲
【請求項1】
複数の光ケーブルが並列された状態で装着され、前記光ケーブルを連結する連結治具であって、
前記光ケーブルの外被を把持可能な把持部を複数備え、
前記把持部はそれぞれ、前記光ケーブルの外被を把持した状態において、前記把持部において前記光ケーブルの軸線に沿う第一端部から第二端部へ向かう方向であり前記光ケーブルの前記軸線に平行な第一方向に延びるように形成されており、
複数の前記把持部は、並列した複数の前記光ケーブルを把持するように並んで連結されている、
連結治具。
続きを表示(約 1,500 文字)
【請求項2】
前記第一方向と直交する平面による前記把持部の断面内において、前記把持部の内周は、円の一部に開口部を有する円弧であり、
隣り合う二つの前記把持部において、前記把持部の内周中心を基準として、二つの前記把持部のそれぞれの前記開口部が位置する方向は互いに異なっている、
請求項1に記載の連結治具。
【請求項3】
前記把持部の内周は、前記断面内において、前記光ケーブルの外径の70%以上90%以下直径を有する円弧である、
請求項2に記載の連結治具。
【請求項4】
前記把持部の内表面の異なる位置に2つ以上の突起部が形成されている、
請求項1に記載の連結治具。
【請求項5】
前記把持部は、外径が一定である中央部と、前記第一端部および前記第二端部のいずれかを含み、前記第一端部または前記第二端部に向かって外径が減少するテーパ部と、を備えている、
請求項1に記載の連結治具。
【請求項6】
隣り合う前記把持部は、前記第一方向における異なる位置に形成されている、
請求項1に記載の連結治具。
【請求項7】
前記把持部は、
前記光ケーブルに装着された状態で、前記第一方向と直交する平面による前記把持部の断面内において、前記把持部の内周は、円の一部に開口部を有する円弧であり、
隣り合う二つの前記把持部において、前記把持部の内周中心を基準として、二つの前記把持部のそれぞれの前記開口部が位置する方向は同じ方向であり、
さらに、前記把持部の開口を塞ぐことが可能な蓋部を備え、
前記蓋部は、前記把持部が前記光ケーブルを把持している状態で、前記把持部の開口を塞ぐように前記把持部に装着可能である、
請求項1に記載の連結治具。
【請求項8】
2つの前記把持部である第一把持部および第二把持部を備え、
前記第一把持部および前記第二把持部によって連続した収容空間が形成されており、
前記収容空間には、2本の前記光ケーブルが収容されることが可能であり、
前記連結治具の外表面には、前記第一把持部から前記第二把持部に向かう方向に延出する延出部が形成されている、
請求項1に記載の連結治具。
【請求項9】
請求項1から請求項8のいずれか一項に記載の連結治具と、
2本以上であって、前記把持部が把持可能な合計本数以下の光ケーブルと、を備え、
前記把持部に前記光ケーブルが把持されて、並列されている、光ケーブル連結システム。
【請求項10】
請求項1から請求項7のいずれか一項に記載の連結治具である第一連結治具および第二連結治具と、請求項8に記載の連結治具である第三連結治具と、
2本以上であって、前記把持部が把持可能な合計本数以下の光ケーブルを備え、
前記光ケーブルは、前記第一連結治具によって把持される第一光ケーブル群と、前記第一光ケーブル群と並んで配置されており、前記第二連結治具によって把持される第二光ケーブル群と、を含み、
前記第三連結治具の前記把持部は、前記第一光ケーブル群において前記第二光ケーブル群の前記光ケーブルと並んで配置されている前記光ケーブルと、前記第二光ケーブル群において前記第一光ケーブル群の前記光ケーブルと並んで配置されている前記光ケーブルと、を連結している、
光ケーブル連結システム。
(【請求項11】以降は省略されています)
発明の詳細な説明
【技術分野】
【0001】
本開示は、連結治具、光ケーブル連結システム、および、光ケーブルの牽引方法に関する。
続きを表示(約 1,700 文字)
【背景技術】
【0002】
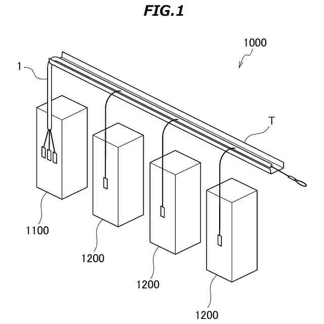
特許文献1には、複数のサーバーラックを備えるサーバーラック群と配線盤とを接続する光分岐ケーブルが開示されている。光分岐ケーブルは、メインケーブルと、メインケーブルから分岐して各サーバーラックに接続されている分岐コードとを備えている。
【先行技術文献】
【特許文献】
【0003】
特開2023-083096号公報
【発明の概要】
【発明が解決しようとする課題】
【0004】
サーバーラック群に配置されるサーバーラックの数によっては、複数の光ケーブルが同じ方向に延びるように、並列した状態で敷設されうる。多くの光ケーブルを敷設する作業は煩雑であった。
【0005】
本開示は、光ケーブルの敷設作業性を向上させる連結治具、光ケーブル連結システム、および、光ケーブルの牽引方法の提供を目的とする。
【課題を解決するための手段】
【0006】
本開示の一態様に係る連結治具は、複数の光ケーブルが並列された状態で装着され、前記光ケーブルを連結する連結治具であって、前記光ケーブルの外被を把持可能な把持部を複数備え、前記把持部はそれぞれ、前記光ケーブルの外被を把持した状態において、前記把持部において前記光ケーブルの軸線に沿う第一端部から第二端部へ向かう方向であり前記光ケーブルの前記軸線に平行な第一方向に延びるように形成されており、複数の前記把持部は、並列した複数の前記光ケーブルを把持するように並んで連結されている。
【発明の効果】
【0007】
本開示によれば、光ケーブルの敷設作業性を向上させる連結治具、光ケーブル連結システム、および、光ケーブルの牽引方法を提供できる。
【図面の簡単な説明】
【0008】
図1は、本実施形態に係る光通信システムを例示している。
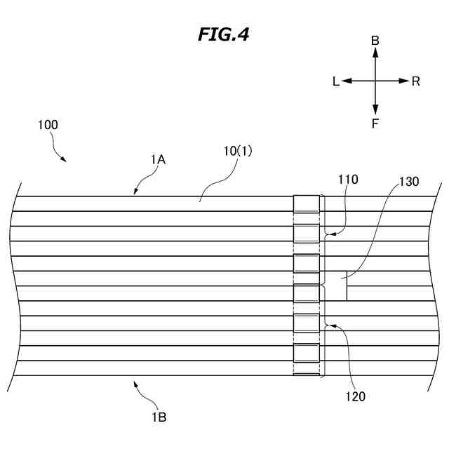
図2は、光分岐ケーブルの概略図である。
図3は、メインケーブルの断面図である。
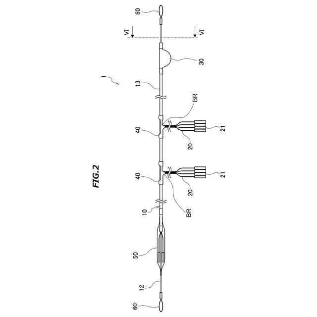
図4は、光ケーブル連結システムの模式図である。
図5は、第一連結治具の斜視図である。
図6は、図5におけるVI-VI断面における断面矢視図である。
図7は、図5における矢印VIIが示す方向に見た第一連結治具の矢視図である。
図8は、第三連結治具の斜視図である。
図9は、図8のXI-XI断面における断面矢視図である。
図10は、光ケーブル連結システムのメインケーブルの軸線と直交する面における断面図である。
図11は、第一変形例に係る連結治具を例示している。
図12は、第二変形例に係る連結治具を例示している。
【発明を実施するための形態】
【0009】
(本開示の実施形態の説明)
最初に本開示の実施態様を列記して説明する。(1)本開示の一態様に係る連結治具は、複数の光ケーブルが並列された状態で装着され、前記光ケーブルを連結する連結治具であって、前記光ケーブルの外被を把持可能な把持部を複数備え、前記把持部はそれぞれ、前記光ケーブルの外被を把持した状態において、前記把持部において前記光ケーブルの軸線に沿う第一端部から第二端部へ向かう方向であり前記光ケーブルの前記軸線に平行な第一方向に延びるように形成されており、複数の前記把持部は、並列した複数の前記光ケーブルを把持するように並んで連結されている。
【0010】
上記連結治具によれば、複数の把持部は、並列された複数の光ケーブルを把持するように並んで連結されている。このため、複数の把持部によって複数の光ケーブルが把持されると、光ケーブルが並列された状態を維持しやすい。連結治具が装着された光ケーブルが牽引されると、牽引作業後も複数の光ケーブルが並列された状態が維持されやすいので、光ケーブルが1本ずつ牽引される場合よりも効率的であり、牽引後に光ケーブルを整列する作業の負荷が軽減される。これにより、光ケーブルの敷設作業性が向上する。
(【0011】以降は省略されています)
この特許をJ-PlatPat(特許庁公式サイト)で参照する
関連特許
住友電気工業株式会社
受光素子
27日前
住友電気工業株式会社
半導体装置
今日
住友電気工業株式会社
歪補償装置
1日前
住友電気工業株式会社
光検出装置
29日前
住友電気工業株式会社
炭化珪素半導体装置
6日前
住友電気工業株式会社
光分岐ケーブルセット
1日前
住友電気工業株式会社
光コネクタおよび接続構造
6日前
住友電気工業株式会社
窒化物半導体基板の製造方法
1日前
住友電気工業株式会社
窒化物半導体装置の製造方法
14日前
住友電気工業株式会社
アバランシェフォトダイオード
22日前
住友電気工業株式会社
学習装置、学習方法及び学習プログラム
1日前
住友電気工業株式会社
タンク、およびレドックスフロー電池システム
7日前
住友電気工業株式会社
半導体装置の製造方法および半導体装置の検査方法
6日前
住友電気工業株式会社
半導体装置の製造方法および半導体装置の検査方法
6日前
住友電気工業株式会社
半導体装置の製造方法および半導体装置の検査方法
6日前
住友電気工業株式会社
画像処理装置、画像処理方法及び画像処理プログラム
14日前
住友電気工業株式会社
画像処理装置、画像処理方法及び画像処理プログラム
28日前
住友電気工業株式会社
窒化物半導体装置および窒化物半導体装置の製造方法
6日前
住友電気工業株式会社
電力変換システム、制御方法、コンピュータプログラム
14日前
住友電工プリントサーキット株式会社
プリント配線板
1か月前
住友電気工業株式会社
絶縁層用樹脂組成物、絶縁電線および絶縁電線の製造方法
28日前
住友電気工業株式会社
回転電機
1日前
住友電気工業株式会社
宅側装置、光通信システム、及びサブキャリアの選択方法
7日前
住友電気工業株式会社
プリント配線板用露光装置およびプリント配線板の製造方法
6日前
株式会社オートネットワーク技術研究所
雌端子
1か月前
株式会社オートネットワーク技術研究所
電装品
27日前
株式会社オートネットワーク技術研究所
電装品
27日前
住友電気工業株式会社
連結治具、光ケーブル連結システム、および、光ケーブルの牽引方法
1日前
株式会社オートネットワーク技術研究所
コネクタ
6日前
株式会社オートネットワーク技術研究所
コネクタ
14日前
住友電気工業株式会社
マルチコア光ファイバ
14日前
株式会社オートネットワーク技術研究所
端子金具
6日前
株式会社オートネットワーク技術研究所
端子金具
6日前
株式会社オートネットワーク技術研究所
端子金具
6日前
株式会社オートネットワーク技術研究所
固定部材
28日前
株式会社オートネットワーク技術研究所
端子金具
6日前
続きを見る
他の特許を見る