TOP
|
特許
|
意匠
|
商標
特許ウォッチ
Twitter
他の特許を見る
公開番号
2025176778
公報種別
公開特許公報(A)
公開日
2025-12-05
出願番号
2024083085
出願日
2024-05-22
発明の名称
圧接端子
出願人
株式会社オートネットワーク技術研究所
,
住友電装株式会社
,
住友電気工業株式会社
代理人
弁理士法人暁合同特許事務所
主分類
H01R
4/2454 20180101AFI20251128BHJP(基本的電気素子)
要約
【課題】電線を圧接端子に圧入する際のセット荷重を緩和する。
【解決手段】本開示の圧接端子10は、一対の第1挟持片20の間に直径方向が第1方向に沿うように第1方向に圧入される電線Wに圧接する第1圧接部22と、一対の第2挟持片30の間に直径方向が第1方向に沿うように第1方向に圧入される電線Wに圧接する第2圧接部32と、第1方向において第1圧接部22に近づくほど一対の第1挟持片20の間隔が狭くなる第1導入部23と、第1圧接部22と第1導入部23を接続し電線Wの被覆W2を切断する第1切断部24と、第1方向において第2圧接部32に近づくほど一対の第2挟持片30の間隔が狭くなる第2導入部33と、第2圧接部32と第2導入部33を接続し電線Wの被覆W2を切断する第2切断部34と、を備え、第1切断部24と第2切断部34は、第1方向において異なる位置に配されている。
【選択図】図3
特許請求の範囲
【請求項1】
一対の第1挟持片の間に直径方向が第1方向に沿うように前記第1方向に圧入される電線に圧接する第1圧接部と、
一対の第2挟持片の間に前記直径方向が前記第1方向に沿うように前記第1方向に圧入される前記電線に圧接する第2圧接部と、
前記第1方向において前記第1圧接部に近づくほど前記一対の第1挟持片の間隔が狭くなる第1導入部と、
前記第1圧接部と前記第1導入部を接続し前記電線の被覆を切断する第1切断部と、
前記第1方向において前記第2圧接部に近づくほど前記一対の第2挟持片の間隔が狭くなる第2導入部と、
前記第2圧接部と前記第2導入部を接続し前記電線の被覆を切断する第2切断部と、を備え、
前記第1切断部と前記第2切断部は、前記第1方向において異なる位置に配されている、圧接端子。
続きを表示(約 350 文字)
【請求項2】
一方の前記第1挟持片と一方の前記第2挟持片とを連結する連結部と、
他方の前記第1挟持片に連なり、前記第1方向に直交する第2方向において前記連結部と対向する位置に配された第1対向片と、
他方の前記第2挟持片に連なり、前記第2方向において前記第1対向片に重合して配された第2対向片と、を備え、
前記第1導入部における前記電線の導入端と前記第2導入部における前記電線の導入端とは、前記第1方向に揃う位置に配されており、
前記第1方向における前記導入端から前記第1切断部までの距離は、前記導入端から前記第2切断部までの距離よりも長く、
前記第1対向片は、前記第2対向片よりも前記連結部から離れた外側に位置している、請求項1に記載の圧接端子。
発明の詳細な説明
【技術分野】
【0001】
本開示は、圧接端子に関する。
続きを表示(約 2,100 文字)
【背景技術】
【0002】
圧接端子の一例として、特開平3-27712号公報(下記特許文献1)に記載の圧接端子が知られている。この圧接端子は、圧接刃を構成するU字状スロットを有する圧接部を備える。
【先行技術文献】
【特許文献】
【0003】
特開平3-27712号公報
【発明の概要】
【発明が解決しようとする課題】
【0004】
圧接部に電線を圧入する際に電線を圧接端子に押し付ける力を「セット荷重」とすると、組み立て時の作業性向上の観点から、セット荷重の最大値は小さいことが好ましい。特に、いわゆる太物電線のような直径の大きい電線を圧接端子に圧入する場合には、セット荷重が大きくなりがちであるため、セット荷重の最大値を小さくする、即ちセット荷重を緩和することが望まれている。
【課題を解決するための手段】
【0005】
本開示の圧接端子は、一対の第1挟持片の間に直径方向が第1方向に沿うように第1方向に圧入される電線に圧接する第1圧接部と、一対の第2挟持片の間に前記直径方向が前記第1方向に沿うように前記第1方向に圧入される前記電線に圧接する第2圧接部と、前記第1方向において前記第1圧接部に近づくほど前記一対の第1挟持片の間隔が狭くなる第1導入部と、前記第1圧接部と前記第1導入部を接続し前記電線の被覆を切断する第1切断部と、前記第1方向において前記第2圧接部に近づくほど前記一対の第2挟持片の間隔が狭くなる第2導入部と、前記第2圧接部と前記第2導入部を接続し前記電線の被覆を切断する第2切断部と、を備え、前記第1切断部と前記第2切断部は、前記第1方向において異なる位置に配されている、圧接端子である。
【発明の効果】
【0006】
本開示によれば、電線を圧接端子に圧入する際のセット荷重を緩和できる。
【図面の簡単な説明】
【0007】
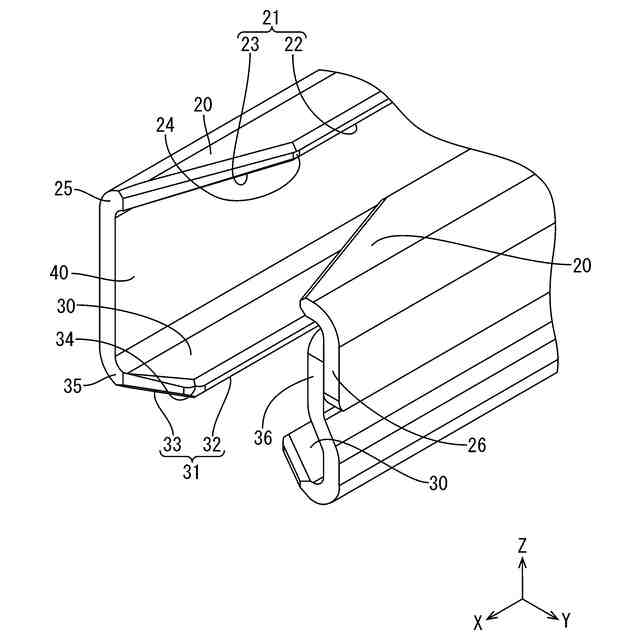
図1は、実施形態にかかる圧接端子の斜視図である。
図2は、図1の一部拡大斜視図である。
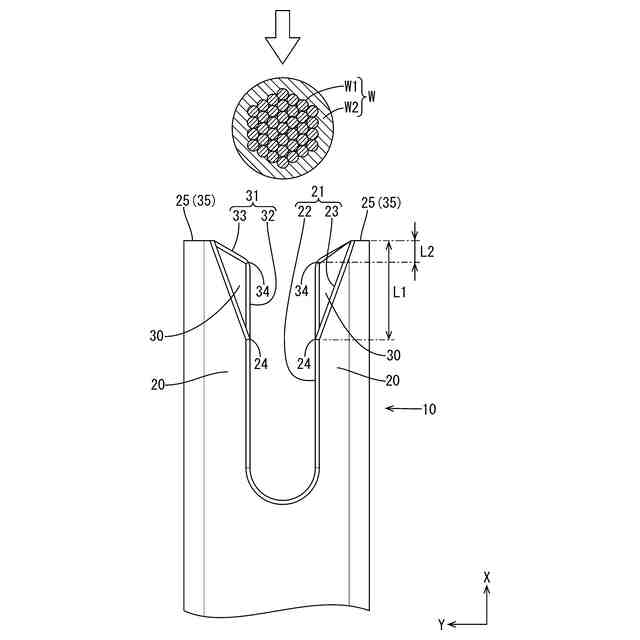
図3は、電線を図1の圧接端子に圧入する様子を示す説明図である。
図4は、電線が図1の圧接端子に圧入された様子を示す説明図である。
図5は、電線が従来の圧接端子に圧入された様子を示す説明図である。
図6は、電線が圧接端子に圧入される際の荷重を示すグラフである。
【発明を実施するための形態】
【0008】
[本開示の実施形態の説明]
最初に本開示の実施形態を列挙して説明する。
[1]本開示の圧接端子は、一対の第1挟持片の間に直径方向が第1方向に沿うように前記第1方向に圧入される電線に圧接する第1圧接部と、一対の第2挟持片の間に前記直径方向が前記第1方向に沿うように前記第1方向に圧入される前記電線に圧接する第2圧接部と、前記第1方向において前記第1圧接部に近づくほど前記一対の第1挟持片の間隔が狭くなる第1導入部と、前記第1圧接部と前記第1導入部を接続し前記電線の被覆を切断する第1切断部と、前記第1方向において前記第2圧接部に近づくほど前記一対の第2挟持片の間隔が狭くなる第2導入部と、前記第2圧接部と前記第2導入部を接続し前記電線の被覆を切断する第2切断部と、を備え、前記第1切断部と前記第2切断部は、前記第1方向において異なる位置に配されている。
【0009】
圧接端子に電線を圧接させるには、電線を第1導入部と第2導入部の双方に導入し、当該電線を第1圧接部および第2圧接部の方へさらに押し込む。ここで、電線を圧接端子に圧入する際に当該電線を圧接端子に押し付ける力であるセット荷重は、第1切断部と第2切断部のうちいずれか一方の切断部によって被覆が切断され、これに続く一方の圧接部が芯線に圧接する際に第1のピーク荷重を迎えることになる。その後、他方の切断部によって被覆が切断され、これに続く他方の圧接部が芯線に圧接する際に第2のピーク荷重を迎えることになる。このようにすれば、第1のピーク荷重と第2のピーク荷重がずれることになり、セット荷重を緩和できる。
【0010】
[2][1]に記載の圧接端子において、一方の前記第1挟持片と一方の前記第2挟持片とを連結する連結部と、他方の前記第1挟持片に連なり、前記第1方向に直交する第2方向において前記連結部と対向する位置に配された第1対向片と、他方の前記第2挟持片に連なり、前記第2方向において前記第1対向片に重合して配された第2対向片と、を備え、前記第1導入部における前記電線の導入端と前記第2導入部における前記電線の導入端とは、前記第1方向に揃う位置に配されており、前記第1方向における前記導入端から前記第1切断部までの距離は、前記導入端から前記第2切断部までの距離よりも長く、前記第1対向片は、前記第2対向片よりも前記連結部から離れた外側に位置していることが好ましい。
(【0011】以降は省略されています)
この特許をJ-PlatPat(特許庁公式サイト)で参照する
関連特許
APB株式会社
蓄電セル
1か月前
日機装株式会社
加圧装置
1日前
株式会社東芝
端子台
1か月前
マクセル株式会社
電源装置
1か月前
日新イオン機器株式会社
イオン源
1日前
富士電機株式会社
電磁接触器
16日前
株式会社GSユアサ
蓄電装置
16日前
株式会社GSユアサ
蓄電装置
1か月前
株式会社GSユアサ
蓄電装置
1か月前
三菱電機株式会社
回路遮断器
24日前
株式会社GSユアサ
蓄電装置
1か月前
株式会社東芝
電子源
1日前
トヨタ自動車株式会社
蓄電装置
8日前
日新イオン機器株式会社
基板処理装置
1か月前
個人
電源ボックス及び電子機器
1日前
大電株式会社
電線又はケーブル
8日前
株式会社トクミ
ケーブル
2日前
日本特殊陶業株式会社
保持装置
29日前
トヨタ自動車株式会社
バッテリ
1か月前
トヨタ自動車株式会社
蓄電装置
1か月前
ホシデン株式会社
複合コネクタ
10日前
日亜化学工業株式会社
半導体レーザ素子
1か月前
ローム株式会社
半導体モジュール
17日前
日本無線株式会社
レーダアンテナ
1か月前
住友電装株式会社
コネクタ
16日前
株式会社デンソー
電子装置
1か月前
甲神電機株式会社
変流器及び零相変流器
1か月前
矢崎総業株式会社
コネクタ
16日前
株式会社レゾナック
冷却器
24日前
ヒロセ電機株式会社
電気コネクタ
16日前
トヨタ自動車株式会社
密閉型電池
1か月前
日本特殊陶業株式会社
アンテナ装置
3日前
三菱電機株式会社
半導体装置
1日前
日本特殊陶業株式会社
アンテナ装置
3日前
株式会社デンソー
半導体装置
16日前
日本航空電子工業株式会社
コネクタ
1日前
続きを見る
他の特許を見る