TOP
|
特許
|
意匠
|
商標
特許ウォッチ
Twitter
他の特許を見る
10個以上の画像は省略されています。
公開番号
2025176836
公報種別
公開特許公報(A)
公開日
2025-12-05
出願番号
2024083187
出願日
2024-05-22
発明の名称
コネクタ
出願人
株式会社オートネットワーク技術研究所
,
住友電装株式会社
,
住友電気工業株式会社
代理人
弁理士法人グランダム特許事務所
主分類
H01R
13/633 20060101AFI20251128BHJP(基本的電気素子)
要約
【課題】相手側ハウジングに対するハウジングの係止解除を容易に行うことを目的とする。
【解決手段】コネクタ10は、相手側ハウジング110と嵌合するハウジング20と、ハウジング20に組み付けられるとともに相手側ハウジング110に係止するロック部材40と、を備えている。ロック部材40は、相手側ハウジング110に係止するロック位置と、相手側ハウジング110への係止が解除される解除位置との間で、ハウジング20と相手側ハウジング110との嵌合方向(前後方向)にハウジング20に対して移動する。
【選択図】図3
特許請求の範囲
【請求項1】
相手側ハウジングと嵌合するハウジングと、
前記ハウジングに組み付けられるとともに前記相手側ハウジングに係止するロック部材と、
を備え、
前記ロック部材は、前記相手側ハウジングに係止するロック位置と、前記相手側ハウジングへの係止が解除される解除位置との間で、前記ハウジングと前記相手側ハウジングとの嵌合方向に前記ハウジングに対して移動するコネクタ。
続きを表示(約 850 文字)
【請求項2】
前記ロック部材は、前記嵌合方向に直交する直交方向に弾性変形可能なロックアームを有し、
前記ロックアームは、前記相手側ハウジングの被係止部に係止する係止部を具備し、
前記ハウジングは、前記ロック部材が前記解除位置にあるときに前記係止部を保持する保持部を有し、
前記係止部は、前記被係止部に対して前記直交方向にずれた位置で前記保持部によって保持される請求項1に記載のコネクタ。
【請求項3】
前記ハウジングは、間に前記ロックアームが入り込む一対の壁部を有し、
一方の前記壁部には、前記ロックアームが係止する第2被係止部が形成され、
前記ロックアームは、前記第2被係止部に係止する第2係止部を具備し、
前記保持部は、前記第2被係止部と他方の前記壁部とによって構成され、
前記ロックアームは、前記ロック部材が前記解除位置にあるときに、前記第2係止部が前記第2被係止部に係止した状態で他方の前記壁部に接することで、前記係止部が前記被係止部に対して前記嵌合方向に直交する方向にずれた位置で保持され、
他方の前記壁部は、一方の前記壁部とは反対側に弾性変形可能である請求項2に記載のコネクタ。
【請求項4】
前記ハウジングは、前記解除位置とは異なる位置にある前記ロック部材に係止する第3係止部を有し、
前記ロック部材は、前記第3係止部が係止する第3被係止部を有する請求項1又は請求項2に記載のコネクタ。
【請求項5】
前記ロック部材は、前記嵌合方向に直交する直交方向に弾性変形可能なロックアームを有し、
前記ロックアームは、前記相手側ハウジングの被係止部に係止する係止部を具備し、
前記ハウジングと前記相手側ハウジングとの嵌合時において前記被係止部に前記係止部が係止する際に、前記第3係止部の前記第3被係止部への係止状態が維持される請求項4に記載のコネクタ。
発明の詳細な説明
【技術分野】
【0001】
本開示は、コネクタに関するものである。
続きを表示(約 2,000 文字)
【背景技術】
【0002】
特許文献1に開示される雄型コネクタは、ハウジングと、ハウジングの外側面に支持されるロックアームと、を備えている。雄型コネクタのハウジングを雌型コネクタのハウジングに挿入したとき、雌型コネクタのハウジングに設けられたロック部にロックアームが係合することでロック状態となる。ロックアームを両ハウジングの挿脱方向に直交する方向に撓ませることで、ロックアームのロック部とのロック状態が解除される。
【先行技術文献】
【特許文献】
【0003】
特開平6-310205号公報
【発明の概要】
【発明が解決しようとする課題】
【0004】
特許文献1の構成では、雄型コネクタのハウジングを雌型コネクタのハウジングから脱離させる際に、ロックアームを両ハウジングの挿脱方向に直交する方向に撓ませる操作と、雄型コネクタのハウジングを雌型コネクタのハウジングから挿脱方向に離す操作とを同時に行う必要がある。このような構成に対して、両ハウジングの係止解除の操作を容易に行い得る構成が求められている。
本開示のコネクタは、上記のような事情に基づいて完成されたものであって、相手側ハウジングに対するハウジングの係止解除を容易に行うことを目的とする。
【課題を解決するための手段】
【0005】
本開示のコネクタは、
相手側ハウジングと嵌合するハウジングと、
前記ハウジングに組み付けられるとともに前記相手側ハウジングに係止するロック部材と、
を備え、
前記ロック部材は、前記相手側ハウジングに係止するロック位置と、前記相手側ハウジングへの係止が解除される解除位置との間で、前記ハウジングと前記相手側ハウジングとの嵌合方向に前記ハウジングに対して移動する。
【発明の効果】
【0006】
本開示によれば、相手側ハウジングに対するハウジングの係止解除を容易に行えるコネクタを実現できる。
【図面の簡単な説明】
【0007】
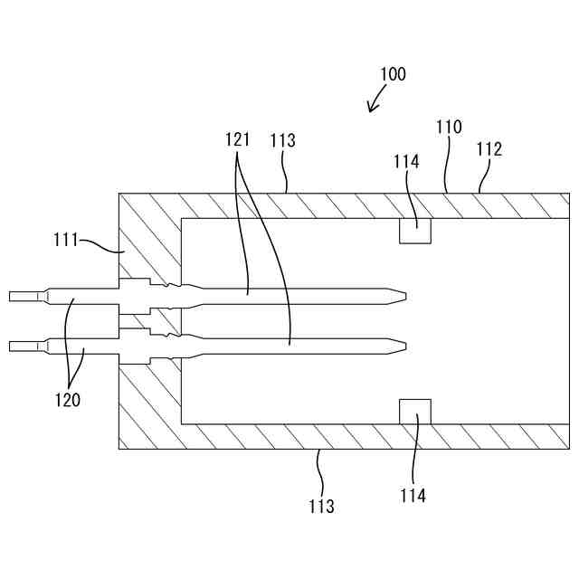
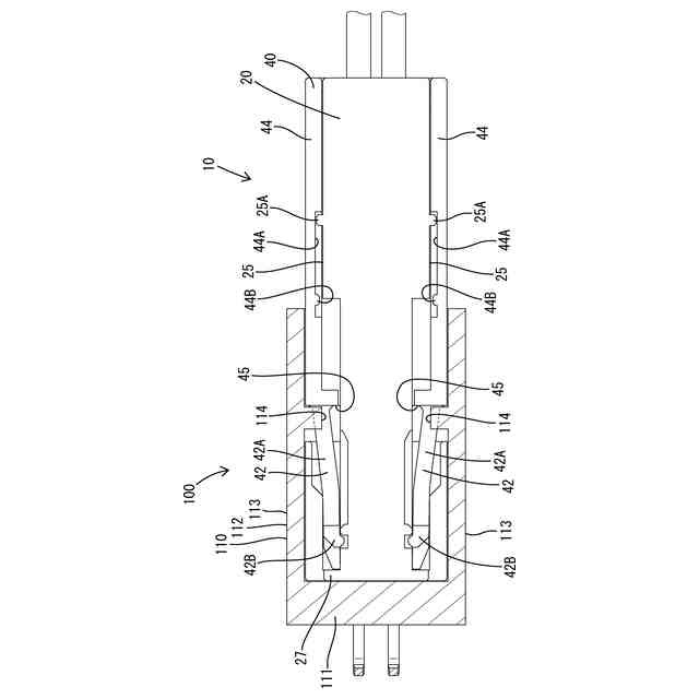
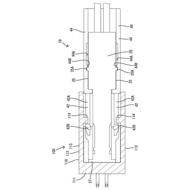
図1は、実施例1のコネクタの斜視図である。
図2は、図1のコネクタの上方側から見た分解斜視図である。
図3は、図1のコネクタの下方側から見た分解斜視図である。
図4は、実施例1の相手側コネクタの斜視図である。
図5は、図4の相手側コネクタの平断面図である。
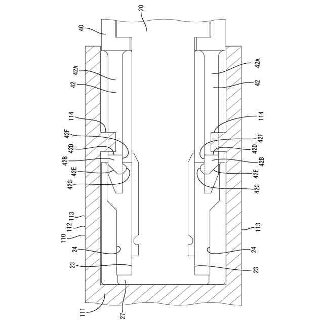
図6は、ロック状態にある両コネクタの下方側から見た平断面図である。
図7は、図6における相手側コネクタ側の拡大図である。
図8は、ロック状態にある両コネクタの側断面図である。
図9は、解除状態にある両コネクタの下方側から見た平断面図である。
図10は、図9における相手側コネクタ側の拡大図である。
【発明を実施するための形態】
【0008】
[本開示の実施形態の説明]
最初に本開示の実施形態を列記して説明する。
本開示のコネクタは、
(1)相手側ハウジングと嵌合するハウジングと、
前記ハウジングに組み付けられるとともに前記相手側ハウジングに係止するロック部材と、
を備え、
前記ロック部材は、前記相手側ハウジングに係止するロック位置と、前記相手側ハウジングへの係止が解除される解除位置との間で、前記ハウジングと前記相手側ハウジングとの嵌合方向に前記ハウジングに対して移動する。
【0009】
本開示の構成によれば、ロック部材を、ハウジングと相手側ハウジングとの嵌合方向にハウジングに対して移動させることで、ロック部材が相手側ハウジングに係止するロック位置から、相手側ハウジングに対するロック部材の係止が解除される解除位置に移動させることができる。そのため、ロック部材を上記嵌合方向に移動させる簡易な操作によって、両ハウジングの係止解除を容易に行える。
【0010】
(2)(1)において、前記ロック部材は、前記嵌合方向に直交する直交方向に弾性変形可能なロックアームを有し、前記ロックアームは、前記相手側ハウジングの被係止部に係止する係止部を具備し、前記ハウジングは、前記ロック部材が前記解除位置にあるときに前記係止部を保持する保持部を有し、前記係止部は、前記被係止部に対して前記直交方向にずれた位置で前記保持部によって保持されることが好ましい。このような構成によって、ハウジングを相手側ハウジングから離脱させる際に、ロックアームの係止部が相手側ハウジングの被係止部に干渉しないようにできる。そのため、両ハウジングの係止解除を円滑に行える。
(【0011】以降は省略されています)
この特許をJ-PlatPat(特許庁公式サイト)で参照する
関連特許
APB株式会社
蓄電セル
1か月前
東ソー株式会社
絶縁電線
1か月前
日機装株式会社
加圧装置
1日前
日新イオン機器株式会社
イオン源
1日前
株式会社東芝
端子台
1か月前
日新イオン機器株式会社
イオン源
1か月前
マクセル株式会社
電源装置
1か月前
ローム株式会社
半導体装置
1か月前
株式会社ホロン
冷陰極電子源
1か月前
富士電機株式会社
電磁接触器
16日前
株式会社GSユアサ
蓄電装置
1か月前
株式会社GSユアサ
蓄電装置
1か月前
株式会社GSユアサ
蓄電装置
16日前
株式会社GSユアサ
蓄電装置
1か月前
三菱電機株式会社
回路遮断器
24日前
株式会社東芝
電子源
1日前
ホシデン株式会社
複合コネクタ
10日前
日本特殊陶業株式会社
保持装置
29日前
トヨタ自動車株式会社
蓄電装置
8日前
トヨタ自動車株式会社
バッテリ
1か月前
株式会社トクミ
ケーブル
2日前
大電株式会社
電線又はケーブル
8日前
日本特殊陶業株式会社
保持装置
1か月前
個人
電源ボックス及び電子機器
1日前
トヨタ自動車株式会社
冷却構造
1か月前
日新イオン機器株式会社
基板処理装置
1か月前
北道電設株式会社
配電具カバー
1か月前
トヨタ自動車株式会社
蓄電装置
1か月前
住友電装株式会社
コネクタ
1か月前
株式会社レゾナック
冷却器
24日前
トヨタ自動車株式会社
電池パック
1か月前
矢崎総業株式会社
コネクタ
16日前
日本無線株式会社
レーダアンテナ
1か月前
ローム株式会社
半導体モジュール
17日前
トヨタ自動車株式会社
電池パック
1か月前
トヨタ自動車株式会社
密閉型電池
1か月前
続きを見る
他の特許を見る