TOP
|
特許
|
意匠
|
商標
特許ウォッチ
Twitter
他の特許を見る
10個以上の画像は省略されています。
公開番号
2025162851
公報種別
公開特許公報(A)
公開日
2025-10-28
出願番号
2024066314
出願日
2024-04-16
発明の名称
受光素子およびその製造方法
出願人
住友電気工業株式会社
代理人
弁理士法人片山特許事務所
主分類
H10F
30/20 20250101AFI20251021BHJP()
要約
【課題】素子を外部から分離することが可能であり、かつリーク電流を低減することが可能な受光素子およびその製造方法を提供する。
【解決手段】面内で互いに隣接する第1領域と第2領域とを有する受光素子であって、第1の導電型を有する第1半導体層と、受光層と、第2の導電型を有する第2半導体層と、を具備し、前記第2領域は前記第1領域の外に位置し、前記第1領域および前記第2領域において、前記第1半導体層、前記受光層、前記第2半導体層は順番に積層され、前記第2半導体層のうち前記第2領域に含まれる部分には、イオンが注入されている受光素子。
【選択図】 図1
特許請求の範囲
【請求項1】
面内で互いに隣接する第1領域と第2領域とを有する受光素子であって、
第1の導電型を有する第1半導体層と、
受光層と、
第2の導電型を有する第2半導体層と、を具備し、
前記第2領域は前記第1領域の外に位置し、
前記第1領域および前記第2領域において、前記第1半導体層、前記受光層、前記第2半導体層は順番に積層され、
前記第2半導体層のうち前記第2領域に含まれる部分には、イオンが注入されている受光素子。
続きを表示(約 910 文字)
【請求項2】
グリッド状に配置された複数の前記第1領域を有し、
前記第2領域は、互いに隣り合う2つの前記第1領域の間に設けられている請求項1に記載の受光素子。
【請求項3】
前記第2半導体層と前記受光層との間に設けられ、前記第1の導電型を有する第3半導体層を具備する請求項1または請求項2に記載の受光素子。
【請求項4】
前記第3半導体層と前記受光層との間に設けられ、前記第2の導電型を有する第4半導体層を具備し、
前記第4半導体層のうち前記第2領域に含まれる部分には、前記イオンが注入されている請求項3に記載の受光素子。
【請求項5】
前記第2半導体層のキャリア濃度は前記第4半導体層のキャリア濃度より高く、
前記第2半導体層のうち前記第2領域に含まれる部分に注入される前記イオンの濃度は、前記第4半導体層のうち前記第2領域に含まれる部分に注入される前記イオンの濃度より高い請求項4に記載の受光素子。
【請求項6】
前記第2半導体層のうち前記イオンが注入された部分の幅は、前記第4半導体層のうち前記イオンが注入された部分の幅よりも大きい請求項4に記載の受光素子。
【請求項7】
前記第3半導体層と前記受光層との間に設けられ、超格子構造を有する第5半導体層を具備する請求項3に記載の受光素子。
【請求項8】
前記受光層は多重量子井戸構造を有し、
前記第2領域における前記受光層の前記イオンの濃度は1×10
17
cm
-3
以下である請求項1または請求項2に記載の受光素子。
【請求項9】
面内で互いに隣接する第1領域と第2領域とを有する受光素子の製造方法であって、
前記第1領域および前記第2領域において、第1の導電型を有する第1半導体層に、受光層と、第2の導電型を有する第2半導体層とを順番に積層する工程と、
前記第2半導体層のうち前記第2領域に含まれる部分にイオンを注入する工程と、を有する受光素子の製造方法。
発明の詳細な説明
【技術分野】
【0001】
本開示は受光素子およびその製造方法に関するものである。
続きを表示(約 3,600 文字)
【背景技術】
【0002】
III-V族化合物半導体を用いた受光素子が開発されている(特許文献1から特許文献4)。受光素子は、例えば近赤外域に感度を有し、通信、撮像装置、センサなどに用いられる。
【先行技術文献】
【特許文献】
【0003】
特開2015-211155号公報
特開2011-101032号公報
特開2010-239166号公報
特開2006-295216号公報
【発明の概要】
【発明が解決しようとする課題】
【0004】
受光素子を外部から分離することが求められる。例えば複数の受光素子を1次元または2次元に並べたアレイセンサでは、複数の受光素子の間を分離することで、クロストークなどを低減することができる。受光素子をメサ形状とすることで、分離が可能である。しかし、メサの側面にリークパスが発生し、リーク電流が増加してしまう。そこで、素子を外部から分離することが可能であり、かつリーク電流を低減することが可能な受光素子およびその製造方法を提供することを目的とする。
【課題を解決するための手段】
【0005】
本開示に係る受光素子は、面内で互いに隣接する第1領域と第2領域とを有する受光素子であって、第1の導電型を有する第1半導体層と、受光層と、第2の導電型を有する第2半導体層と、を具備し、前記第2領域は前記第1領域の外に位置し、前記第1領域および前記第2領域において、前記第1半導体層、前記受光層、前記第2半導体層は順番に積層され、前記第2半導体層のうち前記第2領域に含まれる部分には、イオンが注入されている。
【発明の効果】
【0006】
本開示によれば、素子を外部から分離することが可能であり、かつリーク電流を低減することが可能な受光素子およびその製造方法を提供することが可能である。
【図面の簡単な説明】
【0007】
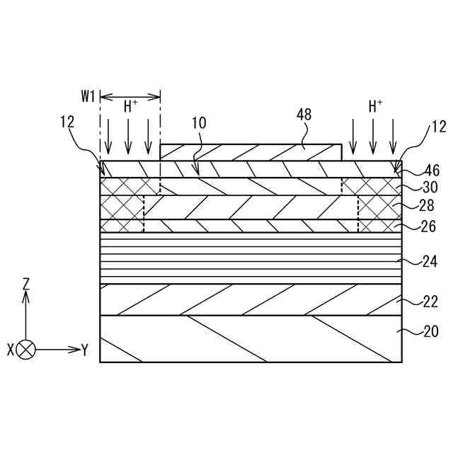
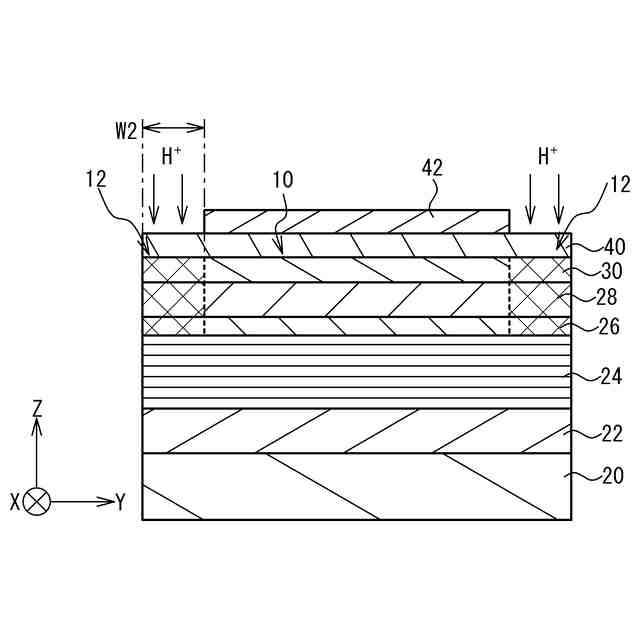
図1は第1実施形態に係る受光素子を例示する断面図である。
図2はプロトンの濃度を例示する模式図である。
図3はプロトンの濃度を例示する模式図である。
図4は受光素子のバンド構造の計算結果を例示する模式図である。
図5Aは受光素子の製造方法を例示する断面図である。
図5Bは受光素子の製造方法を例示する断面図である。
図6Aは受光素子の製造方法を例示する断面図である。
図6Bは受光素子の製造方法を例示する断面図である。
図7は第2実施形態に係る受光素子を例示する平面図である。
図8は受光素子を例示する断面図である。
図9は光検出装置を例示する断面図である。
図10は受光素子の製造方法を例示する断面図である。
図11は受光素子の製造方法を例示する断面図である。
図12は受光素子の製造方法を例示する断面図である。
図13は受光素子の製造方法を例示する断面図である。
図14は受光素子の製造方法を例示する断面図である。
図15は受光素子の製造方法を例示する断面図である。
図16は受光素子の製造方法を例示する断面図である。
図17は第3実施形態に係る受光素子を例示する断面図である。
図18は受光素子のバンド構造の計算結果を例示する模式図である。
図19Aは受光素子の製造方法を例示する断面図である。
図19Bは受光素子の製造方法を例示する断面図である。
【発明を実施するための形態】
【0008】
[本開示の実施形態の説明]
最初に本開示の実施形態の内容を列記して説明する。
【0009】
本開示の一形態は、(1)面内で互いに隣接する第1領域と第2領域とを有する受光素子であって、第1の導電型を有する第1半導体層と、受光層と、第2の導電型を有する第2半導体層と、を具備し、前記第2領域は前記第1領域の外に位置し、前記第1領域および前記第2領域において、前記第1半導体層、前記受光層、前記第2半導体層は順番に積層され、前記第2半導体層のうち前記第2領域に含まれる部分には、イオンが注入されている受光素子である。イオンの注入により、第2半導体層のうち第2領域に含まれる部分において、キャリアが補償される。第2領域によって第1領域を外から分離することができる。第2領域が第1領域の外に位置しているため、第1領域のpn接合は露出しない。リークパスが形成されにくく、リーク電流を低減することができる。
(2)上記(1)において、グリッド状に配置された複数の前記第1領域を有し、前記第2領域は、互いに隣り合う2つの前記第1領域の間に設けられてもよい。アレイ型の素子において、複数の第1領域の間を分離することができる。リーク電流を低減することができる。
(3)上記(1)または(2)において、前記第2半導体層と前記受光層との間に設けられ、前記第1の導電型を有する第3半導体層を具備してもよい。第1領域において、第2半導体層と第3半導体層とでpn接合が形成される。第2領域が第1領域の外に位置しているため、第1領域のpn接合は露出しない。リークパスが形成されにくく、リーク電流を低減することができる。
(4)上記(3)において、前記第3半導体層と前記受光層との間に設けられ、前記第2の導電型を有する第4半導体層を具備し、前記第4半導体層のうち前記第2領域に含まれる部分には、前記イオンが注入されてもよい。第4半導体層のうち第2領域に含まれる部分において、キャリアが補償される。第2領域によって第1領域を外から分離することができる。第1領域のpn接合は露出しない。リークパスが形成されにくく、リーク電流を低減することができる。第4半導体層が設けられていることで、受光素子の感度が向上する。
(5)上記(4)において、前記第2半導体層のキャリア濃度は前記第4半導体層のキャリア濃度より高く、前記第2半導体層のうち前記第2領域に含まれる部分に注入される前記イオンの濃度は、前記第4半導体層のうち前記第2領域に含まれる部分に注入される前記イオンの濃度より高くてもよい。イオンの注入により、第2半導体層の第2領域に含まれる部分においてキャリアが補償される。第4半導体層の第2領域に含まれる部分においてキャリアが補償される。
(6)上記(4)または(5)において、前記第2半導体層のうち前記イオンが注入された部分の幅は、前記第4半導体層のうち前記イオンが注入された部分の幅よりも大きくてもよい。空乏層が第2領域に達しにくい。暗電流を低減することができる。
(7)上記(3)において、前記第3半導体層と前記受光層との間に設けられ、超格子構造を有する第5半導体層を具備してもよい。イオンを第2半導体層に注入すればよい。イオン注入の工程が1回でよいため、工程が簡略化される。第5半導体層が設けられていることで、受光素子の感度が向上する。
(8)上記(1)から(7)のいずれかにおいて、前記受光層は多重量子井戸構造を有し、前記第2領域における前記受光層の前記イオンの濃度は1×10
17
cm
-3
以下でもよい。受光層の多重量子井戸構造が破壊されにくい。
(9)面内で互いに隣接する第1領域と第2領域とを有する受光素子の製造方法であって、前記第1領域および前記第2領域において、第1の導電型を有する第1半導体層に、受光層と、第2の導電型を有する第2半導体層とを順番に積層する工程と、前記第2半導体層のうち前記第2領域に含まれる部分にイオンを注入する工程と、を有する受光素子の製造方法である。イオンの注入により、第2半導体層のうち第2領域に含まれる部分において、キャリアが補償される。第2領域によって第1領域を外から分離することができる。第2領域が第1領域の外に位置しているため、第1領域のpn接合は露出しない。リークパスが形成されにくく、リーク電流を低減することができる。
【0010】
[本開示の実施形態の詳細]
本開示の実施形態に係る受光素子およびその製造方法の具体例を、以下に図面を参照しつつ説明する。なお、本開示はこれらの例示に限定されるものではなく、特許請求の範囲によって示され、特許請求の範囲と均等の意味および範囲内でのすべての変更が含まれることが意図される。
(【0011】以降は省略されています)
この特許をJ-PlatPat(特許庁公式サイト)で参照する
関連特許
住友電気工業株式会社
ペレット
4日前
住友電気工業株式会社
ペレット
4日前
住友電気工業株式会社
高周波用電線
24日前
住友電気工業株式会社
充電システム
23日前
住友電気工業株式会社
半導体受光素子
9日前
住友電気工業株式会社
光コネクタケーブル
23日前
住友電気工業株式会社
炭化珪素半導体装置
5日前
住友電気工業株式会社
炭化珪素半導体装置
5日前
住友電気工業株式会社
炭化珪素半導体装置
5日前
住友電気工業株式会社
炭化珪素半導体装置
5日前
住友電気工業株式会社
電線物理量測定装置
23日前
住友電気工業株式会社
集電体及びニッケル亜鉛電池
9日前
住友電気工業株式会社
受光素子およびその製造方法
4日前
住友電気工業株式会社
コンタクタ治具および検査治具
15日前
住友電気工業株式会社
方法、超電導線材、および制御システム
18日前
住友電気工業株式会社
半導体光素子、および半導体光素子の製造方法
23日前
住友電気工業株式会社
光コネクタクリーナおよび光コネクタの端面の清掃方法
4日前
住友電工プリントサーキット株式会社
プリント配線板
3日前
住友電気工業株式会社
樹脂組成物、電線、樹脂組成物の製造方法、および電線の製造方法
15日前
住友電気工業株式会社
積層材の検査方法、積層材の製造方法、および積層材の検査システム
23日前
株式会社オートネットワーク技術研究所
雌端子
3日前
株式会社SCREENホールディングス
成形方法、および、成形品
8日前
株式会社オートネットワーク技術研究所
コネクタ
4日前
株式会社オートネットワーク技術研究所
コネクタ
4日前
株式会社オートネットワーク技術研究所
車載装置
23日前
株式会社オートネットワーク技術研究所
コネクタ
23日前
株式会社オートネットワーク技術研究所
接続構造体
23日前
株式会社オートネットワーク技術研究所
コネクタ装置
23日前
株式会社オートネットワーク技術研究所
コネクタ装置
23日前
株式会社オートネットワーク技術研究所
車載用制御装置
16日前
株式会社オートネットワーク技術研究所
コネクタのガイド構造
23日前
住友電工オプティフロンティア株式会社
光コネクタおよび光コネクタの取り付け方法
22日前
株式会社オートネットワーク技術研究所
端子金具、及びコネクタ
3日前
株式会社オートネットワーク技術研究所
端子金具、及びコネクタ
3日前
株式会社オートネットワーク技術研究所
筐体、および車両用充電装置
22日前
株式会社オートネットワーク技術研究所
端子材料および電気接続端子
18日前
続きを見る
他の特許を見る